Запчасти Case IH BHX172 (57) - SEAT

Схема запчастей Case IH BHX172 - (57) - SEAT
12
4
11
8
9
5
2
3
10
7
6
13
6
1
FIT
1:1
100%

Артикул

Название

Примечание

Количество

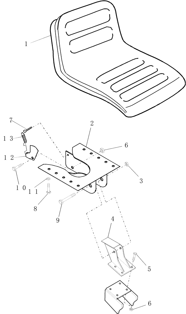
1

SML52139

SEAT

1шт.

2

CSE44823

SEAT PLATE

Bracket, Seat, 12 Bolt Holes

1шт.

3

232-4148

NUT,1/2"-13, GC

NUT, LOCK, 1/2"-13, GC

1шт.

4

CSE45948

POST

Part, Spare, Post, Seat

1шт.

5

413-620

BOLT,Hex, 3/8" - 16 x 1-1/4", Gr 5

4шт.

6

231-4146

NUT,3/8"-16, GB

Nut, Lock, GC, 3/8"-16

5шт.

7

PL

PROCURE LOCALLY

Pin Cotter, 3/16 x 3/4

1шт.

8

413-512

BOLT,Hex, 5/16" - 18 x 3/4", Gr 5

10шт.

9

87012049

SPECIAL BOLT,Hex, 1/2" x 3 1/2", Gr 5, Drilled

Bolt, Special, Screw Cap, HH, Drilled, G5, 1/2"-20 x 3-1/2"

1шт.

10

PL

PROCURE LOCALLY

Bolt Shoulder, 3/8-16 x 1-1/2

1шт.

11

492-11038

LOCK WASHER,3/8"

1шт.

12

SML44814

LATCH

Spacer

1шт.

13

SML44819

SPRING

1шт.

Выбрано товаров: 13