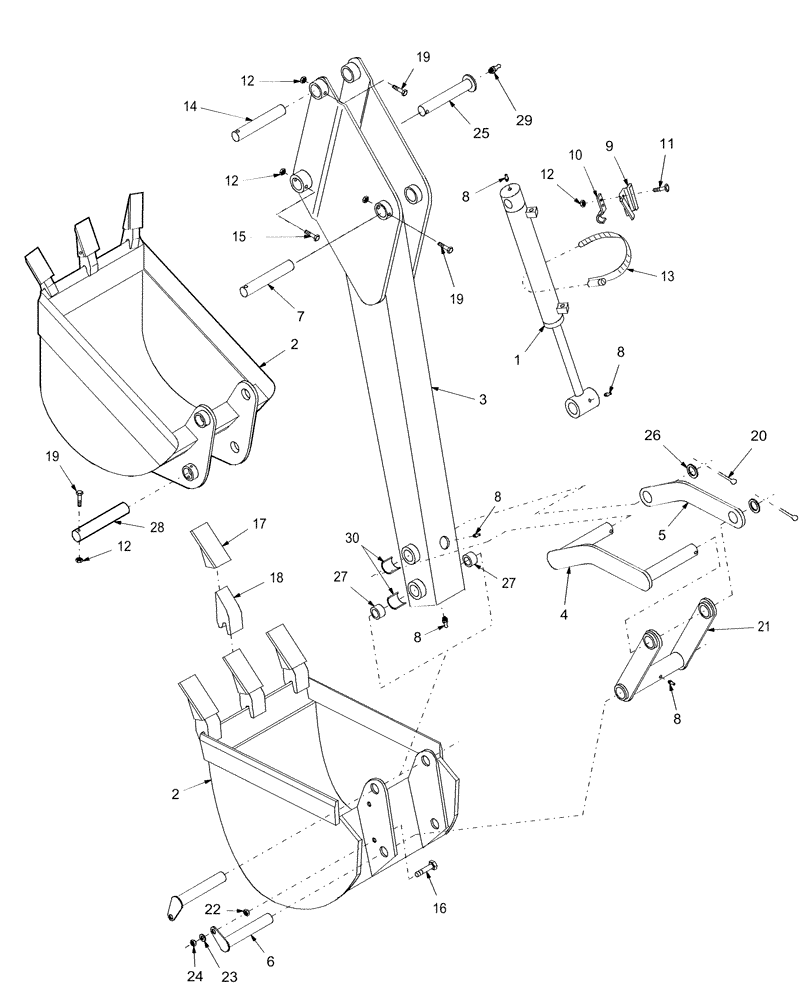
Запчасти Case IH BHX190 (21) - DIPPERSTICK & BUCKET

Схема запчастей Case IH BHX190 - (21) - DIPPERSTICK & BUCKET
12
16
27
12
8
8
20
8
21
14
22
1
17
24
5
8
13
6
2
12
19
3
4
7
29
30
2
10
19
18
19
28
15
25
26
23
9
27
12
8
11
FIT
1:1
100%

Артикул

Название

Примечание

Количество

1

CSE44556

HYDRAULIC CYLINDER,Double Acting, 425.45mm Stroke

Bucket, 2-1/4"

1шт.

2

W0

ORDER WHOLEGOODS

Bucket, Standard, 9", 2 Teeth, .87 Heaped, (716398006)

1шт.

2

W0

ORDER WHOLEGOODS

Bucket, Standard, 12", 3 Teeth, 1.24 Heaped, (716399006)

1шт.

2

W0

ORDER WHOLEGOODS

Bucket, Standard, 16", 3 Teeth, 1.76 Heaped, (716400006)

1шт.

2

W0

ORDER WHOLEGOODS

Bucket, Standard, 18", 4 Teeth, 2.02 Heaped, (716434016)

1шт.

2

W0

ORDER WHOLEGOODS

Bucket, Standard, 24", 5 Teeth, 2.82 Heaped, (716401006)

1шт.

2

W0

ORDER WHOLEGOODS

Bucket, Grave, 36", 6 Teeth, 4.00 Heaped, (716435026)

1шт.

2

W0

ORDER WHOLEGOODS

Bucket, Muck, 36", 6 Teeth, 4.00 Heaped, (716436016)

1шт.

3

CSE47461

BACKHOE ARM

Dipperstick, Less Bushings

1шт.

4

CSE44754

ARM

Toggle

1шт.

5

CSE44755

PLATE

Link, Arm, Toggle

1шт.

6

SML3133212

PIN

Anti Rotation, 1 x 6-5/8"

2шт.

7

SML359575

PIN

Cylinder Base, 1 x 6-3/8"

1шт.

8

SML60754

LUBE NIPPLE

Nipple, Lube, Straight, 1/4"-28

5шт.

9

SML44793

SOCKET

Slow Moving Vehicle

1шт.

10

SML44794

BRACKET

Mounting, Slow Moving Vehicle

1шт.

11

280327

CARRIAGE BOLT,Sq Nk, 5/16" - 18 x 3/4", Gr 5, Full Thd

Bolt, Carriage, Short NK, 5/16"-18 x 3/4", G5

2шт.

12

9635082

NUT,5/16" - 18, Gr 5

Lock, 5/16 - 18

1шт.

13

SML60762

CLAMP

Hose

1шт.

14

SML359577

PIN

1 x 7-1/4"

2шт.

15

87936

BOLT,Hex, 3/8" - 16 x 2 1/2", Gr 5

Hex, 3/8"-16 x 2-1/2", G5

1шт.

16

88011

BOLT,Hex, 3/8" - 16 x 1 1/4", Gr 5

2шт.

17

SML448671

BUCKET TOOTH

Tooth, Bucket, 1-3/4 Wide

1шт.

18

SML41703

SHANK

Bucket, 1" Wide

1шт.

19

PL

PROCURE LOCALLY

Screw, Cap, HH, G5, 5/16"-18 x 2"

2шт.

20

SMLG103420

PIN, SPLIT (COTTER)

Pin, Cotter, 1/4 x 1-1/2"

2шт.

21

CSE44757

CLEVIS COUPLING

Link, Bucket

1шт.

22

SMLG124829

NUT

Jam, 3/8 - 16

2шт.

23

PL

PROCURE LOCALLY

Washer, SAE, 3/8"

2шт.

24

9637692

NUT,3/8"-16, GB

NUT, LOCK, 3/8 - 16

3шт.

25

SML44833

PIN

Pivot, 1-1/4 x 7-1/4"

1шт.

26

PL

PROCURE LOCALLY

Washer, Machine, 1 x 1-1/2"

2шт.

27

SML452522

BUSHING

1" I.D. x 1-1/4 O.D. - Replaces SML60422

2шт.

28

SML359578

PIN

1" x 8-1/8"

2шт.

29

SML60752

LUBE NIPPLE

Fitting, Grease, 1/8" NPT

1шт.

30

SML4827112

SPACER

2-3/16"

2шт.

Выбрано товаров: 36