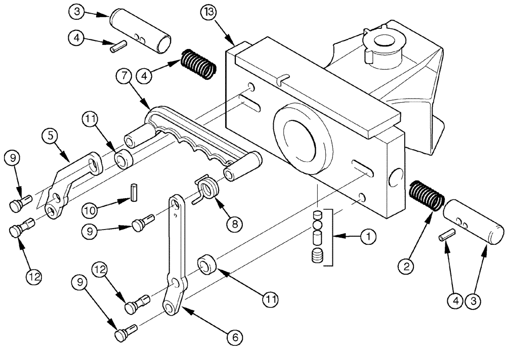
Запчасти Case IH C60 (09-29) - TRAILER HITCH - PITON FIXE (09) - CHASSIS/ATTACHMENTS

Схема запчастей Case IH C60 - (09-29) - TRAILER HITCH - PITON FIXE (09) - CHASSIS/ATTACHMENTS
8
9
9
3
6
4
4
4
13
2
1
5
9
12
3
10
7
11
11
12
FIT
1:1
100%

Артикул

Название

Примечание

Количество

141039A1

TRAILER HITCH

Consists Of 1 - 13

1шт.

1

1534047C1

KIT

1шт.

2

141013A1

SPRING

2шт.

3

141014A1

PIN

2шт.

4

738-5520

LOCK PIN,5mm OD x 20mm L, Slotted

2шт.

141015A1

HANDLE

Consists Of 5 - 12

1шт.

5

141016A1

BAR

1шт.

6

141017A1

BAR

1шт.

7

141018A1

LEVER

1шт.

8

141019A1

SPRING

1шт.

9

141020A1

HEADED PIN

4шт.

10

738-1516

LOCK PIN,M5 x 16, Slotted

1шт.

11

141021A1

SPACER,10.5mm ID x 18mm OD x 8mm L

2шт.

12

141022A1

HEADED PIN

2шт.

13

NSS

NOT SOLD SEPARAT

Clevis

1шт.

Выбрано товаров: 15