Запчасти Case IH C60 (09-32) - R.O.P.S. - 2 POST FIXED, VERSION WITH PLASTIC FUEL TANK (09) - CHASSIS/ATTACHMENTS

Схема запчастей Case IH C60 - (09-32) - R.O.P.S. - 2 POST FIXED, VERSION WITH PLASTIC FUEL TANK (09) - CHASSIS/ATTACHMENTS
8
9
7
5
4
2
3
8
10
1
7
11
9
1
6
FIT
1:1
100%

Артикул

Название

Примечание

Количество

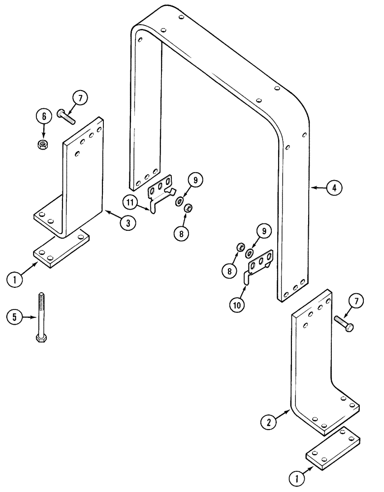
1

118309C1

PLATE

1шт.

2

341238A1

SUPPORT

Left

1шт.

3

341237A1

SUPPORT

Right

1шт.

4

330168A1

SUPPORT

1шт.

5

1537727C1

BOLT,Hex, 3/4" - 10 x 9", Gr 8, Spcl

8шт.

6

429-1012

NUT,3/4"-10, G8

8шт.

7

344511A1

BOLT

7/8 x 2-1/2 in: 8

6шт.

8

429-1014

NUT,7/8"-9, G8

7/8; 8

6шт.

9

896-11024

WASHER,26mm ID x 44mm OD x 5mm Thk

(26 ID x 44 x 5 mm)

6шт.

10

344514A1

SUPPORT

Left

1шт.

11

344513A1

SUPPORT

Right

1шт.

Выбрано товаров: 11