Запчасти Case IH C70 (06-17) - REAR FRAME TOP COVER CONNECTIONS (06) - POWER TRAIN

Схема запчастей Case IH C70 - (06-17) - REAR FRAME TOP COVER CONNECTIONS (06) - POWER TRAIN
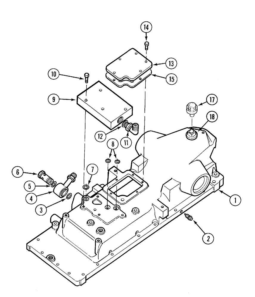
3
10
4
8
6
1
17
7
18
13
5
9
15
2
12
14
11
FIT
1:1
100%

Артикул

Название

Примечание

Количество

1

144274A2

HOUSING ASSY.

1шт.

2

82301R1

BLEEDER,3/8" - 24 x 117mm

2шт.

4

66762C1

PIPE,0.625" OD, 3.5" Length

1шт.

5

237-6010

O-RING,0.097" Thk x 0.755" ID, -910, Cl 6, 90 Duro

1шт.

6

66766C1

PLUG

1шт.

7

238-6115

O-RING,0.103" Thk x 0.674" ID, -115, Cl 6, 90 Duro

1шт.

8

238-5113

O-RING,0.103" Thk x 0.549" ID, -113, Cl 5, 75 Duro

2шт.

9

529382R1

MANIFOLD

1шт.

10

413-632

BOLT,Hex, 3/8" - 16 x 2", Gr 5

4шт.

11

218-5107

90 ELBOW,90 Degree Elbow, 7/8" - 14 Male JIC x 7/8" - 14 Male ORB

Adj Or, Incl. 12

1шт.

12

237-6010

O-RING,0.097" Thk x 0.755" ID, -910, Cl 6, 90 Duro

1шт.

13

140942A2

COVER

1шт.

14

413-48

BOLT,Hex, 1/4" - 20 x 1/2", Gr 5

5шт.

15

1970892C1

GASKET

1шт.

17

1971726C1

BREATHER,1/4" - 18

1шт.

18

1537543C1

ADAPTER

1шт.

3

238-6021

O-RING,15/16 X 1 - 1/16, Cl 6

1шт.

Выбрано товаров: 17