Запчасти Case IH C70 (09-31) - R.O.P.S. - 2 POST FIXED (09) - CHASSIS/ATTACHMENTS

Схема запчастей Case IH C70 - (09-31) - R.O.P.S. - 2 POST FIXED (09) - CHASSIS/ATTACHMENTS
6
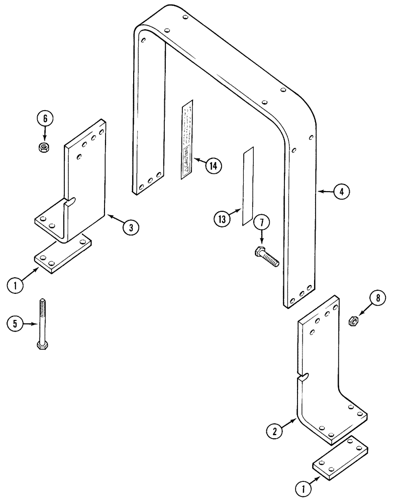
1
2
3
7
13
4
1
5
8
14
FIT
1:1
100%

Артикул

Название

Примечание

Количество

N.A. Only

1шт.

1

118309C1

PLATE

2шт.

2

118306C1

SUPPORT

1шт.

3

118307C1

SUPPORT

1шт.

4

118377C2

FRAME

1шт.

5

1537727C1

BOLT,Hex, 3/4" - 10 x 9", Gr 8, Spcl

8шт.

6

429-1012

NUT,3/4"-10, G8

8шт.

7

118425C2

BOLT

6шт.

8

429-1014

NUT,7/8"-9, G8

6шт.

13

70571C1

DECAL

English

1шт.

13

70572C1

DECAL

French

1шт.

13

70573C1

DECAL

Spanish

1шт.

14

70773C1

DECAL

English

1шт.

14

70774C1

DECAL

French

1шт.

14

70775C1

DECAL

Spanish

1шт.

Выбрано товаров: 15