Качественные детали и логистика
Оригинальные и аналоговые запчасти с доставкой по России, Казахстану и Беларуси
©2022 PartSell ООО "Система" ИНН 2463123282 ОГРН 1212400004838
Центральный офис: г. Красноярск, Академика Киренского, д.87, пом.4
Телефон: 8 (800) 777-65-74 Email: zakaz@partsell.ru
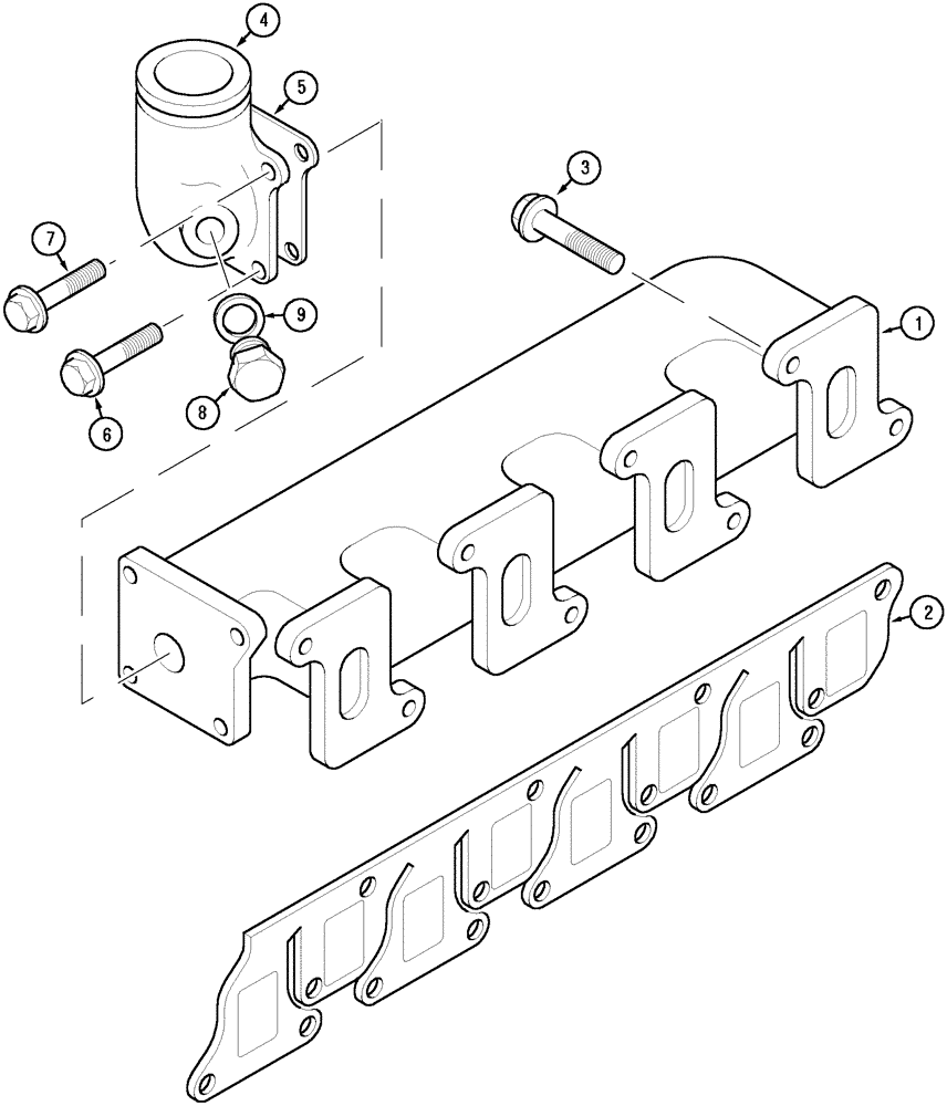
(02-25) - MANIFOLD
№
Артикул
Название
Примечание
Количество
C70
1шт.
Intake
1
311787A1
MANIFOLD
2
311788A1
MANIFOLD GASKET
3
308753A1
SCREW
8шт.
4
311789A1
ELBOW
5
311790A1
6
844-8025
BOLT,Hvy Hex, M8 x 25mm, Cl 8.8
3шт.
7
218038A1
8
3136229R1
PLUG,7/8" - 14
Cold Start
9
E110758
WASHER
Выбрано товаров: 0