Запчасти Case IH C80 (09-16) - SEAT SUSPENSION - DELUXE (09) - CHASSIS/ATTACHMENTS

Схема запчастей Case IH C80 - (09-16) - SEAT SUSPENSION - DELUXE (09) - CHASSIS/ATTACHMENTS
28
27
18
8
25
6
15
15
19
16
12
16
4
17
29
21
33
24
32
20
11
3
22
9
10
23
7
30
11
31
9
1
26
2
14
13
9
5
FIT
1:1
100%

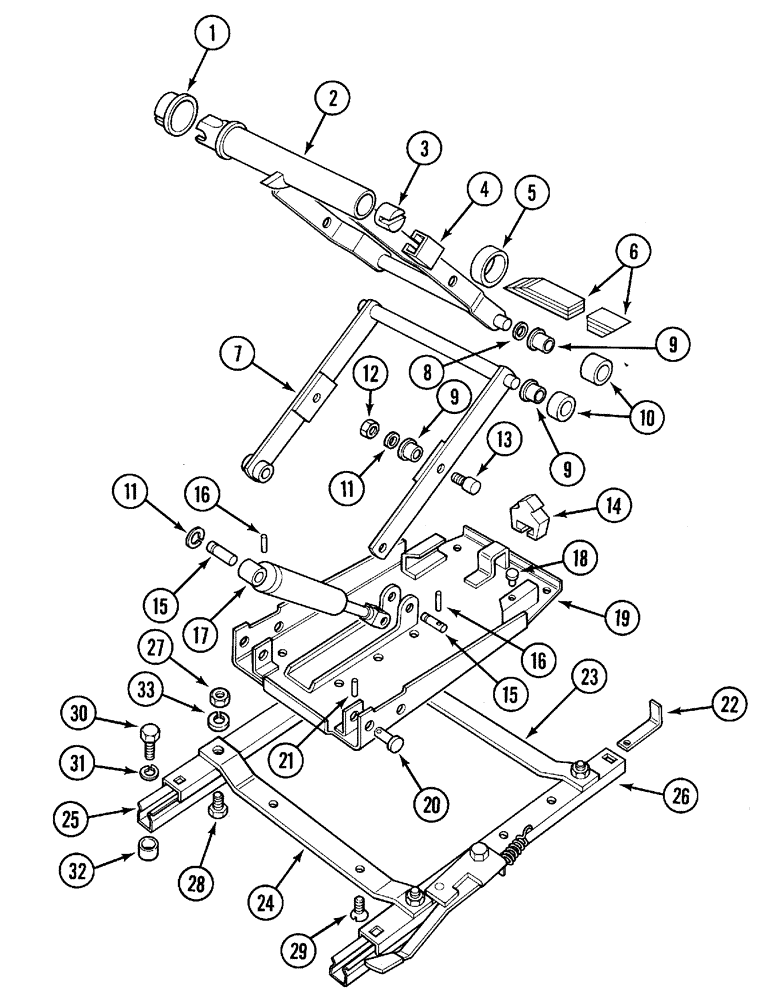
Артикул

Название

Примечание

Количество

Suspension

1шт.

1536395C1

SEAT

PVC, Includes 1 - 33, See Page(s) 9-35,39

1шт.

1

3123316R1

BUSHING

1шт.

2

3123315R1

LEVER

1шт.

3

3220529R1

RETAINER

1шт.

4

3220519R1

STOP

2шт.

5

3109331R1

FLANGED BEARING

1шт.

6

3129922R1

BAR

Sets Of 5

1шт.

7

3220517R1

ARM

1шт.

8

495-21050

WASHER,7/16"

(1/2 x 1-1/4 x 5/64")

4шт.

9

3123319R1

BUSHING

4шт.

10

3123320R1

ROLLER BEARING

4шт.

11

892-11008

LOCK WASHER,8mm ID

2шт.

12

829-1304

NUT,M4, Cl 8

M4

2шт.

13

3123321R1

PIVOT PIN

2шт.

14

3220516R1

STOP

1шт.

15

538578R1

PIN

2шт.

16

538579R1

PIN, ROLL

2шт.

17

3123329R1

SHOCK ABSORBER

1шт.

18

3123308R1

BUMPER

2шт.

19

3220524R1

PLATE

1шт.

20

3123318R1

PIVOT PIN

2шт.

21

3125165R1

PIN, ROLL

2шт.

22

3123376R1

BRACKET

1шт.

23

3123306R1

BRACKET

1шт.

24

3123305R1

BRACKET

1шт.

25

3123304R1

RAIL

1шт.

26

3123303R1

RAIL

Adjustable

1шт.

27

825-1408

NUT,M8, Cl 8

4шт.

28

628-8016

BOLT,Hex, M8 x 1.25 x 16mm, Cl 10.9, Full Thd

2шт.

29

931860R1

HEX SOC SCREW,Flat Hd, CSK, M8 x 20mm, Cl 8.8

M8 x 20

4шт.

30

71-524

SCREW,Slotted Fil Hd, 5/16"-18 x 1 1/2"

5/16 x 1-1/2

4шт.

31

892-11012

LOCK WASHER,M12

4шт.

32

3123562R1

SPACER

4шт.

33

492-11031

LOCK WASHER,5/16"

4шт.

19711R1

PIN,3.17mm OD x 31.75mm L, Coiled

not illustrated 1/8" x 1 1/4", Coiled

2шт.

Выбрано товаров: 36