Запчасти Case IH C90 (06-37) - P.T.O. SHIELD (06) - POWER TRAIN

Схема запчастей Case IH C90 - (06-37) - P.T.O. SHIELD (06) - POWER TRAIN
6
9
6
8
6
1
10
2
7
5
3
7
FIT
1:1
100%

Артикул

Название

Примечание

Количество

Version Without Automatic Hitch

1шт.

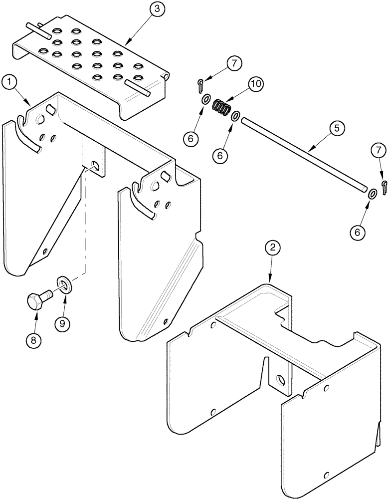
1

183275A3

GUARD

Europe Only, Dual Speed

1шт.

2

138567A4

GUARD

Version With Shiftable PTO

1шт.

3

183273A1

COVER

1шт.

5

138148A3

BAR

1шт.

138458A1

SPACER

14 mm, Not Illustrated, Use With 138148A3

1шт.

6

895-11008

WASHER,9mm ID x 16mm OD x 1.6mm Thk

3шт.

7

733-3220

COTTER PIN,M3.2 x 20

2шт.

8

413-1016

BOLT,Hex, 5/8" - 11 x 1", Gr 5

5/8 x 1

4шт.

9

495-11066

WASHER,5/8", SAE

21/32 x 1-5/16 x 3/32

4шт.

10

183751A1

SPRING

1шт.

Выбрано товаров: 11