Запчасти Case IH 235 (6-26) - HYDROSTATIC TRANSMISSION (CONTD) (06) - POWER TRAIN

Схема запчастей Case IH 235 - (6-26) - HYDROSTATIC TRANSMISSION (CONTD) (06) - POWER TRAIN
49
45
58
66
61
68
54
80
64
73
70
77
49
58
75
56
72
45
65
70
64
78
46
55
60
68
50
54
51
67
62
71
63
66
65
55
56
61
62
79
57
48
76
53
59
47
60
52
57
50
53
69
48
47
74
FIT
1:1
100%

Артикул

Название

Примечание

Количество

REF

INSTRUCTION

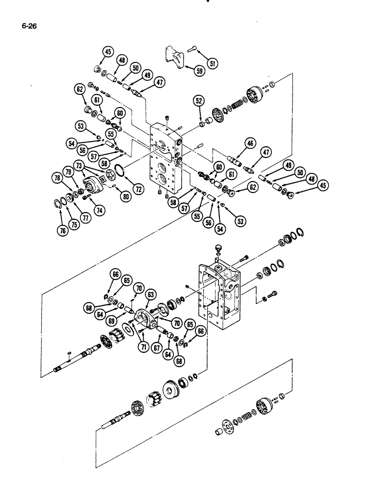
TRANSMISSION ASSEMBLY - hydrostatic

1шт.

1962667C1

LOCK VALVE

VALVE KIT- neutral, Includes: Ref 39 on Figure 6-24 and 45 - 50

1шт.

45

1962652C1

PLUG

- neutral valve

2шт.

46

NSS

NOT SOLD SEPARAT

HOUSING - spool

1шт.

47

NSS

NOT SOLD SEPARAT

SPOOL ASSEMBLY - valve

2шт.

48

NSS

NOT SOLD SEPARAT

SPACER - valve

2шт.

49

NSS

NOT SOLD SEPARAT

SLEEVE - valve

2шт.

50

1962653C1

VALVE SPRING

SPRING - valve

2шт.

51

31262R1

HEX SOC SCREW,M8 x 30mm, Cl 12.9

BOLT - hex socket, M8 x 30 mm

4шт.

52

1962656C1

BUSHING

- valve block

1шт.

1962666C1

LOCK VALVE

VALVE KIT, Includes: Ref. 53 - 58

2шт.

53

NSS

NOT SOLD SEPARAT

PLUG - check valve

2шт.

54

NSS

NOT SOLD SEPARAT

SEAL - ring

2шт.

Part of Oil Seal Kit, P/N 98976C92

1шт.

55

NSS

NOT SOLD SEPARAT

STOP - valve

2шт.

56

NSS

NOT SOLD SEPARAT

SLEEVE - valve

2шт.

57

NSS

NOT SOLD SEPARAT

SPRING - valve

2шт.

58

NSS

NOT SOLD SEPARAT

BALL - valve

2шт.

59

1962655C1

BLOCK

- housing

1шт.

1963597C1

LOCK VALVE

VALVE ASSEMBLY - high pressure, Includes: Ref 39 on Figure 6-24 and 60 - 62

2шт.

Transmission serial number 17626901 and after, also serial number 17626858 through 17662900 with GF41021 stamped on transmission.

1шт.

1962669C2

LOCK VALVE

VALVE ASSEMBLY - high pressure, Includes: Ref 39 on Figure 6-24 and 60 - 62

2шт.

Prior to transmission serial number 17626858, also serial number 17626858 through 17626900 with GF60001 stamped on transmission.

1шт.

60

NSS

NOT SOLD SEPARAT

RELIEF ASSEMBLY - pressure

2шт.

61

NSS

NOT SOLD SEPARAT

RETAINER - spring

2шт.

62

1275186C1

PLUG

- hex socket head

2шт.

63

1962657C1

PLATE

HOUSING - piston

1шт.

64

NSS

NOT SOLD SEPARAT

BUSHING - housing

2шт.

65

1962659C1

PLATE ASSY.

PLATE - retainer

2шт.

66

933105R1

SNAP RING,M22, Ext

RING - retaining (Replaces 1962660C1)

2шт.

67

1962661C1

SHAFT HOUSING

SHAFT - piston housing

1шт.

68

NSS

NOT SOLD SEPARAT

SEAL - oil

2шт.

Part of Oil Seal Kit, P/N 98976C92

1шт.

69

1962662C1

AXLE PIN

PIN - piston housing

1шт.

7o

1962663C1

KEY

- pin

2шт.

71

1962664C1

BOLT (SPREADER),M8 x 19mm

BOLT - piston housing

2шт.

72

NSS

NOT SOLD SEPARAT

O-RING - 60 mm ID

1шт.

Part of Oil Seal Kit, P/N 98976C92

1шт.

73

98978C91

STRIPPER PACKAGE

HOUSING - oil seal cover (Replaces 1962665C1)

1шт.

74

905261R1

HEX SOC SCREW,M10 x 40mm, Cl 12.9

BOLT - hex socket head, M10 x 40 mm, Grade 12.9

2шт.

75

NSS

NOT SOLD SEPARAT

O-RING - 35 mm ID

1шт.

Part of Oil Seal Kit, P/N 98976C92

1шт.

76

933235R1

SNAP RING,M40, Int

RING - retaining, internal, 43 mm

1шт.

77

NSS

NOT SOLD SEPARAT

COVER - oil seal

1шт.

Part of Oil Seal Kit, P/N 98976C92

1шт.

78

NSS

NOT SOLD SEPARAT

SEAL - oil

1шт.

Part of Oil Seal Kit, P/N 98976C92

1шт.

79

1275346C91

NEEDLE BEARING

BEARING ASSEMBLY - needle

1шт.

80

31264R1

DOWEL,M6 x 12

PIN - dowel, hardened, 6 x 12 mm

2шт.

98976C92

OIL SEAL

SEAL KIT - oil, Includes: ref. nos. 54, 68, 72, 75, 77, 78 on figure 6-25 and 6-27

1шт.

Выбрано товаров: 50