Запчасти Case IH 235 (6-54) - POWER TAKEOFF CONTROLS, MECHANICAL TRANSMISSION (06) - POWER TRAIN

Схема запчастей Case IH 235 - (6-54) - POWER TAKEOFF CONTROLS, MECHANICAL TRANSMISSION (06) - POWER TRAIN
5
3
7
8
2
7
4
1
6
FIT
1:1
100%

Артикул

Название

Примечание

Количество

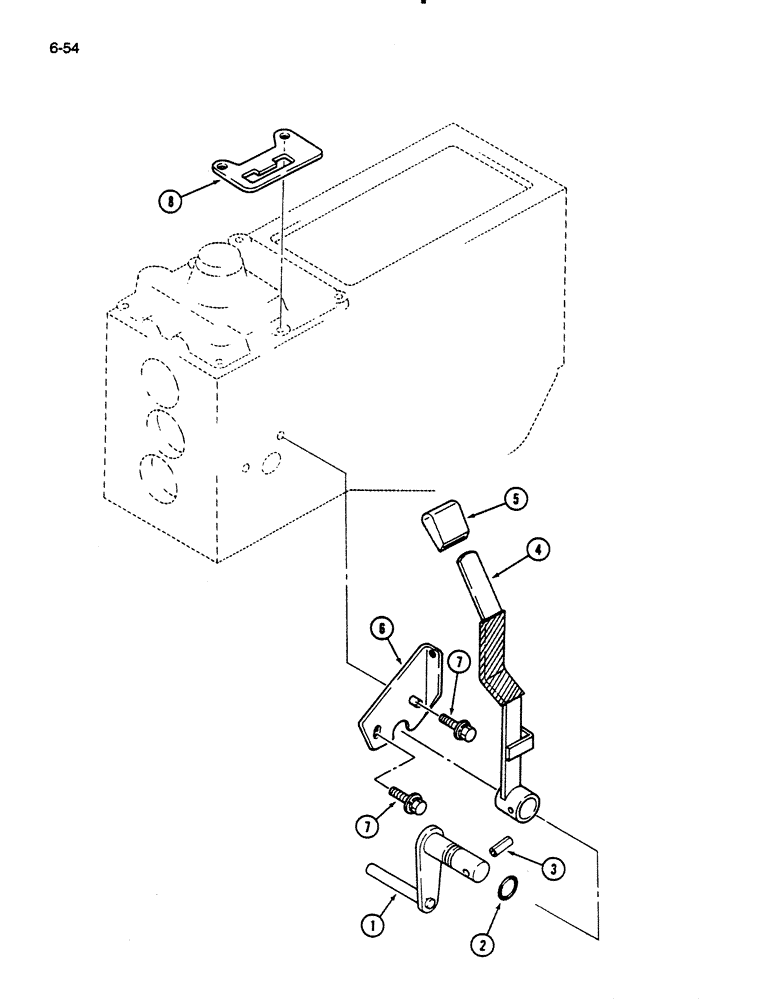
1

1273464C1

LEVER

- shift

1шт.

2

1269871C1

O-RING,17.8mm ID x 2.4mm Width

- 18 mm ID

1шт.

3

591184R1

PIN,3/16" x 1 1/4", Coiled

- slotted spring, 5 x 32 mm

1шт.

4

1273465C2

LEVER

ASSEMBLY - power takeoff

1шт.

5

99326C1

KNOB

- lever

1шт.

6

1273466C1

SUPPORT ASSY.

SUPPORT - lever

1шт.

7

814-8016

BOLT,Hex, M8 x 1.25 x 16mm, Cl 8.8, Full Thd

- hex, M8 x 16 mm

2шт.

892-11008

LOCK WASHER,8mm ID

WASHER, LOCK, M8

2шт.

895-11008

WASHER,9mm ID x 16mm OD x 1.6mm Thk

- flat, 9 x 17 x 2 mm

2шт.

8

1273467C1

SUPPORT ASSY.

PLATE - indicator

1шт.

Выбрано товаров: 10