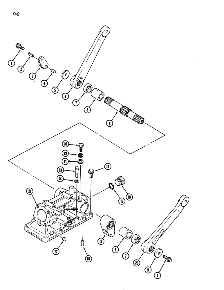
Запчасти Case IH 235 (9-02) - HITCH SYSTEM, HOUSING, ROCKSHAFT, AND LIFT ARMS (09) - CHASSIS/ATTACHMENTS

Схема запчастей Case IH 235 - (9-02) - HITCH SYSTEM, HOUSING, ROCKSHAFT, AND LIFT ARMS (09) - CHASSIS/ATTACHMENTS
17
19
18
8
21
4
16
11
12
9
8
10
7
1
6
5
1
22
7
14
2
5
3
13
20
15
FIT
1:1
100%

Артикул

Название

Примечание

Количество

1

514-712

BOLT,Hex, M10 x 1.25 x 25mm, Cl 8.8, Full Thd

2шт.

892-11010

LOCK WASHER,M10

2шт.

2

364577R1

PIN,5/32" x 3/4", Coiled

- slotted spring, 4 x 20 mm

1шт.

3

1269895C1

ARM

- control

1шт.

4

1269896C1

AXLE PIN

PIN - rod guide

1шт.

5

49139D

WASHER,10.32mm ID x 38.1mm OD x 5mm Thk

- flat, 1-1/2 inch OD

2шт.

6

1269899C1

ARM

- lift, right

1шт.

7

1273181C1

OIL SEAL

SEAL - oil

2шт.

8

1271800C1

BUSHING

- rockshaft

2шт.

9

1271801C1

SHAFT HOUSING

ROCKSHAFT - hitch

1шт.

10

1271802C1

BOLT,Hex, M8 x 1.25 x 16mm

BOLT - special

2шт.

895-11008

WASHER,9mm ID x 16mm OD x 1.6mm Thk

2шт.

11

1275284C1

SEALING WASHER

SEAL - washer

2шт.

12

1271803C1

PLUG

- housing

1шт.

13

514-726

BOLT,Hex, M10 x 1.25 x 100mm, Cl 8.8

- hex, M10 x 100 mm

1шт.

14

892-11010

LOCK WASHER,M10

1шт.

15

30346R1

DOWEL,M10 x 20

PIN - dowel, hardened, 10 x 20 mm

2шт.

16

514-713

BOLT,Hex, M10 x 1.25 x 45mm, Cl 5.6

- hex, M10 x 45 mm

7шт.

892-11010

LOCK WASHER,M10

7шт.

17

1269873C1

O-RING

O-RING - plug

1шт.

18

1271804C1

PLUG

- housing

1шт.

19

1271805C1

FORK TEDDER

ARM - power

1шт.

932479R1

COTTER PIN,M5 x 50

PIN - cotter, 5 x 50 mm

1шт.

20

1269898C1

ARM

- lift, left

1шт.

21

1269677C1

CASE

HOUSING - rockshaft

1шт.

22

895-11008

WASHER,9mm ID x 16mm OD x 1.6mm Thk

- flat, 9 x 17 x 2 mm

2шт.

Выбрано товаров: 26