Запчасти Case IH 245 (3-14) - FUEL TANK AND SUPPORTS (03) - FUEL SYSTEM

Схема запчастей Case IH 245 - (3-14) - FUEL TANK AND SUPPORTS (03) - FUEL SYSTEM
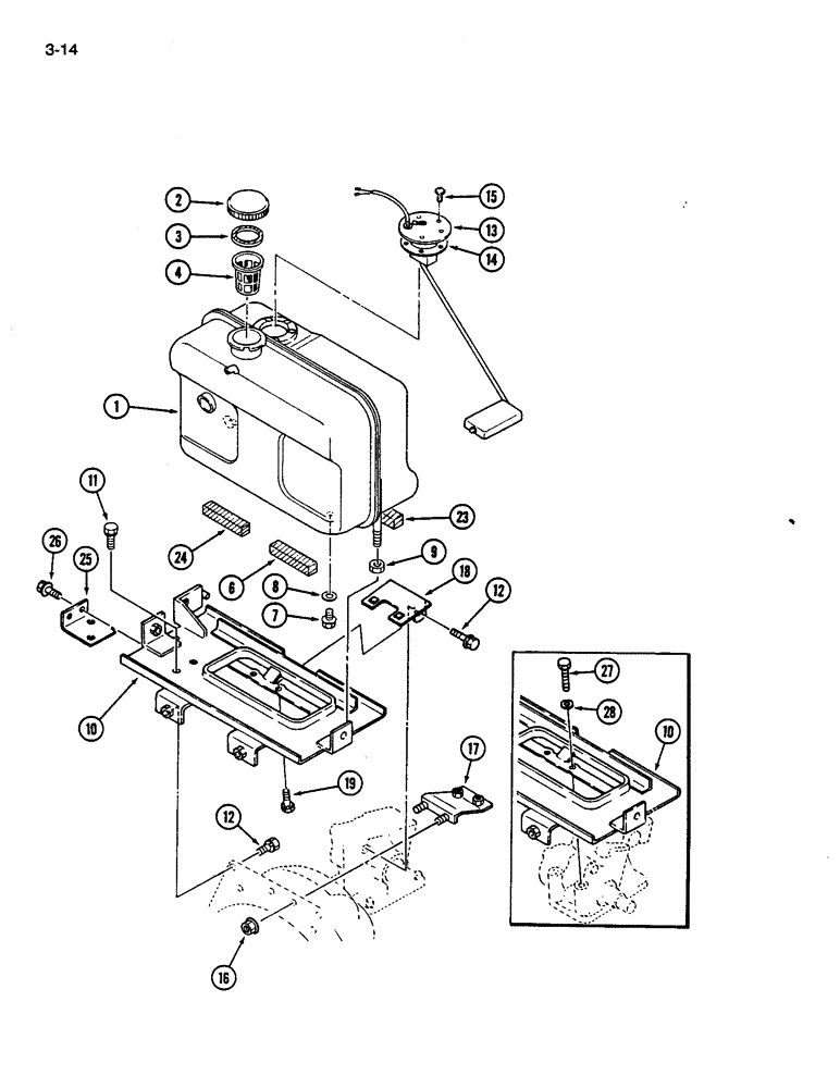
10
14
11
9
3
7
4
25
13
15
8
26
17
16
10
27
12
18
19
23
1
2
6
12
28
24
FIT
1:1
100%

Артикул

Название

Примечание

Количество

1

1273623C1

FUEL TANK

TANK - fuel

1шт.

2

99395C1

CAP ASSY.

CAP - fuel tank

1шт.

3

1269627C1

SEAL

- fuel tank cap

1шт.

4

1269628C2

STRAINER ELEMENT

STRAINER - fuel

1шт.

Going from C1 to C2 increased the length of this Strainer a couple inches. These are interchangable.

1шт.

6

1269636C1

STRIP

- tank cushion

1шт.

7

1269630C1

BOLT,M8 x 1.25 x 12mm

BOLT - tank drain plug

1шт.

8

1275284C1

SEALING WASHER

SEAL - drain

1шт.

9

525-5100

NUT,M10 x 1.25, Cl 8

- hex, M10

4шт.

10

99211C1

BRACKET

- tank support

1шт.

11

514-703

BOLT,Hex, M10 x 1.25 x 20mm, Cl 8.8, Full Thd

2шт.

892-11010

LOCK WASHER,M10

2шт.

12

614-8020

BOLT,Hex, M8 x 1.25 x 20mm

- hex, M8 x 20 mm

4шт.

892-11008

LOCK WASHER,8mm ID

WASHER, LOCK, M8

4шт.

895-11008

WASHER,9mm ID x 16mm OD x 1.6mm Thk

- flat, 9 x 17 x 2 mm

4шт.

13

1269633C1

GAUGE ASSY.

UNIT ASSEMBLY - fuel level sender

1шт.

14

1269634C1

GASKET

- fuel level sender

1шт.

15

30496R1

SCREW,Cross Pan Hd, M4 x 10

- pan head cross recess, M4 x 10 mm, Grade 4.8

5шт.

892-11004

LOCK WASHER,M4

WASHER, LOCK, M4

5шт.

895-11004

WASHER,4.3mm ID x 9mm OD x 0.8mm Thk

(Flat, 4.3 x 9 x 0.8 mm) M4

5шт.

892-11008

LOCK WASHER,8mm ID

WASHER, LOCK, M8

2шт.

16

825-1108

NUT,Hex, M8, Cl 8

- flange lock, M8

2шт.

17

1282596C1

BRACKET

- divider

1шт.

18

99376C1

BRACKET

- mounting (Manual steering)

1шт.

19

514-721

BOLT,Hex, M10 x 1.25 x 30mm, Cl 8.8, Full Thd

- hex, M10 x 30 mm (Manual steering)

2шт.

892-11010

LOCK WASHER,M10

(Manual steering) M10

2шт.

23

1962572C1

CUSHION ASSY.

CUSHION - tank

1шт.

24

1962573C1

CUSHION ASSY.

CUSHION - tank

1шт.

25

1962623C1

BRACKET

- filter

1шт.

26

814-8016

BOLT,Hex, M8 x 1.25 x 16mm, Cl 8.8, Full Thd

- hex, M8 x 16 mm

2шт.

892-11008

LOCK WASHER,8mm ID

WASHER, LOCK, M8

2шт.

895-11008

WASHER,9mm ID x 16mm OD x 1.6mm Thk

- flat, 9 x 17 x 2 mm

2шт.

27

514-726

BOLT,Hex, M10 x 1.25 x 100mm, Cl 8.8

- hex, M10 x 30 mm (Power steering)

2шт.

28

892-11010

LOCK WASHER,M10

(Power steering) M10

2шт.

Выбрано товаров: 34