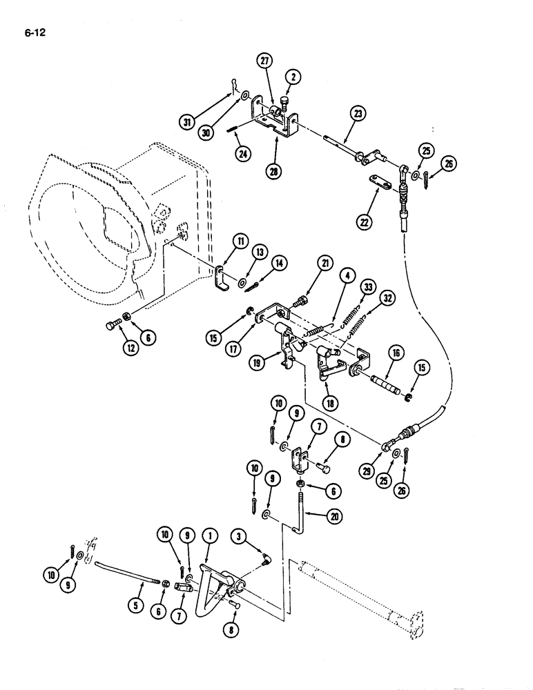
Запчасти Case IH 245 (6-12) - INCHING PEDAL, SYNCHROMESH TRANSMISSION (06) - POWER TRAIN

Схема запчастей Case IH 245 - (6-12) - INCHING PEDAL, SYNCHROMESH TRANSMISSION (06) - POWER TRAIN
19
9
6
16
10
26
24
4
28
18
8
6
3
10
17
14
13
30
32
25
6
21
25
27
23
9
33
26
31
22
11
10
10
15
9
15
1
5
9
7
2
8
29
20
7
12
FIT
1:1
100%

Артикул

Название

Примечание

Количество

1

1288343C1

PEDAL

- inching

1шт.

2

814-8016

BOLT,Hex, M8 x 1.25 x 16mm, Cl 8.8, Full Thd

- hex, M8 x 16 mm

2шт.

892-11008

LOCK WASHER,8mm ID

WASHER, LOCK, M8

2шт.

3

80711

LUBE NIPPLE,65 Degree, 1/8" NPT x 7/8" lg

FITTING - grease, 65 degree, 1/8 inch PT

1шт.

4

1282695C1

VALVE SPRING

SPRING - arm

1шт.

5

1275278C1

ROD

- linkage

1шт.

6

825-1108

NUT,Hex, M8, Cl 8

- hex, M8, Grade 10

3шт.

7

1275424C1

YOKE

- linkage

2шт.

8

30569R1

CLEVIS PIN,M8 x 25

PIN - clevis, 8 x 25 mm

2шт.

9

895-11008

WASHER,9mm ID x 16mm OD x 1.6mm Thk

- flat, 9 x 17 x 2 mm

4шт.

10

732-2020

COTTER PIN,M2 x 20

PIN - cotter, 2 x 20 mm (replaces 632-604)

4шт.

11

1275132C1

SUPPORT ASSY.

BRACKET - support

1шт.

12

814-8030

BOLT,Hex, M8 x 1.25 x 30mm, Cl 8.8, Full Thd

1шт.

13

895-11008

WASHER,9mm ID x 16mm OD x 1.6mm Thk

- flat, 9 x 17 x 2 mm

1шт.

14

732-2016

COTTER PIN,M2 x 16

PIN - cotter, 2 x 16 mm (Replaces 632-578)

1шт.

15

1271818C1

CIRCLIP,M13

RING - retaining

2шт.

16

1282696C1

SHAFT HOUSING

SHAFT - pivot

1шт.

17

1282697C1

BRACKET

- link

1шт.

18

1282698C1

ARM

- pivot shaft

1шт.

19

1288344C1

ARM

- cable attaching

1шт.

20

1282700C1

ROD

- linkage

1шт.

21

814-8025

BOLT,Hex, M8 x 1.25 x 25mm, Cl 8.8, Full Thd

- hex, M8 x 25 mm

2шт.

892-11008

LOCK WASHER,8mm ID

WASHER, LOCK, M8

2шт.

895-11008

WASHER,9mm ID x 16mm OD x 1.6mm Thk

- flat, 9 x 17 x 2 mm

2шт.

22

1282701C1

PLATE ASSY.

SUPPORT - cable

1шт.

23

1282702C1

ARM

- cable

1шт.

24

30323R1

LOCK PIN,M5 x 26, Slotted

PIN - slotted spring, 5 x 26 mm

1шт.

25

895-11006

WASHER,6.6mm ID x 12mm OD x 1.6mm Thk

2шт.

26

432-612

COTTER PIN,3/32" x 3/4"

PIN , SPLIT (COTTER), 3/32" x 3/4"

2шт.

27

1282703C1

ARM

- push

1шт.

28

1282704C1

BRACKET

- mounting

1шт.

29

1282705C1

CABLE PULLING GRIP

CABLE - control

1шт.

30

895-11012

WASHER,13.5mm ID x 24mm OD x 2.5mm Thk

1шт.

31

1282706C1

AXLE PIN

PIN - hair

1шт.

32

1269808C1

VALVE SPRING

SPRING - arm

1шт.

38

1288345C1

VALVE SPRING

SPRING - arm

1шт.

Выбрано товаров: 36