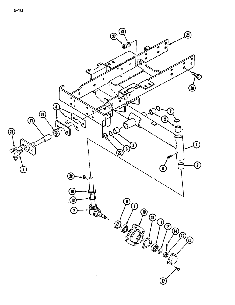
Запчасти Case IH 255 (5-10) - FRONT AXLE, 2 WHEEL DRIVE, NONADJUSTABLE (05) - STEERING

Схема запчастей Case IH 255 - (5-10) - FRONT AXLE, 2 WHEEL DRIVE, NONADJUSTABLE (05) - STEERING
1
13
21
24
27
2
25
7
3
26
28
5
6
15
3
2
19
12
22
18
16
10
17
20
14
8
2
4
9
11
23
FIT
1:1
100%

Артикул

Название

Примечание

Количество

1

1962612C1

CENTER AXLE

AXLE ASSEMBLY - front, Includes: Ref. 2

1шт.

2

1269752C1

BUSHING

- axle

8шт.

3

1282979C1

O-RING

O-RING - 25 mm ID (Replaces 1269875C1)

4шт.

4

1273282C1

SHIM

KIT - axle

1шт.

5

80711

LUBE NIPPLE,65 Degree, 1/8" NPT x 7/8" lg

FITTING - grease, short, 55 degree, 1/8-27 PT

1шт.

6

219-1

LUBE NIPPLE,1/8" - 27 NPTF

FITTING - grease, extra short, straight, 1/8-27 PT

2шт.

7

1271894C2

KNUCKLE JOINT

SPINDLE - front axle

2шт.

8

1271890C1

OIL SEAL

SEAL - oil

2шт.

9

1271857C91

BEARING, BALL

BEARING ASSEMBLY - ball

2шт.

10

1962613C1

HUB CAP

HUB - front wheel

2шт.

11

1271862C91

BEARING, BALL

BEARING ASSEMBLY - ball

2шт.

12

1271877C1

NUT

- castle, M15

2шт.

13

895-11018

WASHER,M18 x 34 x 3

- flat, 17 x 30 x 3 mm

2шт.

14

632-657

COTTER PIN,M4 x 40

PIN - cotter, 4 x 40 mm

2шт.

15

1269749C1

CYLINDER END CAP

CAP - hub

2шт.

16

1271891C1

GASKET

- hub cap

2шт.

17

614-6012

BOLT,Hex, M6 x 1 x 12mm, Cl 8.8, Full Thd

6шт.

892-11006

LOCK WASHER,M6

WASHER, LOCK, M6

6шт.

18

1271899C91

BEARING, BALL,26 mm ID x 43.5 mm OD x 15.25 mm

BEARING ASSEMBLY - thrust, ball

2шт.

19

1269880C1

O-RING

O-RING - 38 mm ID

2шт.

20

1271897C1

KEY

- Woodruff

2шт.

21

99096C1

SHAFT HOUSING

SHAFT - axle pivot (Replaces 1962605C1)

1шт.

22

1962606C1

WASHER

- special

1шт.

23

514-721

BOLT,Hex, M10 x 1.25 x 30mm, Cl 8.8, Full Thd

- hex, M10 x 30 mm

2шт.

892-11010

LOCK WASHER,M10

2шт.

24

1962607C1

COLLAR CLAMP

COLLAR - axle pivot

1шт.

25

99226C2

FUNNEL

FRAME - front

1шт.

26

514-834

BOLT,Hex, M12 x 1.25 x 30mm, Cl 8.8, Full Thd

- hex, M12 x 30 mm

12шт.

896-11012

WASHER,13.5mm ID x 24mm OD x 3mm Thk

12шт.

27

525-5105

NUT,M14 x 1.5, Cl 8

- hex, M14 x 1.50 mm

2шт.

28

892-11014

LOCK WASHER,14.5mm ID x 24.1mm OD x 4.5mm Thk

WASHER - lock, 14 mm

2шт.

Выбрано товаров: 31