Запчасти Case IH 255 (6-04) - HOUSINGS, CLUTCH, TRANSMISSION, DIFFERENTIAL AND REAR AXLE (06) - POWER TRAIN

Схема запчастей Case IH 255 - (6-04) - HOUSINGS, CLUTCH, TRANSMISSION, DIFFERENTIAL AND REAR AXLE (06) - POWER TRAIN
14
13
22
25
5
16
19
11
10
18
30
29
3
22
12
4
6
22
20
13
26
23
8
27
24
13
1
27
13
24
15
25
13
23
2
32
9
3
28
21
31
7
20
11
15
FIT
1:1
100%

Артикул

Название

Примечание

Количество

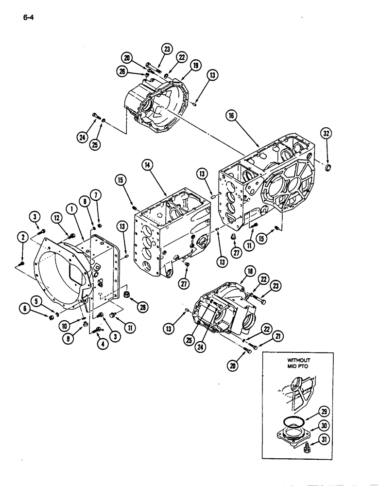
1

1273686C1

HOUSING

- clutch

1шт.

2

814-8016

BOLT,Hex, M8 x 1.25 x 16mm, Cl 8.8, Full Thd

- hex, M8 x 16 mm

4шт.

892-11008

LOCK WASHER,8mm ID

WASHER, LOCK, M8

4шт.

3

514-832

BOLT,Hex, M12 x 1.25 x 35mm, Cl 8.8, Full Thd

2шт.

892-11012

LOCK WASHER,M12

WASHER, LOCK, M12

2шт.

4

514-844

BOLT,Hex, M12 x 1.25 x 55mm, Cl 8.8

- hex, M12 x 55 mm

2шт.

5

892-11012

LOCK WASHER,M12

WASHER, LOCK, M12

2шт.

6

525-5115

NUT,M12 x 1.25, Cl 8

- hex, M12 x 1.25

2шт.

7

525-5100

NUT,M10 x 1.25, Cl 8

- hex, M10 x 1.25

1шт.

8

892-11010

LOCK WASHER,M10

1шт.

9

514-841

BOLT,Hex, M12 x 1.25 x 20mm, Cl 8.8, Full Thd

2шт.

10

1269439C1

SEALING WASHER

SEAL - washer

2шт.

11

514-832

BOLT,Hex, M12 x 1.25 x 35mm, Cl 8.8, Full Thd

16шт.

892-11012

LOCK WASHER,M12

WASHER, LOCK, M12

16шт.

12

514-821

BOLT,Hex, M12 x 1.25 x 40mm, Cl 8.8, Full Thd

- hex, M12 x 1.25 x 40 mm

2шт.

892-11012

LOCK WASHER,M12

WASHER, LOCK, M12

2шт.

13

30346R1

DOWEL,M10 x 20

PIN - dowel, hardened, 10 OD x 20 mm

6шт.

14

1269495C1

HOUSING

- transmission

1шт.

15

444699

PLUG,Hex Soc, 3/8"-18

- drain, hex socket head, 3/8-18 PT

3шт.

16

99358C1

HOUSING

- differential

1шт.

18

1962593C1

HOUSING

- rear axle, left

1шт.

19

1962594C1

HOUSING

- rear axle, right

1шт.

20

514-702

BOLT,Hex, M10 x 1.25 x 35mm, Cl 8.8, Full Thd

- hex, M10 x 1.25 x 35 mm

12шт.

892-11010

LOCK WASHER,M10

12шт.

21

814-12090

BOLT,Hex, M12 x 1.75 x 90mm, Cl 8.8

6шт.

22

892-11012

LOCK WASHER,M12

WASHER, LOCK, M12

10шт.

23

814-12080

BOLT,Hex, M12 x 1.75 x 80mm, Cl 8.8

4шт.

24

514-723

BOLT,Hex, M10 x 1.25 x 60mm, Cl 8.8

- hex, M10 x 60 mm

2шт.

25

892-11010

LOCK WASHER,M10

2шт.

26

NSS

NOT SOLD SEPARAT

PLUG - rear axle housing

4шт.

27

NSS

NOT SOLD SEPARAT

PLUG - housing

6шт.

28

1282586C1

CYLINDER END CAP

CAP - rubber

1шт.

29

1962627C1

O-RING

- cover

1шт.

30

1962596C1

COVER ASSY

COVER - housing (Without Mid PTO)

1шт.

31

1269781C1

BOLT,Hex, M12 x 35mm

BOLT - hex, M12 x 35 mm (Without Mid PTO)

2шт.

892-11012

LOCK WASHER,M12

WASHER, LOCK, M12

2шт.

32

1962638C1

SEAL

CAP - seal (With constant mesh transmission) (Without mid PTO)

1шт.

Выбрано товаров: 37