Запчасти Case IH 265 (9-20) - SEAT (09) - CHASSIS/ATTACHMENTS

Схема запчастей Case IH 265 - (9-20) - SEAT (09) - CHASSIS/ATTACHMENTS
12
7
17
2
8
16
4
6
11
11
3
12
10
5
14
7
17
10
1
13
9
17
FIT
1:1
100%

Артикул

Название

Примечание

Количество

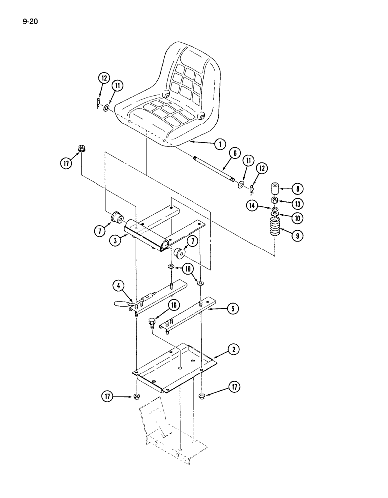
1

1961917C1

SEAT

ASSEMBLY - operator

1шт.

2

1963523C1

SUPPORT

- seat

1шт.

3

99186C1

BRACKET

- hinge

1шт.

4

1962768C1

ADJUSTER

- seat

1шт.

5

99188C1

RAIL

- slide

1шт.

6

1962587C1

SHAFT HOUSING

SHAFT - pivot

1шт.

7

99192C1

STOP

CUSHION - rubber

2шт.

8

99189C1

SEAT

STOPPER - rubber

2шт.

9

1962616C1

SPRING

- seat rail

2шт.

10

934675R1

WASHER,M8 x 16 x 1.6

- flat, 9 x 17 x 2 mm

4шт.

11

933587R1

WASHER,M12 x 24 x 2.5

- flat, 13 x 24 x 3 mm

2шт.

12

1282706C1

AXLE PIN

PIN - hair

2шт.

13

825-1108

NUT,Hex, M8, Cl 8

- hex, M8

2шт.

14

934309R1

LOCK WASHER,M8

WASHER - lock, 8 mm

2шт.

16

514-842

BOLT,Hex, M12 x 1.25 x 25mm, Cl 8.8, Full Thd

2шт.

933966R1

LOCK WASHER,M12

WASHER - lock, 12 mm

2шт.

17

825-1108

NUT,Hex, M8, Cl 8

- hex, M8

8шт.

934309R1

LOCK WASHER,M8

WASHER - lock, 8 mm

8шт.

Выбрано товаров: 18