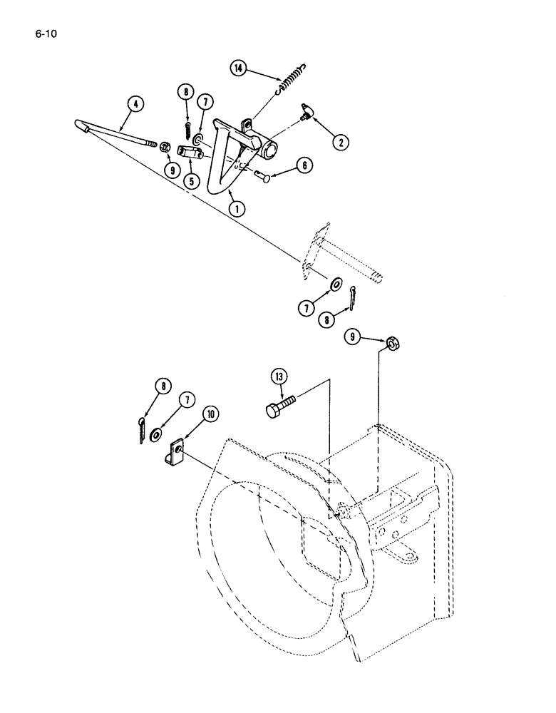
Запчасти Case IH 265 (6-10) - INCHING PEDAL, CONSTANT MESH TRANSMISSION (06) - POWER TRAIN

Схема запчастей Case IH 265 - (6-10) - INCHING PEDAL, CONSTANT MESH TRANSMISSION (06) - POWER TRAIN
9
1
8
6
10
14
13
5
9
7
7
4
2
7
8
8
FIT
1:1
100%

Артикул

Название

Примечание

Количество

1

1963409C1

PEDAL

- inching

1шт.

2

80711

LUBE NIPPLE,65 Degree, 1/8" NPT x 7/8" lg

FITTING - grease, 65 degree, 1/8 inch PT

1шт.

4

1963412C1

ROD

- clutch

1шт.

5

1275424C1

YOKE

- linkage

1шт.

6

30569R1

CLEVIS PIN,M8 x 25

PIN - clevis, 8 x 25 mm

1шт.

7

934675R1

WASHER,M8 x 16 x 1.6

- flat, 9 x 17 x 2 mm

3шт.

8

30259R1

COTTER PIN,M2.5 x 20

PIN - cotter, 2.5 x 20 mm

3шт.

9

825-1108

NUT,Hex, M8, Cl 8

- hex, M8

2шт.

10

1275132C1

SUPPORT ASSY.

BRACKET - support

1шт.

13

614-8030

BOLT,Hex, M8 x 1.25 x 30mm, Cl 8.8, Full Thd

hex, CL 8.8, M8 x 1.25 x 30

1шт.

14

1269808C1

VALVE SPRING

SPRING - inching pedal

1шт.

Выбрано товаров: 11