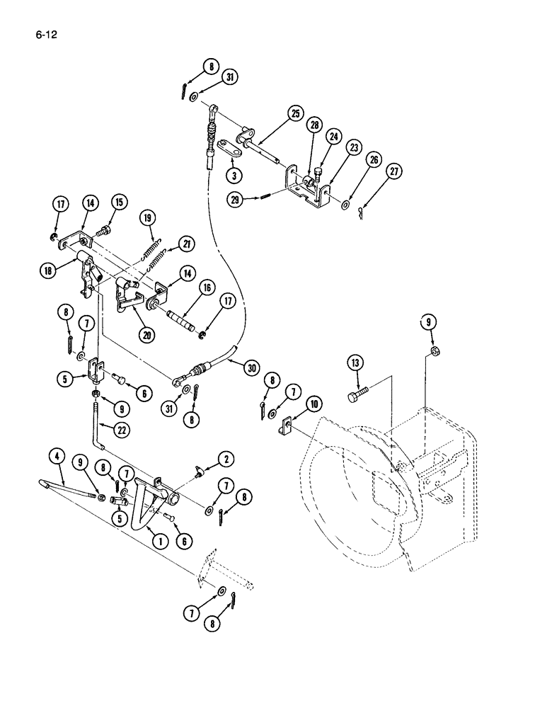
Запчасти Case IH 265 (6-12) - INCHING PEDAL, SYNCHROMESH TRANSMISSION (06) - POWER TRAIN

Схема запчастей Case IH 265 - (6-12) - INCHING PEDAL, SYNCHROMESH TRANSMISSION (06) - POWER TRAIN
1
9
23
17
8
7
19
8
8
4
30
13
17
10
25
26
22
24
7
16
31
18
5
7
28
6
3
9
2
15
20
7
27
29
14
8
31
9
6
8
8
7
8
14
21
5
FIT
1:1
100%

Артикул

Название

Примечание

Количество

1

1963410C1

PEDAL

- inching

1шт.

2

80711

LUBE NIPPLE,65 Degree, 1/8" NPT x 7/8" lg

FITTING - grease, 65 degree, 1/8 inch PT

1шт.

3

1282701C1

PLATE ASSY.

SUPPORT - cable

1шт.

4

1963412C1

ROD

- linkage

1шт.

5

1275424C1

YOKE

- linkage

2шт.

6

30569R1

CLEVIS PIN,M8 x 25

PIN - clevis, 8 x 25 mm

2шт.

7

934675R1

WASHER,M8 x 16 x 1.6

- flat, 9 x 17 x 2 mm

5шт.

8

30259R1

COTTER PIN,M2.5 x 20

PIN - split, 2.5 x 20 mm

7шт.

9

825-1108

NUT,Hex, M8, Cl 8

- hex, M8

3шт.

10

1275132C1

SUPPORT ASSY.

BRACKET - support

1шт.

13

614-8030

BOLT,Hex, M8 x 1.25 x 30mm, Cl 8.8, Full Thd

hex, CL 8.8, M8 x 1.25 x 30

1шт.

14

1282697C1

BRACKET

- link

1шт.

15

614-8025

BOLT,Hex, M8 x 1.25 x 25mm, Cl 8.8, Full Thd

2шт.

934309R1

LOCK WASHER,M8

WASHER - lock, 8 mm

2шт.

934675R1

WASHER,M8 x 16 x 1.6

- flat, 9 x 17 x 2 mm

2шт.

16

1282696C1

SHAFT HOUSING

SHAFT - pivot

1шт.

17

1271818C1

CIRCLIP,M13

RING - retaining

2шт.

18

1963413C1

ARM ASSY.

ARM - linkage

1шт.

19

1282695C1

VALVE SPRING

SPRING - arm

1шт.

20

1282698C1

ARM

- pivot shaft

1шт.

21

1269808C1

VALVE SPRING

SPRING - arm

1шт.

22

1282700C1

ROD

- linkage

1шт.

23

1282704C1

BRACKET

- mounting

1шт.

24

614-8016

BOLT,Hex, M8 x 1.25 x 16mm, Cl 8.8, Full Thd

- hex, M8 x 16 mm

2шт.

934309R1

LOCK WASHER,M8

WASHER - lock, 8 mm

2шт.

25

1963414C1

ARM

- cable

1шт.

26

933587R1

WASHER,M12 x 24 x 2.5

- flat, 13 x 24 x 3 mm

1шт.

27

1282706C1

AXLE PIN

PIN - hair

1шт.

28

1282703C1

ARM

- push

1шт.

29

30323R1

LOCK PIN,M5 x 26, Slotted

PIN - slotted spring, 5 x 26 mm

1шт.

30

1963415C1

CABLE

- control

1шт.

31

446179

WASHER,#12

- flat, 6 x 12 x 2 mm

2шт.

Выбрано товаров: 32