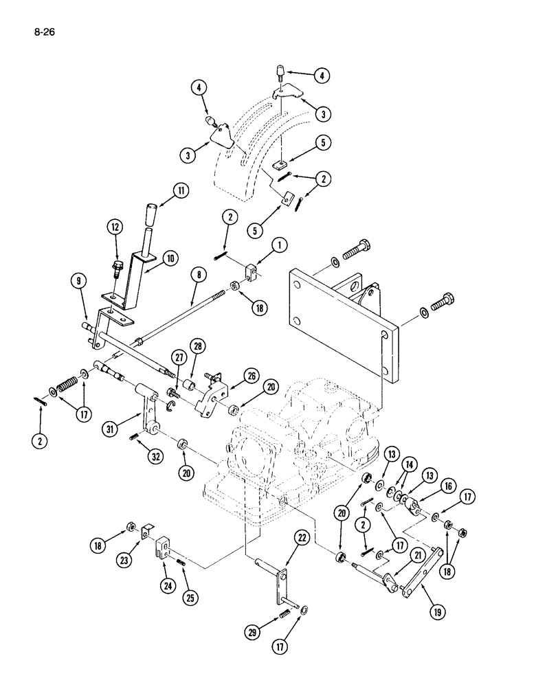
Запчасти Case IH 265 (8-26) - HITCH SYSTEM, POSITION CONTROL LINKAGE WITHOUT LOAD CONTROL (08) - HYDRAULICS

Схема запчастей Case IH 265 - (8-26) - HITCH SYSTEM, POSITION CONTROL LINKAGE WITHOUT LOAD CONTROL (08) - HYDRAULICS
19
13
4
31
22
11
12
32
23
16
18
28
5
18
14
24
29
4
2
26
17
13
17
10
3
3
20
27
20
21
17
2
8
9
5
17
2
2
18
25
20
1
FIT
1:1
100%

Артикул

Название

Примечание

Количество

1

1963321C1

JOINT

BLOCK - pivot, control rod

1шт.

2

30450R1

COTTER PIN,M2.5 x 16

PIN - cotter, 3 x 20 mm

6шт.

3

1963273C1

STOP

- control handle

2шт.

4

1273361C1

KNOB

- control handle stop

2шт.

5

1963325C1

PLATE

- locking

2шт.

8

1273376C1

ROD

- control linkage

1шт.

9

1963450C1

LEVER

- control

1шт.

10

1963324C1

LEVER

- control, upper

1шт.

11

1962980C1

GRIP

KNOB - control lever

1шт.

12

614-8020

BOLT,Hex, M8 x 1.25 x 20mm

- hex, M8 x 20 mm

2шт.

934309R1

LOCK WASHER,M8

WASHER - lock, 8 mm

2шт.

934675R1

WASHER,M8 x 16 x 1.6

- flat, 9 x 17 x 2 mm

2шт.

13

933587R1

WASHER,M12 x 24 x 2.5

- flat, 13 x 24 x 3 mm

2шт.

14

1269855C1

WASHER

- spring

2шт.

16

1273367C1

ARM

- link lever

1шт.

17

934675R1

WASHER,M8 x 16 x 1.6

- flat, 9 x 17 x 2 mm

6шт.

18

825-1108

NUT,Hex, M8, Cl 8

- hex, M8, Grade 10

4шт.

19

1273368C2

DRAG LINK

LINK - lever

1шт.

20

1273178C1

OIL SEAL

SEAL - oil

4шт.

21

1273369C1

SHAFT HOUSING

SHAFT - link lever

1шт.

22

1273372C1

LEVER

- feed back

1шт.

23

1273340C1

SUPPORT ASSY.

PLATE - locking

1шт.

24

1273370C1

YOKE

- valve

1шт.

25

31125R1

LOCK PIN,M8 x 16, Slotted

PIN - slotted spring, 8 x 16 mm

1шт.

26

1273366C1

BRACKET

- lever

1шт.

27

614-8020

BOLT,Hex, M8 x 1.25 x 20mm

- hex, M8 x 20 mm

2шт.

934309R1

LOCK WASHER,M8

WASHER - lock, 8 mm

2шт.

28

1273365C1

SPACER

- lever

1шт.

29

30790R1

LOCK PIN,M3 x 20, Slotted

PIN - slotted spring, 3 x 20 mm

1шт.

31

1273373C1

ARM

- feed back

1шт.

32

31118R1

LOCK PIN,M5 x 28, Slotted

PIN - slotted spring, 5 x 28 mm

1шт.

Выбрано товаров: 31