Запчасти Case IH 265 (8-34) - AUXILIARY VALVE (08) - HYDRAULICS

Схема запчастей Case IH 265 - (8-34) - AUXILIARY VALVE (08) - HYDRAULICS
20
5
17
15
24
19
20
9
12
4
16
25
10
20
22
16
20
14
23
22
26
13
3
18
14
8
1
2
6
11
21
12
10
27
FIT
1:1
100%

Артикул

Название

Примечание

Количество

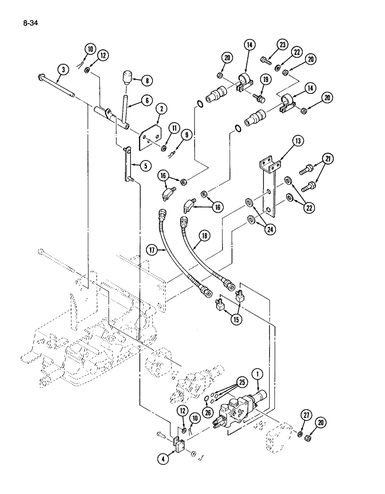
99046C1

VALVE

KIT - auxiliary valve, with coupler, Includes: Ref. 1 - 27

1шт.

1

1288097C91

LOCK VALVE

VALVE ASSEMBLY - auxiliary

1шт.

2

1963158C1

PLATE

- end

1шт.

3

1963159C1

SHAFT

- hand lever

1шт.

4

1963160C1

LEVER

- auxiliary valve lower

1шт.

5

1963161C1

LINK

- valve lever

1шт.

6

1963162C1

LEVER

- auxiliary valve

1шт.

8

1273497C1

KNOB

- lever, auxiliary valve

1шт.

9

1269735C1

AXLE PIN

PIN - hair

1шт.

10

132-320

COTTER PIN,3/32" x 3/4"

PIN, SPLIT (COTTER), 3/32" x 3/4"

2шт.

11

25709R1

WASHER

- flat, 11 x 21 x 2 mm

1шт.

12

934675R1

WASHER,M8 x 16 x 1.6

- flat, 9 x 17 x 2 mm

2шт.

13

1963163C1

BRACKET

- coupler

1шт.

14

1962931C1

CLAMP

- coupler

2шт.

15

1962933C1

ELBOW UNION

ELBOW - 90 degree

2шт.

16

1962934C1

FITTING

CONNECTOR ASSEMBLY -, Serial Range: coupler-hose

2шт.

NSS

NOT SOLD SEPARAT

O-RING - connector (Order 1962934C1)

1шт.

17

1963164C1

HOSE

ASSEMBLY - coupler, 275 mm long

1шт.

18

1963165C1

HOSE

ASSEMBLY - coupler, 185 mm long

1шт.

19

614-8020

BOLT,Hex, M8 x 1.25 x 20mm

- hex, M8 x 20 mm

3шт.

934309R1

LOCK WASHER,M8

WASHER - lock, 8 mm

3шт.

934675R1

WASHER,M8 x 16 x 1.6

- flat, 9 x 17 x 2 mm

3шт.

20

825-1108

NUT,Hex, M8, Cl 8

- hex, M8

8шт.

21

814-14040

BOLT,Hex, M14 x 2 x 40mm, Cl 8.8, Full Thd

- hex, M14 x 40 mm

2шт.

22

895-15008

WASHER,9mm ID x 20mm OD x 1.6mm Thk

- flat, 8 x 21 x 2 mm

2шт.

23

514-608

BOLT,Hex, M8 x 1.25 x 35mm, Cl 8.8, Full Thd

- hex, M8 x 35 mm

1шт.

24

1963166C1

WASHER

- coupler bracket

2шт.

25

1282749C1

O-RING

O-RING - 12 mm ID

3шт.

26

1273793C1

O-RING

O-RING - 16 mm ID (Replaces 1288101C1)

1шт.

27

934309R1

LOCK WASHER,M8

WASHER - lock, 8 mm

3шт.

Выбрано товаров: 30