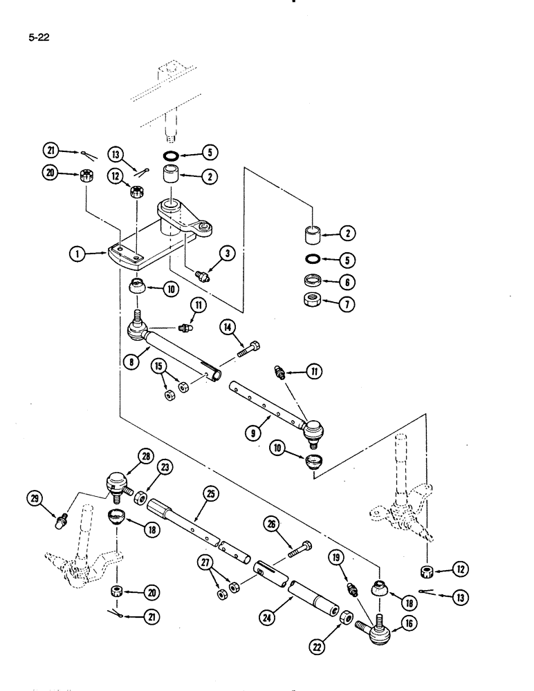
Запчасти Case IH 275 (5-22) - TIE ROD AND STEERING LINKAGE (05) - STEERING

Схема запчастей Case IH 275 - (5-22) - TIE ROD AND STEERING LINKAGE (05) - STEERING
3
25
13
19
28
15
6
23
1
13
21
12
12
21
22
2
9
20
26
8
27
16
20
24
5
14
2
10
5
7
10
11
11
29
18
18
FIT
1:1
100%

Артикул

Название

Примечание

Количество

1

1962102C1

CRANK

BELLCRANK ASSEMBLY - steering linkage, Includes: Ref. 2

1шт.

2

1962103C1

BUSHING

- bellcrank

2шт.

3

219-23

LUBE NIPPLE,1/4" - 18 NPTF

FITTING - grease, short, 65 degree, 1/8-27 PT

1шт.

5

1963153C1

RING

- sealing, 30 mm ID (Replaces 1269878C1)

2шт.

6

1962091C1

SPACER

- 5 mm thick

1шт.

7

1962038C1

NUT

- special, 25 mm

1шт.

8

1962105C1

TUBE

ROD ASSEMBLY - tie, outer left, Includes: Ref. 10 - 13

1шт.

9

1962106C1

ROD

ASSEMBLY - tie, inner left

1шт.

10

1273548C1

COVER ASSY

COVER - dust

1шт.

11

219-23

LUBE NIPPLE,1/4" - 18 NPTF

FITTING - grease, extra short, 1/4-18 PT

1шт.

12

1273549C1

NUT

- castle, M12

1шт.

13

632-628

COTTER PIN,M3.2 x 20

PIN - cotter, 3 x 20 mm

1шт.

14

514-610

BOLT,Hex, M8 x 1.25 x 45mm, Cl 8.8, Full Thd

- hex, M8 x 45 mm

1шт.

15

825-1108

NUT,Hex, M8, Cl 8

2шт.

16

1273547C91

END ASSY.

ROD END ASSEMBLY - tie, right outer, Includes: Ref. 18 - 21

1шт.

18

1273548C1

COVER ASSY

COVER - dust

1шт.

19

219-23

LUBE NIPPLE,1/4" - 18 NPTF

FITTING - grease, extra short, 1/4-18 PT

1шт.

20

1273549C1

NUT

- castle, M12

1шт.

21

934792R1

COTTER PIN,M3.2 x 20

PIN - cotter, 3 x 25 mm

1шт.

22

1273545C1

NUT

- hex, special, M17, left hand thread

1шт.

23

1273544C1

NUT

- hex, special, M17

1шт.

24

1962108C1

TUBE,15.2 mm ID, 28.6 mm OD, 328 mm Length

ROD - tie, outer

1шт.

25

1962109C1

ROD

- tie, inner

1шт.

26

514-610

BOLT,Hex, M8 x 1.25 x 45mm, Cl 8.8, Full Thd

- hex, M8 x 45 mm

1шт.

27

825-1108

NUT,Hex, M8, Cl 8

2шт.

28

1273546C91

END ASSY.

ROD END ASSEMBLY - tie right inner, Includes: Ref. 18, 20, 21 and 29

1шт.

29

219-49

LUBE NIPPLE,90 Degree Elbow, 1/4" - 18 NPTF

FITTING - grease, extra short, 65 degree, 1/4 PT

1шт.

Выбрано товаров: 27