Запчасти Case IH 275 (6-04) - CLUTCH AND TRANSMISSION HOUSING (06) - POWER TRAIN

Схема запчастей Case IH 275 - (6-04) - CLUTCH AND TRANSMISSION HOUSING (06) - POWER TRAIN
4
20
17
20
3
2
5
19
14
9
20
20
21
7
20
25
23
24
8
23
20
22
3
20
1
19
10
24
19
4
18
15
18
13
16
12
18
6
20
FIT
1:1
100%

Артикул

Название

Примечание

Количество

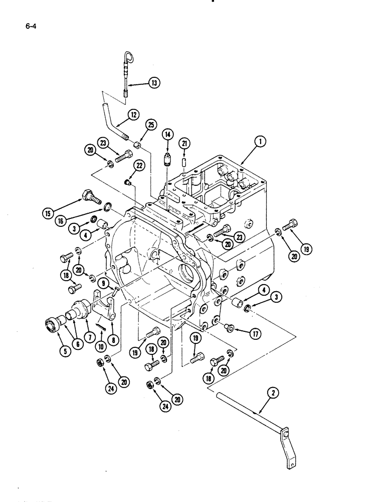
1

1961929C1

HOUSING

- clutch and transmission

1шт.

2

1961926C1

SHAFT HOUSING

SHAFT - clutch (Prior to P.I.N. 17657689)

1шт.

2

1963572C1

SHAFT HOUSING

SHAFT - clutch (P.I.N. CCJ0028001 and after)

1шт.

3

1961918C1

OIL SEAL

SEAL - oil

2шт.

4

1961919C1

BUSHING

- clutch shaft

2шт.

5

1961920C1

BALL BEARING,45mm ID x 74mm OD x 16mm W

- clutch release (Prior to P.I.N. 17657689)

1шт.

5

1963573C1

BALL BEARING,45mm ID x 74mm OD x 18mm W

BEARING - clutch release (P.I.N. CCJ0028001 and after)

1шт.

6

1962547C1

BUSHING

- slit, 25 mm OD

2шт.

7

1961928C1

HUB CAP

HUB - clutch release

1шт.

8

1961927C1

LEVER

FORK - clutch release (Prior to P.I.N. 17657689)

1шт.

8

1963574C1

LEVER

FORK - clutch release (Prior to P.I.N. CCJ0028001 and after)

1шт.

9

1963627C1

AXLE PIN

PIN - clevis

1шт.

10

30285R1

PIN - cotter, 2.5 x 12 mm (Replaces 632-600)

1шт.

12

1961922C1

TUBE,9.4 mm ID, 110, 100 mm Length

- dipstick

1шт.

13

1961923C1

GAUGE ASSY.

DIPSTICK - oil level

1шт.

14

1961924C1

BREATHER

- oil

1шт.

15

1961925C1

PLUG

- magnetic

1шт.

16

1963029C1

GASKET

SEAL - plug

1шт.

17

NSS

NOT SOLD SEPARAT

PLUG - housing

12шт.

18

814-12030

BOLT,Hex, M12 x 1.75 x 30mm, Cl 8.8, Full Thd

- hex, M12 x 30 mm

4шт.

19

514-831

BOLT,Hex, M12 x 1.25 x 45mm, Cl 8.8, Full Thd

- hex, M12 x 1.25 x 45 mm

3шт.

20

892-11012

LOCK WASHER,M12

WASHER, LOCK, M12

9шт.

21

1963004C1

AXLE PIN

PIN - dowel

2шт.

22

NSS

NOT SOLD SEPARAT

PLUG - housing

1шт.

23

514-833

BOLT,Hex, M12 x 1.25 x 60mm, Cl 8.8

- hex, M12 x 60 mm

2шт.

24

30274R1

JAM NUT,M12, Cl 10

- hex, M12, Grade 10

2шт.

25

525-5105

NUT,M14 x 1.5, Cl 8

- hex, M14 x 1.5 mm

1шт.

Выбрано товаров: 27