Запчасти Case IH 275 (6-32) - REAR WHEELS, ONE PIECE (06) - POWER TRAIN

Схема запчастей Case IH 275 - (6-32) - REAR WHEELS, ONE PIECE (06) - POWER TRAIN
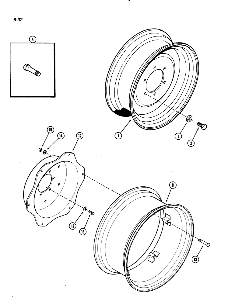
1
14
13
2
4
15
16
12
3
17
11
FIT
1:1
100%

Артикул

Название

Примечание

Количество

1

1963769C1

WHEEL (STEERING)

WHEEL - rear, 16LB x 16.1 (For 18.4-16.1 R3 Turf tire)

2шт.

2

514-917

BOLT,Hex, M14 x 1.5 x 30mm, Cl 8.8, Full Thd

BOLT - hex special, M14 x 30 mm

12шт.

3

896-12014

WASHER,15.5mm ID x 28mm OD x 3mm Thk

- hardened, 15 x 28 x 3 mm

12шт.

4

NSS

NOT SOLD SEPARAT

VALVE - wheel

2шт.

11

1963760C1

WHEEL (STEERING)

RIM - wheel, W10 x 24 (For 12.4-24 R1 rear tire) (Shown)

2шт.

11

374808R92

RIM

- wheel, W12 x 24 (For 13.6-24 R1 rear tire), 2 piece disc

2шт.

12

1963754C1

WHEEL (STEERING)

DISC - wheel, W10 x 24 (For 12.4-24 R1 and 13.6-24 R1 tire), 2 piece rim

2шт.

13

363800R2

BOLT,5/8" - 18 x 3 1/8"

- rear wheel rim clamp, 2 piece disc

12шт.

14

131140

LOCK WASHER,5/8"

WASHER, LOCK, , 2 piece rim and disc 5/8"

12шт.

15

352777R2

WHEEL NUT

- rear wheel, 2 piece rim and disc

12шт.

16

514-917

BOLT,Hex, M14 x 1.5 x 30mm, Cl 8.8, Full Thd

BOLT - hex special, M14 x 30 mm, 2 piece rim and disc

12шт.

17

896-12014

WASHER,15.5mm ID x 28mm OD x 3mm Thk

- hardened, 15 x 28 x 3 mm, 2 piece rim and disc

12шт.

Выбрано товаров: 12