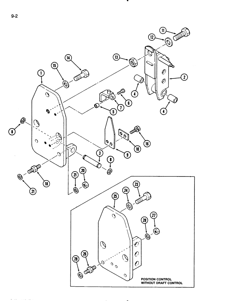
Запчасти Case IH 275 (9-02) - HITCH SYSTEM, UPPER LINK BRACKET WITH DRAFT CONTROL (09) - CHASSIS/ATTACHMENTS

Схема запчастей Case IH 275 - (9-02) - HITCH SYSTEM, UPPER LINK BRACKET WITH DRAFT CONTROL (09) - CHASSIS/ATTACHMENTS
23
20
10
21
12
8
7
11
15
6
27
28
13
9
8
14
1
2
5
4
24
16
28
4
26
3
25
21
18
FIT
1:1
100%

Артикул

Название

Примечание

Количество

1

1962429C1

BRACKET

- upper link

1шт.

2

196248C1

BRACKET - draft control

1шт.

3

1265208C1

AXLE PIN

PIN - bracket

1шт.

4

1265207C1

SPACER

BUSHING - bracket

2шт.

5

1269821C1

SPACER

COLLAR - stop

1шт.

6

814-8020

BOLT,Hex, M8 x 1.25 x 20mm, Cl 8.8, Full Thd

1шт.

892-11008

LOCK WASHER,8mm ID

WASHER, LOCK, M8

1шт.

895-11008

WASHER,9mm ID x 16mm OD x 1.6mm Thk

- flat, 9 x 17 x 2 mm

1шт.

7

1962425C1

STOP

- draft control

1шт.

8

1265212C1

CIRCLIP,M16

RING - retaining, E-type

2шт.

9

1962426C1

LARGE PLATE

SPRING - bracket

1шт.

10

1962427C1

PLATE ASSY.

PLATE - spring

1шт.

11

514-1013

BOLT,Hex, M16 x 1.5 x 50mm, Cl 8.8, Full Thd

1шт.

12

895-11016

WASHER,17.5mm ID x 30mm OD x 3mm Thk

Flat M16 x 30 x 3

1шт.

13

525-5109

NUT,M16 x 1.5, Cl 8

- hex, M16 x 1.5 mm

1шт.

14

514-1014

BOLT,Hex, M16 x 1.5 x 35mm, Cl 8.8, Full Thd

1шт.

15

896-11016

WASHER,17.5mm ID x 30mm OD x 4mm Thk

Flat M17.5 x 30 x 4, HT

1шт.

16

514-702

BOLT,Hex, M10 x 1.25 x 35mm, Cl 8.8, Full Thd

- hex, M10 x 1.25 x 35 MM

2шт.

892-11010

LOCK WASHER,M10

2шт.

18

1962424C1

BOLT (SPREADER),M14 - 2 x 60mm

STUD - special

2шт.

20

825-1114

NUT,M14, Cl 8

- hex, M14 x 2 mm

2шт.

21

30408R1

WASHER,M12 x 28.5 x 3, HT

- flat, 15 x 28 x 3 mm

4шт.

23

514-1014

BOLT,Hex, M16 x 1.5 x 35mm, Cl 8.8, Full Thd

upper link bracket w/o draft control Hex, M16 x 1.5 x 35, 8.8, Full Thd

1шт.

24

896-11016

WASHER,17.5mm ID x 30mm OD x 4mm Thk

Flat, Upper link bracket w/o draft control M17.5 x 30 x 4, HT

1шт.

25

1962430C1

BRACKET

upper link bracket w/o draft control

1шт.

26

1962424C1

BOLT (SPREADER),M14 - 2 x 60mm

STUD - special, upper link bracket w/o draft control

2шт.

27

825-1114

NUT,M14, Cl 8

- hex, M14 x 2 mm, upper link bracket w/o draft control

2шт.

28

896-12014

WASHER,15.5mm ID x 28mm OD x 3mm Thk

- hardened, 15 x 28 x 3 mm, upper link bracket w/o draft control

4шт.

Выбрано товаров: 28