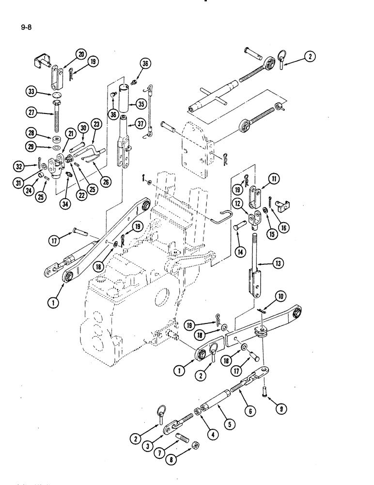
Запчасти Case IH 275 (9-08) - THREE POINT HITCH (09) - CHASSIS/ATTACHMENTS

Схема запчастей Case IH 275 - (9-08) - THREE POINT HITCH (09) - CHASSIS/ATTACHMENTS
10
2
30
2
18
27
25
18
36
17
5
7
19
1
4
19
12
24
20
18
8
15
16
14
25
33
19
28
6
19
11
9
31
26
36
1
34
22
21
29
17
13
23
32
2
35
3
37
FIT
1:1
100%

Артикул

Название

Примечание

Количество

1

1962419C1

DRAG LINK

LINK - lower

2шт.

2

372907R91

LINCH PIN

PIN - klik

7шт.

3

1962407C1

CHAIN (AG)

CHAIN - anti-sway

2шт.

#3 - RH - bolt is M14 x 1.5 RH thread

1шт.

4

525-5105

NUT,M14 x 1.5, Cl 8

- hex, M14 x 1.5 mm, Grade 8

2шт.

5

1962406C1

TURNBUCKLE

- anti-sway adjust

2шт.

6

1962408C1

CHAIN (AG)

CHAIN - anti-sway

2шт.

#6 - LH - bolt is M14 x 1.5 LH thread

1шт.

7

1962412C1

AXLE PIN

PIN - anti-sway chain

2шт.

8

525-5116

NUT,M20 x 1.5, Cl 8

- hex, M20 x 1.5 mm

2шт.

9

1273251C1

AXLE PIN

PIN - clevis

2шт.

10

1269737C1

AXLE PIN

PIN - hair

2шт.

11

1273300C1

YOKE

- swivel, lift link, left

1шт.

12

1273317C1

YOKE

- lift link, upper, left

1шт.

13

1962420C1

ROD

- lift, lower, left

1шт.

14

1273311C1

AXLE PIN

PIN - clevis

1шт.

15

895-11016

WASHER,17.5mm ID x 30mm OD x 3mm Thk

Flat M16 x 30 x 3

1шт.

16

632-657

COTTER PIN,M4 x 40

PIN - cotter, 4 x 40 mm

1шт.

17

21957R1

HEADED PIN,5/8" x 2"

PIN - headed, 5/8 x 2 inch

2шт.

18

895-11016

WASHER,17.5mm ID x 30mm OD x 3mm Thk

Flat M16 x 30 x 3

3шт.

19

NSS

NOT SOLD SEPARAT

PIN - hair

4шт.

Furnish four pins from 407209R1 - Package of 50.

1шт.

20

1962411C1

JOINT TURNING

YOKE - swivel, lift link, right

1шт.

21

1962417C1

CASE

HOUSING - leveling gear

1шт.

22

1962413C1

GEAR WHEEL

GEAR - pinion

1шт.

23

1962414C1

HANDLE

- adjuster

1шт.

24

1962399C1

COLLAR CLAMP

COLLAR - gear housing

1шт.

25

31120R1

LOCK PIN,M6 x 22, Slotted

PIN - slotted spring, 6 x 22 mm

2шт.

26

1962415C1

AXLE PIN

PIN - handle

1шт.

27

1962400C1

GEAR WHEEL

ROD - lift, with gear

1шт.

28

1962401C1

BALL BEARING,19.3 mm ID x 39 mm OD x 14.3 mm

BEARING - lift rod

1шт.

29

1962402C1

SHIM

- bearing

1шт.

30

1962403C1

AXLE PIN

PIN - clevis

1шт.

31

895-11016

WASHER,17.5mm ID x 30mm OD x 3mm Thk

Flat M16 x 30 x 3

1шт.

32

632-657

COTTER PIN,M4 x 40

PIN - cotter, 4 x 40 mm

1шт.

33

41-28

EXPANSION PLUG

PLUG - expansion

1шт.

34

219-1

LUBE NIPPLE,1/8" - 27 NPTF

FITTING - grease

1шт.

35

1962404C1

COVER ASSY

COVER - lift rod

1шт.

36

614-6012

BOLT,Hex, M6 x 1 x 12mm, Cl 8.8, Full Thd

2шт.

892-11006

LOCK WASHER,M6

WASHER, LOCK, M6

2шт.

37

1962416C1

ROD

- lift, lower, right, Serial Range: -CCJ0029166

1шт.

37

1346714C1

LIFTING ROD

ROD - lift, lower, right, Start Serial: CCJ0029167

1шт.

Выбрано товаров: 42