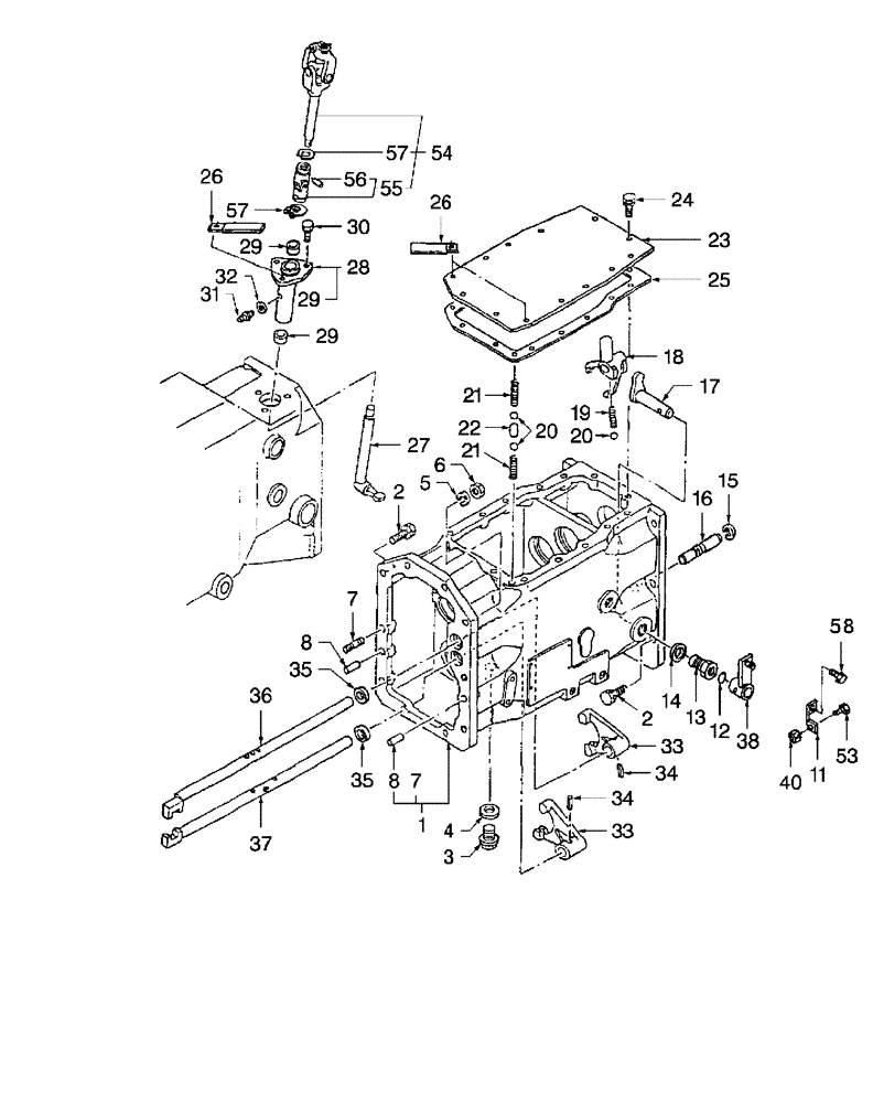
Запчасти Case IH D29 (07C01A) - FRONT TRANSMISSION CASE & SHIFTER, 9 X 3 W/LIVE REAR PTO (03) - TRANSMISSION

Схема запчастей Case IH D29 - (07C01A) - FRONT TRANSMISSION CASE & SHIFTER, 9 X 3 W/LIVE REAR PTO (03) - TRANSMISSION
5
24
28
35
7
34
29
7
15
6
14
33
29
57
1
13
26
21
32
53
20
38
23
57
3
16
40
2
56
30
33
37
58
8
17
54
19
12
34
18
25
35
31
26
29
7
11
20
21
8
2
36
55
4
22
FIT
1:1
100%

Артикул

Название

Примечание

Количество

1

SBA322017552

CASING

Case Assy. Includes: Ref. 7, 8

1шт.

2

SBA011511030

CAPTIVE WASHER SCREW,Hex, M10 x 30, G5

13шт.

3

SBA064600016

PLUG

Plug, M16

1шт.

4

SBA025100016

WASHER,16.4mm ID x 27mm OD x 2mm Thk

Seal, Washer

1шт.

5

892-11010

LOCK WASHER,M10

1шт.

6

SBA021010010

NUT,M10 x 1.25

1шт.

7

SBA012111030

STUD,M10 x 30

1шт.

8

SBA030501025

BALL STUD,M10 x 25 L

BALL PIN Pin, Knock

2шт.

11

86400050

BRACKET

1шт.

12

SBA052109078

O-RING,2.4mm Thk x 9.8mm ID

O-Ring

1шт.

13

SBA324510400

GUIDE

Guide, Shift

1шт.

14

SBA025100020

SEALING WASHER,16.4mm ID x 27mm OD x 2mm Thk

1шт.

15

SBA036800012

SNAP RING

Ring, Snap

1шт.

16

SBA324312210

ROD

Shifter Rod, FWD

1шт.

17

SBA324200890

ARM

Shift Arm

1шт.

18

SBA324411680

SHIFTER FORK

FWD

1шт.

19

SBA398210280

SPRING

Spring

1шт.

20

V34014

BALL

Ball, Steel

3шт.

21

SBA398210460

SPRING

Spring

2шт.

22

SBA324560050

PIN

Pin

1шт.

23

SBA322213120

COVER

Cover, Case

1шт.

24

SBA011510820

CAPTIVE WASHER SCREW,Hex, M8 x 20, G5

14шт.

25

SBA324990241

GASKET

Gasket

1шт.

26

SBA399112980

CLAMP

Clamp

4шт.

27

SBA324200950

ARM

Shift Arm

1шт.

28

SBA324010520

ARM

Guide Assy., Shift

1шт.

29

SBA398510310

BUSHING

Bushing

2шт.

30

SBA011510816

BOLT

Bolt, M8 x 16

3шт.

31

SBA060610000

LUBE NIPPLE,M6 x .075

1шт.

32

9824259

WASHER,6.4mm ID x 12mm OD x 1.6mm Thk

1шт.

33

SBA324411580

SHIFTER FORK

2шт.

34

SBA030300625

PIN

Pin, Spring

2шт.

35

SBA050203115

SEAL,28mm ID x 40mm OD x 8mm Thk

2шт.

36

SBA324300520

SHIFT RAIL

Rod, 2 & R

1шт.

37

SBA324300530

SHIFT RAIL

Rod, 1 & 3

1шт.

38

SBA324105980

LEVER

Change, W/FWD

1шт.

40

825-2406

FLANGE NUT,M6 x 1, Cl 8.8

1шт.

43

SBA011310625

CAPTIVE WASHER SCREW,Hex, M6 x 25, Cl 8.8

1шт.

53

814-6030

BOLT,Hex, M6 x 1 x 30mm, Cl 8.8

1шт.

54

SBA324040040

CONTROL SHAFT

Link Assy.

1шт.

55

SBA398380240

UNIVERSAL JOINT

Joint

1шт.

56

SBA399611200

PIN

Pin

2шт.

57

370001

SNAP RING,M22, External

2шт.

58

86511841

BOLT,Flng, M8 x 1.25 x 16mm, Full Thd, Cl 8.8

1шт.

Выбрано товаров: 44