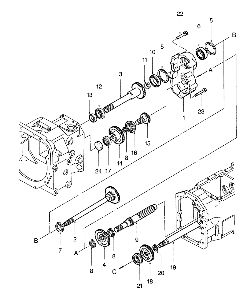
Запчасти Case IH D29 (07D01) - FRONT TRANSMISSION GEARS, W/DUAL CLUTCH INPUT SHAFT (03) - TRANSMISSION

Схема запчастей Case IH D29 - (07D01) - FRONT TRANSMISSION GEARS, W/DUAL CLUTCH INPUT SHAFT (03) - TRANSMISSION
13
10
7
6
24
5
18
14
19
3
16
11
8
1
22
15
8
9
21
17
20
4
23
8
5
2
12
FIT
1:1
100%

Артикул

Название

Примечание

Количество

1

SBA322112440

CASE

1шт.

2

SBA322512250

SHAFT

Input Shaft Transmission

1шт.

3

SBA322513400

SHAFT

PTO Input, Fixed Gear

1шт.

4

SBA322323630

GEAR

41T

1шт.

5

11061376

SNAP RING,M68, Int

RING, LOCKING, M68, Int

2шт.

6

86516078

BALL BEARING,40mm ID x 68mm OD x 15mm W

BEARING, BALL

1шт.

7

370006

SNAP RING,M40, Ext

RING, SNAP, M40, Ext

1шт.

8

370003

SNAP RING,M30, External

Ring, Snap, Ext, M30

3шт.

9

SBA322531040

SHAFT

Transmission Counter

1шт.

10

SBA040109031

BALL BEARING,45mm ID x 68mm OD x 12mm W

BEARING, BALL

1шт.

11

SBA050203125

SEAL

1шт.

12

SBA040109030

BALL BEARING,35mm ID x 55mm OD x 10mm W

BEARING, BALL

1шт.

13

692325

SEAL

1шт.

14

SBA322324371

GEAR

42T

1шт.

15

SBA322570721

SHAFT

PTO Countershaft Fixed Gear

1шт.

16

SBA040156206

BEARING ASSY,60mm ID x 62mm OD x 16mm W

Bearing

1шт.

17

210041

BALL BEARING,25mm ID x 52mm OD x 15mm W

Bearing, Ball

1шт.

19

SBA322570692

COUNTERSHAFT

Shaft, Counter, Front PTO

1шт.

18

SBA322323580

GEAR

30T

1шт.

21

SBA040156304

BEARING ASSY

Bearing

1шт.

20

370002

CIRCLIP,M25, External

Ring, Snap, Ext, M25

1шт.

21

SBA040156304

BEARING ASSY

Bearing

1шт.

22

SBA011510860

CAPTIVE WASHER SCREW,Hex, M8 x 60, G5

SCREW, CAPTIVE WASHER, Hex, M8 x 60, G5

5шт.

23

SBA011510850

BOLT,M8 x 50mm

1шт.

24

SBA322140670

COVER

Seal, Cover, 40MM

1шт.

Выбрано товаров: 25