Запчасти Case IH D29 (03H01) - POWER STEERING PUMP (06) - FRONT AXLE & STEERING

Схема запчастей Case IH D29 - (03H01) - POWER STEERING PUMP (06) - FRONT AXLE & STEERING
7
22
8
21
12
20
13
14
6
21
16
15
14
5
2
8
3
11
18
21
18
7
20
19
20
17
4
10
1
9
FIT
1:1
100%

Артикул

Название

Примечание

Количество

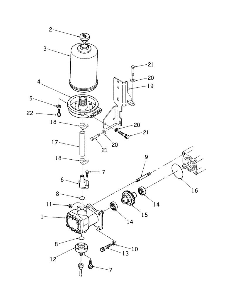
1

SBA340450490

PUMP

Assy., Power Steering,(KP0588ARS) DX25,DX29,DX33

1шт.

1

SBA340450920

SMALL PUMP

Pump Assy., Power Steering, D25,D29,D33

1шт.

2

SBA398430520

DIPSTICK

1шт.

3

SBA360101470

FILTER ASSY

Tank, Black

1шт.

4

SBA340621060

PLATE

Flange

1шт.

5

SBA025100008

SEALING WASHER,7.3mm ID x 14mm OD x 1.8mm Thk

Seal

1шт.

6

SBA340621610

FLANGE

1шт.

7

SBA011310625

CAPTIVE WASHER SCREW,Hex, M6 x 25, Cl 8.8

SCREW, CAPTIVE WASHER, Hex, M6 x 25, Cl 8.8

5шт.

8

SBA052100200

O-RING,2.4mm Thk x 19.8mm ID, 70 Duro

2шт.

9

SBA012110865

STUD

2шт.

10

E630153S71

LOCK WASHER,M8

Spring M8

2шт.

11

SBA021500008

NUT,M8

2шт.

12

SBA340621090

FLANGE

1шт.

13

814-8070

BOLT,Hex, M8 x 1.25 x 70mm, Cl 8.8

Cap, HH, CL 8.8, M8 x 1.25 x 70

2шт.

14

SBA040106004

BALL BEARING

BEARING, BALL, 6004

2шт.

15

SBA340460180

GEAR

Drive

1шт.

16

SBA052300600

O-RING,G60

1шт.

17

86530979

HOSE

-Out, Steering, D25,DX25,D29,DX29

1шт.

17

86535840

HOSE,15.90 mm ID x 218.30 mm, SAE 30R2 Type 1

Steering, D33,DX33 15.90 mm ID x 218.30 mm, SAE 30R2 Type 1

1шт.

18

82012717

HOSE CLAMP,11 x 17mm

CLAMP, HOSE, 11 x 17mm

2шт.

19

86401317

BRACKET

Power Steering

1шт.

19

86402015

BRACKET

Power Steering

1шт.

Used On & ASN HBA0000997

1шт.

20

322358

BELLEVILLE WASHER,M8 Bolt Size x 18mm OD x 1.4mm Thk

WASHER, BELLEVILLE, M8

4шт.

21

86511841

BOLT,Flng, M8 x 1.25 x 16mm, Full Thd, Cl 8.8

Hex Flg Hd, CL 8.8, M8 x 1.25 x 16

4шт.

22

SBA010800812

BOLT

M8 x 12

1шт.

Выбрано товаров: 26