Запчасти Case IH D35 (08.03.01) - HOOD HEADLAMP & HARDWARE (08) - SHEET METAL

Схема запчастей Case IH D35 - (08.03.01) - HOOD HEADLAMP & HARDWARE (08) - SHEET METAL
7
13
a
14
15
16
10
a-
11
13
10
8
rear view
14
a
6
5
13
10
9
10
12
2
a
4
1
14
3
FIT
1:1
100%

Артикул

Название

Примечание

Количество

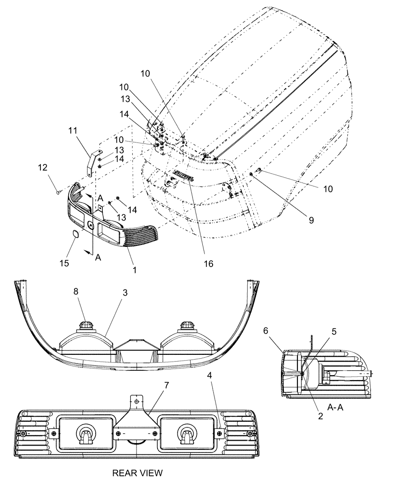
1

86400250

HEADLAMP

Economy Includes: Ref. 2-8

1шт.

2

280734

LOCK WASHER,Int Tooth, #8

4шт.

3

86530780

LAMP

2шт.

4

86530782

BRACKET

2шт.

5

86530859

SELF-TAP SCREW

4шт.

6

86558054

BEZEL

1шт.

7

86575022

BRACKET

1шт.

8

9847313

BULB,#894, 12V, 37.5W

2шт.

9

86511315

WASHER,8.4mm ID x 16mm OD x 1.8mm Thk

2шт.

10

844-6016

BOLT,Hvy Hex, M6 x 16mm, Cl 8.8

5шт.

11

86404645

BRACKET

Front Light

1шт.

12

86512439

CARRIAGE BOLT,M6 x 16mm, Cl 8.8

1шт.

13

322357

BELLEVILLE WASHER,M6 Bolt Size x 14mm OD x 1.3mm Thk

4шт.

14

9804276

FLANGE NUT,Hex, M6 x 1, Cl 8

4шт.

15

86401646

DECAL

Black

1шт.

16

87297495

DECAL

FARMALL

1шт.

Выбрано товаров: 16