Запчасти Case IH D35 (01.10) - CRANKSHAFT & PISTONS (01) - ENGINE

Схема запчастей Case IH D35 - (01.10) - CRANKSHAFT & PISTONS (01) - ENGINE
7
26
10
22
7
8
3
2
18
19
23
10a
10a
13
7
17
20
6
6
21
17
25
10
9
29
12
6
1
28
12
30
16
11
27
15
14
14
10
31
10a
24
5
FIT
1:1
100%

Артикул

Название

Примечание

Количество

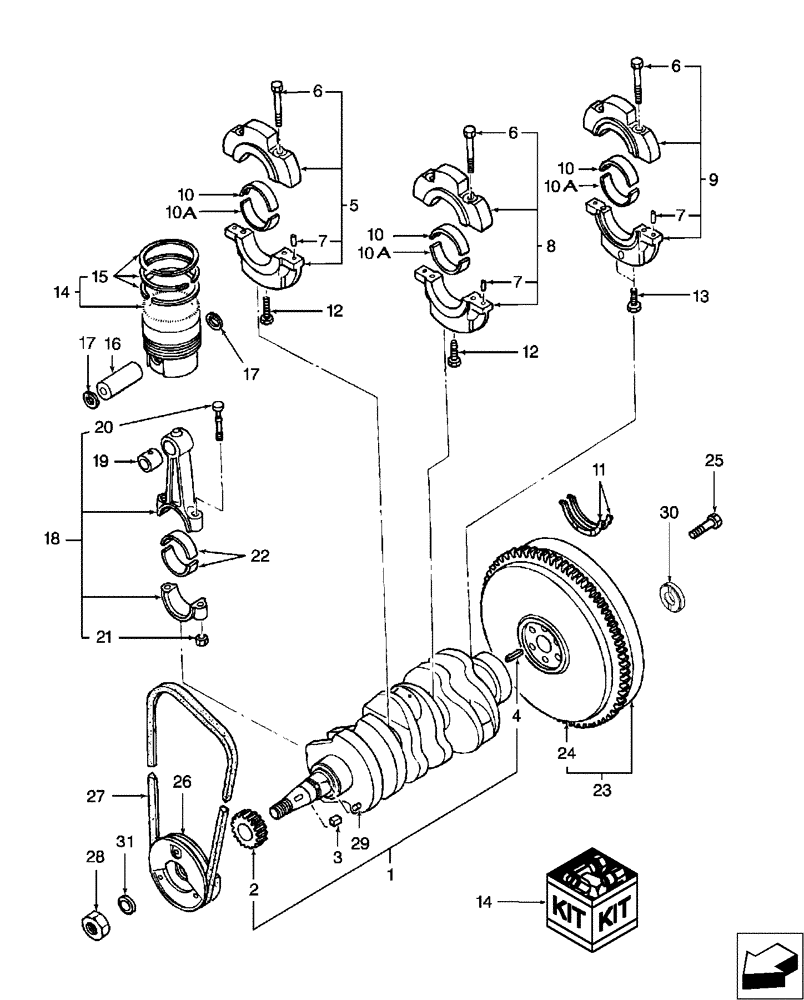
1

SBA115256760

CRANKSHAFT

Assy, Includes: Ref. 2, 4 and 29

1шт.

1

SBA115257020R

REMAN-CRANKSHAFT

Reman For New P/N SBA115256760, Assy

1шт.

1

SBA115257020C

CORE-CRANKSHAFT

Return Part Number

1шт.

2

SBA115276200

GEAR

1шт.

3

SBA034100508

KEY

1шт.

4

SBA030300816

PIN

Spring

1шт.

5

SBA110156370

BEARING CAP

ASSY. Includes: Ref. 6 thru 7

1шт.

6

SBA010109406

BOLT

6шт.

7

SBA030509020

PIN

Dowel

6шт.

8

SBA110156380

BEARING CAP

ASSY. Includes: Ref. 6 thru 7

1шт.

9

SBA110156390

BEARING CAP

ASSY. Includes: Ref. 6 thru 7

1шт.

10

SBA198517230

LINER

Kit, Std,, Upper

3шт.

10a

SBA198517240

LINER

Kit, Std., Lower

3шт.

11

SBA199266200

THRUST WASHER

2шт.

12

SBA011511075

BOLT

M10 x 70

2шт.

13

SBA010700865

BOLT,M8 x 65mm

2шт.

14

SBA115017490

PISTON & RINGS KIT

Includes: Ref. 15 SBA115107970

3шт.

15

SBA115107970

SET OF RINGS

Included in Kit SBA115017490, Contains a 3 mm width oil ring

3шт.

16

SBA115326220

PISTON PIN,33mm OD

3шт.

17

301642

SNAP RING,M28, Int

6шт.

18

SBA115026330

CONNECTING ROD

3шт.

SBA115026330R

REMAN-CONNECTING ROD

D35 PIN # HBA015005 & ABOVE (8/03)

3шт.

SBA115026330C

CORE-ROD CONNECTING

Return Number

1шт.

19

SBA198517260

BUSHING

3шт.

20

SBA115176140

BOLT

6шт.

21

SBA020109120

NUT

6шт.

22

SBA198517250

LINER

Std.

6шт.

23

SBA115357770

ENGINE FLYWHEEL

Includes: Ref. 24

1шт.

Not Included in Long Block

1шт.

24

SBA115376040

RING GEAR

1шт.

Not Included in Long Block

1шт.

25

SBA010109341

BOLT

6шт.

Not Included in Long Block

1шт.

26

SBA115397790

PULLEY

1шт.

27

86517954

V-BELT,0.50" W x 37.54" L

1шт.

Not Included in Long Block

1шт.

28

SBA020109086

NUT

1шт.

29

SBA030509020

PIN

Dowel

1шт.

30

SBA040116001

BALL BEARING

Pilot

1шт.

31

86511328

WASHER,25mm ID x 44mm OD x 4mm Thk

1шт.

Выбрано товаров: 40