Запчасти Case IH D40 (04.01) - FRONT AXLE W/2WD (03) - TRANSMISSION

Схема запчастей Case IH D40 - (04.01) - FRONT AXLE W/2WD (03) - TRANSMISSION
13
11
17
27
21
24
33
2
32
5
29
30
31
24
20
32
28
19
7
14
39
43
26
12
37
7
15
41
40
10
6
6
36
35
3
38
5
9
16
9
23
25
42
21
8
44
34
4
1
22
FIT
1:1
100%

Артикул

Название

Примечание

Количество

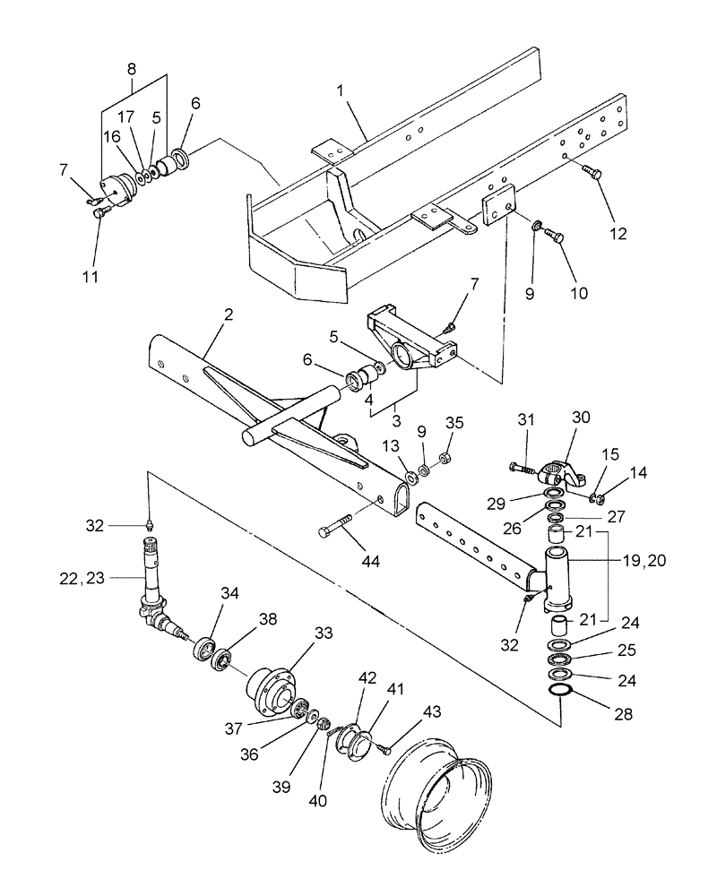
1

SBA330105410

SUPPORT

Axle, D35

1шт.

1

SBA330105390

SUPPORT

Axle, D40 & D45

1шт.

2

SBA330201420

SHAFT

1шт.

3

SBA322017870

CASING

Includes: Ref. 6

1шт.

4

SBA398510490

BUSHING

2шт.

5

SBA399260410

THRUST WASHER

2шт.

6

SBA050301145

SEAL

Oil

2шт.

7

80717

LUBE NIPPLE,45 Degree, 1/8" NPT x 7/8" lg

2шт.

8

SBA322017910

CASING

Includes: Ref. 4

1шт.

9

86729275

LOCK WASHER,5/8 0.634 CST ZND

4шт.

10

43168

BOLT,Hex, M16 x 40mm, Cl 8.8

4шт.

11

SBA011511235

BOLT,M12 x 35

2шт.

12

SBA010411425

BOLT

M14 x 25

12шт.

13

SBA399231460

COLLAR

4шт.

14

9706685

NUT,M12 x 1.75, Cl 8

2шт.

15

412123

LOCK WASHER,13.1mm ID x 21.1mm OD x 2.55mm Thk

2шт.

16

SBA199280510

SHIM,0.2mm Thk

1шт.

17

SBA199280520

SHIM,0.5mm Thk

1шт.

19

SBA330021580

SHAFT

Front Axle, L.H.

1шт.

20

SBA330021590

SHAFT

Front Axle, R.H.

1шт.

21

SBA398510290

BUSHING

4шт.

22

SBA330302570

SPINDLE

L.H.

1шт.

23

SBA330302580

SPINDLE

R.H.

1шт.

24

SBA398560610

THRUST WASHER

4шт.

25

SBA398560620

WASHER

Needle Bearing Thrust

2шт.

26

SBA399210030

SPACER

2шт.

27

SBA050301140

SEAL

Oil

2шт.

28

SBA052300550

O-RING

2шт.

29

SBA199280590

SHIM,0.5mm Thk

2шт.

30

SBA334525210

ARM

Knuckle

2шт.

31

43158

BOLT,Hex, M12 x 80mm, Cl 8.8

2шт.

32

SBA060620000

LUBE NIPPLE

4шт.

33

SBA330460780

HUB

Front Wheel

2шт.

34

SBA050609032

SEAL

Oil

2шт.

35

825-1416

NUT,M16, Cl 8

4шт.

36

SBA399211190

SPACER

2шт.

37

SBA042532006

BEARING ASSY,30mm ID x 55mm OD x 17mm W

Taper Roller

2шт.

38

SBA042530208

TAPERED BEARING

Roller

2шт.

39

SBA020109084

NUT

2шт.

40

SBA030104040

COTTER PIN

2шт.

41

SBA330380160

COVER

Wheel

2шт.

42

SBA330990011

GASKET

2шт.

43

SBA011150612

BOLT

M6 x 12

6шт.

44

43874

BOLT,Hex, M16 x 110, 8.8

4шт.

Выбрано товаров: 44