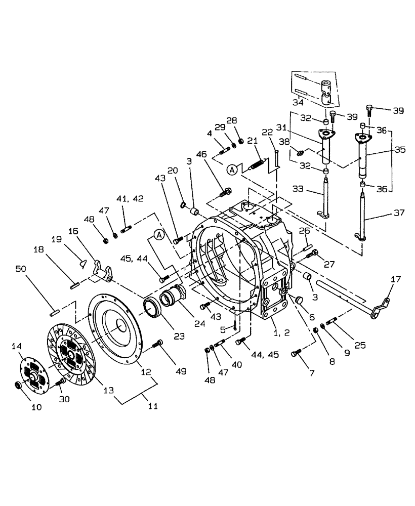
Запчасти Case IH D45 (03.04.01) - CLUTCH, 12X12 (03) - TRANSMISSION

Схема запчастей Case IH D45 - (03.04.01) - CLUTCH, 12X12 (03) - TRANSMISSION
46
44
6
38
23
26
17
36
2
27
47
30
11
43
13
16
4
44
18
24
39
1
10
22
33
9
48
5
7
39
37
45
14
3
20
29
31
36
47
19
48
45
32
41
3
34
40
43
49
50
21
35
42
25
32
8
28
12
FIT
1:1
100%

Артикул

Название

Примечание

Количество

1

SBA320111561

CASING

Clutch Assy., D35, D40

1шт.

1

SBA320111562

CASING

Clutch Assy., D35, D40

1шт.

USED ON & ABOVE DRIVELINE 3M50837 D35, 3M50821 D40

1шт.

2

SBA320111581

CASING

Clutch Assy., D45

1шт.

2

SBA320111582

CASING

Clutch Assy., D45

1шт.

USED ON & ABOVE DRIVELINE 3M51337 D45

1шт.

3

SBA398510010

DRIVE BUSHING

2шт.

4

SBA012111240

BOLT

Stud

2шт.

5

SBA030104020

PIN

Split

1шт.

USED BEFORE DRIVELINE 3M50837 D35, 3M50821 D40. 3M51337 D45

1шт.

6

SBA398110760

COVER

33 mm

1шт.

7

SBA011511235

BOLT,M12 x 35

3шт.

8

SBA021010012

NUT

M12

1шт.

9

412123

LOCK WASHER,13.1mm ID x 21.1mm OD x 2.55mm Thk

1шт.

10

SBA040106001

BALL BEARING

1шт.

11

SBA320040930

CLUTCH

D35, D40, Includes: Ref. 12 & 13

1шт.

11

SBA320040930R

REMAN-CLUTCH PLATE

D35 PIN # HBA0005002 & Aft., D40 PIN # HBA0005005 & Aft.

1шт.

11

SBA320040930C

CORE-CLUTCH PLATE

Return Number

1шт.

11

SBA320040940

CLUTCH, PRESSURE PLA

D45, Includes: Ref. 12 & 13

1шт.

11

SBA320040940R

REMAN-CLUTCH PLATE

D45 - Case IH Compact Tractor

1шт.

11

SBA320040940C

CORE-CLUTCH PLATE

Return Number

1шт.

12

SBA320450280

CLUTCH, PRESSURE PLA

D35, D40

1шт.

12

SBA320450280R

REMAN-CLUTCH PLATE

D35 PIN # HBA0005002 & Above (12/00-8/01), D40 PIN # HBA0005005 & Above (12/00-), Both Case IH Compact Tractor

1шт.

12

SBA320450280C

CORE-CLUTCH PLATE

Return Number

1шт.

12

SBA320450290

CLUTCH, PRESSURE PLA

D45

1шт.

13

SBA320400560

DISC

Clutch, D35, D40

1шт.

13

SBA320400560R

REMAN-CLUTCH DISC

D35 PIN # HBA0005002 & Above (12/00-8/01), D40 PIN # HBA0005005 & Above (12/00-), Both Case IH Compact Tractor, Clutch

1шт.

13

SBA320400560C

CORE-CLUTCH KIT

Return Number

1шт.

13

SBA320400570

DISC,260mm OD

Clutch, D45

1шт.

14

SBA320400580

DAMPER

Disc

1шт.

16

SBA320260140

FORK

Clutch

1шт.

17

SBA320201151

CLUTCH INPUT SHAFT

1шт.

18

SBA030300632

SLOTTED PIN,M6 x 32

2шт.

19

SBA398230020

RETAINING WIRE

2шт.

20

11066676

SNAP RING,M18, Ext

1шт.

21

SBA398210070

SPRING

1шт.

22

SBA031319028

PIN

1шт.

23

SBA398560910

BEARING ASSY,87.96mm OD x 54.98mm ID x 21.60mm Thk

Release, Years: -30-APR-01

1шт.

23

SBA398566490

THRUST BEARING,73.88mm OD x 45.00mm ID x 17.60mm Thk

Release, Start Year: 01-MAY-01

1шт.

USED ON & ABOVE DRIVELINE 3M19755

1шт.

24

SBA320310580

HUB

Release, Years: -30-APR-01

1шт.

24

SBA320310581

HUB

Release, Start Year: 01-MAY-01

1шт.

USED ON & ABOVE DRIVELINE 3M19755

1шт.

25

SBA012111240

BOLT

Stud

1шт.

26

SBA030501025

BALL STUD,M10 x 25 L

BALL PIN

2шт.

27

SBA011511235

BOLT,M12 x 35

2шт.

28

SBA021010012

NUT

M12

2шт.

29

412123

LOCK WASHER,13.1mm ID x 21.1mm OD x 2.55mm Thk

2шт.

30

SBA010700610

BOLT

8шт.

31

SBA324010530

COVER

1шт.

32

SBA398510310

BUSHING

2шт.

33

SBA324202740

ARM

Shift

1шт.

34

SBA398380240

UNIVERSAL JOINT

1шт.

35

SBA324010540

COVER

1шт.

36

SBA398510310

BUSHING

2шт.

37

SBA324202750

ARM

Shift

1шт.

38

SBA060610000

LUBE NIPPLE,M6 x .075

2шт.

39

SBA011510816

BOLT

M8 x 16

6шт.

40

SBA012111030

STUD,M10 x 30

2шт.

41

SBA012111045

SCREW

Stud, D45

1шт.

42

SBA012111035

STUD

D35, D40

1шт.

43

SBA011511020

BOLT,M10 x 20

6шт.

44

SBA011511050

BOLT,M10 x 50

D45

1шт.

45

SBA011511040

BOLT,M10 x 40

D35, D40

5шт.

46

SBA010109368

BOLT

M12 x 40

2шт.

47

892-11010

LOCK WASHER,M10

3шт.

48

SBA021010010

NUT,M10 x 1.25

3шт.

49

SBA011510816

BOLT

M8 x 16, D35, D40

9шт.

50

SBA030501025

BALL STUD,M10 x 25 L

BALL PIN D45

3шт.

50

SBA030500620

PIN

Dowel, D35, D40

3шт.

Выбрано товаров: 70