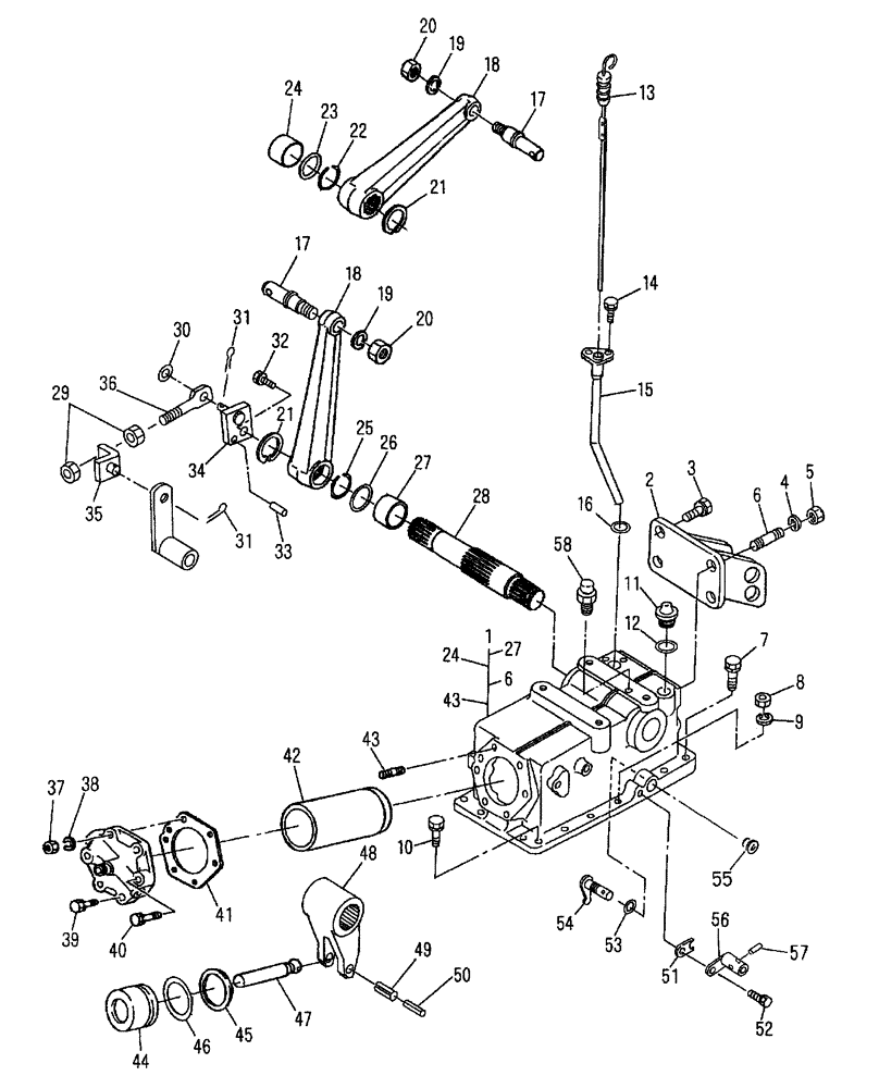
Запчасти Case IH D45 (07.01) - HYDRAULIC LIFT COVER & ARMS (07) - HYDRAULIC SYSTEM

Схема запчастей Case IH D45 - (07.01) - HYDRAULIC LIFT COVER & ARMS (07) - HYDRAULIC SYSTEM
30
46
49
57
27
21
25
14
24
29
51
1
7
18
15
17
10
53
48
58
8
28
20
27
6
39
52
19
35
45
20
42
17
31
11
37
9
4
55
13
43
2
56
3
22
16
36
40
54
43
6
23
26
34
33
18
24
50
47
12
5
38
44
21
19
32
41
31
FIT
1:1
100%

Артикул

Название

Примечание

Количество

1

SBA344081300

CASE

Includes: Ref. 6, 24, 27 & 43, D35 & DX35

1шт.

1

SBA344081310

CASE

Includes: Ref. 6, 24, 27 & 43, D40, DX40, D45 & DX45

1шт.

2

SBA370301181

BRACKET

Top Ring

1шт.

3

SBA011511235

BOLT,M12 x 35

3шт.

4

412123

LOCK WASHER,13.1mm ID x 21.1mm OD x 2.55mm Thk

1шт.

5

SBA021010012

NUT

M12

1шт.

6

SBA012111230

STUD

1шт.

7

SBA011511040

BOLT,M10 x 40

6шт.

8

SBA021010010

NUT,M10 x 1.25

6шт.

9

892-11010

LOCK WASHER,M10

6шт.

10

SBA011511030

CAPTIVE WASHER SCREW,Hex, M10 x 30, G5

4шт.

11

SBA398430560

PLUG

Hydraulic Oil Filler

1шт.

12

SBA052100280

O-RING

1шт.

13

SBA398400531

DIPSTICK

1шт.

14

SBA011510816

BOLT

M8 x 16

2шт.

15

SBA344600080

TUBE

Dipstick

1шт.

16

SBA052100200

O-RING,2.4mm Thk x 19.8mm ID, 70 Duro

1шт.

17

SBA344140170

PIN

2шт.

18

SBA344111230

LIFT ARM

D35 & DX35

2шт.

18

SBA344111240

LIFT ARM

D40, DX40, D45 & DX45

2шт.

19

9847025

LOCK WASHER,21.2mm ID x 33.6mm OD x 6mm Thk

2шт.

20

100085

NUT,M20 x 1.5, Cl 8

2шт.

21

370007

SNAP RING,M45, Ext

D35 & DX35

2шт.

21

370008

SNAP RING,M50, Ext

D40, DX40, D45 & DX45

2шт.

22

SBA398210830

SPRING

D35 & DX35

1шт.

22

SBA398211810

SPRING

D40, DX40, D45 & DX45

1шт.

23

SBA052300500

O-RING

D35 & DX35

1шт.

23

SBA052300550

O-RING

D40, DX40, D45 & DX45

1шт.

24

SBA398510140

BUSHING

50 x 55 x 30, D35 & DX35

1шт.

24

SBA398511000

BUSHING

50 x 60 x 40, D40, DX40, D45 & DX45

1шт.

25

SBA398210670

SPRING

D35 & DX35

1шт.

25

SBA398210830

SPRING

D40, DX40, D45 & DX45

1шт.

26

SBA052300450

O-RING

D35 & DX35

1шт.

26

SBA052300500

O-RING

D40, DX40, D45 & DX45

1шт.

27

SBA398510090

BUSHING

45 x 50 x 30, D35 & DX35

1шт.

27

SBA398511030

DRIVE BUSHING

50 x 55 x 40, D40, DX40, D45 & DX45

1шт.

28

SBA344830371

SHAFT

Hydraulic Arm, D35 & DX35

1шт.

28

SBA344830430

SHAFT

Hydraulic Arm, D40, DX40, D45 & DX45

1шт.

29

9706690

NUT,M8 x 1.25, Cl 8

2шт.

30

9824259

WASHER,6.4mm ID x 12mm OD x 1.6mm Thk

1шт.

31

SBA030102016

COTTER PIN

2шт.

32

SBA011510816

BOLT

M8 x 16

1шт.

33

412663

LOCK PIN,M5 x 10, Slotted

1шт.

34

SBA344200600

ROD

Connecting

1шт.

35

SBA340300090

STOP

Lever

1шт.

36

SBA344211130

ROD

1шт.

37

SBA021010012

NUT

M12

1шт.

38

412123

LOCK WASHER,13.1mm ID x 21.1mm OD x 2.55mm Thk

1шт.

39

SBA011511240

BOLT,M12 x 40

3шт.

40

SBA011511250

BOLT

2шт.

41

SBA344990280

GASKET

Cylinder Head

1шт.

42

SBA344790100

LINER

Cylinder, D35 & DX35

1шт.

42

SBA344790360

LINER

Cylinder, D40, DX40, D45 & DX45

1шт.

43

SBA012111240

BOLT

1шт.

44

SBA344760330

PISTON

D35 & DX35

1шт.

44

SBA344760380

PISTON

D40, DX40, D45 & DX45

1шт.

45

SBA344940140

RING

Back Up, D35 & DX35

1шт.

45

SBA344940150

RING

Back Up, D40, DX40, D45 & DX45

1шт.

46

SBA052110650

O-RING

D35 & DX35

1шт.

46

SBA052110700

O-RING

D40, DX40, D45 & DX45

1шт.

47

SBA344770300

ROD

Piston

1шт.

48

SBA344810110

ARM

Hydraulic, D35 & DX35

1шт.

48

SBA344810220

ARM

Hydraulic, D40, DX40, D45 & DX45

1шт.

49

86977791

LOCK PIN,M8 x 45, Slotted

1шт.

50

SBA030300545

COILED PIN

Spring

1шт.

51

SBA399564790

PLATE

DX45

1шт.

52

SBA011510816

BOLT

M8 x 16, DX45

1шт.

53

SBA052100140

O-RING

DX35 & DX40, W/HST

1шт.

54

SBA324202730

ARM

Shift, D40, DX40, D45 & DX45 W/HST

1шт.

55

SBA064200018

CAP

Sealing, W/12x12

1шт.

56

SBA324106890

LEVER

Change, D40, DX40, D45 & DX45

1шт.

57

9511051

LOCK PIN,M6 x 30, Slotted

D40, DX40, D45 & DX45

1шт.

58

SBA340710030

BREATHER

1шт.

Выбрано товаров: 73