Запчасти Case IH DX18E (01.01) - CYLINDER BLOCK (01) - ENGINE

Схема запчастей Case IH DX18E - (01.01) - CYLINDER BLOCK (01) - ENGINE
15
19
14
39
37
29
21
6
25
1a
22
9
36
8
13
23
30
35
42
18
5
2
12
44
16
32
17
40
43
1
34
5
4
26
27
28
11
7
38
20
41
24
17
10
33
3
FIT
1:1
100%

Артикул

Название

Примечание

Количество

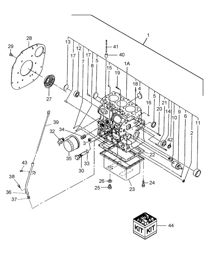
1a

SBA133546

BLOCK

Engine, DX18E

1шт.

1a

SBA138643

BLOCK

Engine, DX24E

1шт.

2

SBA064210015

CAP

Sealing

1шт.

3

SBA064210025

PLUG,25mm

1шт.

4

SBA064210035

SEALING ELEMENT

Sealing

2шт.

5

SBA064210040

CAP

Sealing

2шт.

6

SBA198466050

PLUG

Blank

1шт.

7

SBA198466030

PLUG

Blank 6.5 x 7mm

4шт.

8

SBA198466010

PLUG

Blank 8.4mm

4шт.

9

SBA165296141

SHAFT

Gear

1шт.

10

SBA198517090

BUSHING

1шт.

11

SBA198517080

BUSHING

Standard

1шт.

11

SBA198517084

BUSHING

U/S

1шт.

11

SBA198517087

BEARING

U/S

1шт.

12

SBA040106203

BALL BEARING,17mm ID x 40mm OD x 12mm W

1шт.

13

SBA064100045

PLUG

Expansion

1шт.

14

SBA042303015

NEEDLE BEARING

1шт.

15

SBA030500512

PIN

Dowel

2шт.

16

SBA030500616

DOWEL,M6 x 16

2шт.

17

SBA030501025

BALL STUD,M10 x 25 L

BALL PIN

2шт.

18

SBA030309005

PIN

Spring

2шт.

19

SBA012110620

STUD

2шт.

20

SBA012110635

STUD

1шт.

21

SBA012110660

STUD

1шт.

22

SBA110996800

GASKET

1шт.

23

SBA110708340

ENGINE OIL PAN

1шт.

24

SBA010109235

BOLT

20шт.

25

SBA010401212

BOLT

1шт.

26

SBA025100012

WASHER,12.4mm ID x 19mm OD x 2mm Thk

Sealing

2шт.

27

SBA198636080

OIL SEAL

Oil

1шт.

28

SBA110367710

PLATE

Rear

1шт.

29

SBA011511020

BOLT,M10 x 20

8шт.

30

SBA140036220

VALVE PRESSURE RELIE

1шт.

32

SBA198736270

DRAINCOCK/TAP SUPPLY

1шт.

33

SBA052109078

O-RING,2.4mm Thk x 9.8mm ID

1шт.

34

SBA140546020

ADAPTER

1шт.

35

87409203

ENGINE OIL FILTER

1шт.

36

SBA110756201

GUIDE

Gauge

1шт.

37

SBA052100100

O-RING

1шт.

38

SBA011310612

CAPTIVE WASHER SCREW,Hex, M6 x 12, Cl 8.8

M8 x 16

2шт.

39

SBA198416371

DIPSTICK

Level

1шт.

40

SBA120116100

TAPPET

6шт.

41

SBA120456201

ROD

Push

6шт.

42

SBA036509005

SNAP RING

1шт.

43

SBA011510812

CAPTIVE WASHER SCREW,Hex, M8 x 12, G5

1шт.

44

86590273

HEATER

Kit, Engine Heater Coolant Includes: Heater Assy., NSS & Cord Assy., 86598128

1шт.

Выбрано товаров: 46