Запчасти Case IH DX18E (01.04) - CRANKSHAFT & PISTONS (01) - ENGINE

Схема запчастей Case IH DX18E - (01.04) - CRANKSHAFT & PISTONS (01) - ENGINE
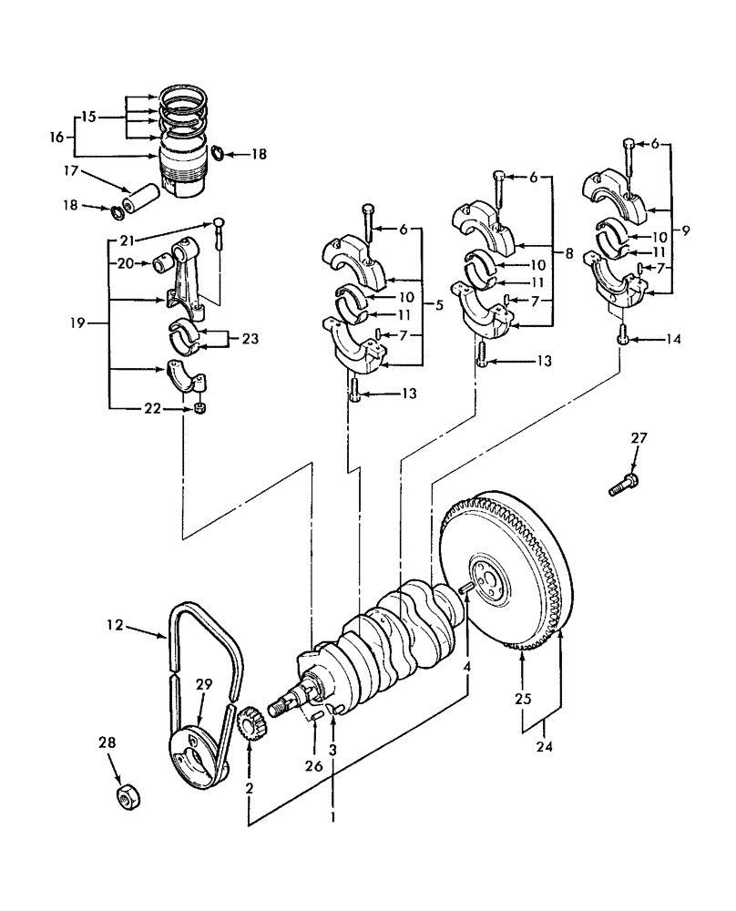
18
1
10
24
6
4
8
21
26
6
27
18
7
3
9
28
20
23
11
5
19
7
12
13
11
16
25
10
7
15
11
2
14
22
13
6
17
10
29
FIT
1:1
100%

Артикул

Название

Примечание

Количество

1

SBA115256600

CRANKSHAFT

Tapered, W/Keyway Includes: Ref. 2 thru 4 & 26

1шт.

2

SBA115276180

GEAR

1шт.

3

SBA030509020

PIN

Dowel

1шт.

4

SBA030300816

PIN

Spring

1шт.

5

SBA110156111

HOLDER

Bearing Includes: Ref. 6 & 7

1шт.

6

86511842

BOLT,M8 x 1.25 x 48.1mm OAL, Cl 8.8

6шт.

7

SBA030500612

DOWEL

6шт.

8

SBA110156121

HOLDER

Bearing Includes: Ref. 6 & 7

1шт.

9

SBA110156330

HOLDER

Bearing Includes: Ref. 6 & 7

1шт.

10

SBA198517101

LINER

Standard

3шт.

10

SBA198517105

LINER

U.S., .010" or 0.25 mm

3шт.

10

SBA198517108

LINER

U.S., .020" or 0.50 mm

3шт.

11

SBA198517110

LINER

Standard

3шт.

11

SBA198517114

LINER

U.S., .010" or 0.25 mm

3шт.

11

SBA198517117

LINER

U.S., .020" or 0.50 mm

3шт.

12

SBA080109049

BELT

1шт.

13

SBA011510850

BOLT,M8 x 50mm

2шт.

14

SBA010700845

BOLT

M8 x 45

2шт.

15

SBA115107201

SET OF RINGS

Standard, DX18E

3шт.

15

SBA115107247

PISTON RINGS KIT

Ring Set, Standard, DX24E

3шт.

16

SBA115017140

PISTON & RINGS KIT

Standard, DX18E Includes: Ref. 15

3шт.

16

SBA115016990

PISTON & RINGS KIT

Standard, DX24E Includes: Ref. 15

3шт.

17

SBA115326231

PISTON PIN

3шт.

18

SBA036500021

SNAP RING

6шт.

19

SBA115026191

CONNECTING ROD

Includes: Ref. 20 thru 22

3шт.

20

SBA198517120

BUSHING

3шт.

21

SBA115176150

BOLT

Connecting Rod

6шт.

22

SBA020109075

NUT

6шт.

23

SBA198517130

LINER

Standard

6шт.

23

SBA198517134

LINER

U.S., .010" or 0.25 mm

6шт.

23

SBA198517137

LINER

U.S., .020" or 0.50 mm

6шт.

24

SBA115357300

ENGINE FLYWHEEL

Includes: Ref. 25

1шт.

24

SBA115350020

ENGINE FLYWHEEL

Includes: Ref. 25

1шт.

USED ON & ABOVE PIN HDG100003 DX18E & HDG200005 DX24E

1шт.

25

SBA115376130

RING GEAR

1шт.

26

SBA034100508

KEY

1шт.

27

SBA010109340

BOLT

6шт.

28

SBA020800018

NUT

1шт.

29

SBA115397910

PULLEY

1шт.

Выбрано товаров: 39