Запчасти Case IH DX18E (03.03) - REAR TRANSMISSION CASE & SHIFTER (03) - TRANSMISSION

Схема запчастей Case IH DX18E - (03.03) - REAR TRANSMISSION CASE & SHIFTER (03) - TRANSMISSION
3
23
9
14
17
12
1
18
18
19
14
4
10
22
10
3
15
16
2
6
16
13
3
8
11
7
20
17
9
21
5
13
FIT
1:1
100%

Артикул

Название

Примечание

Количество

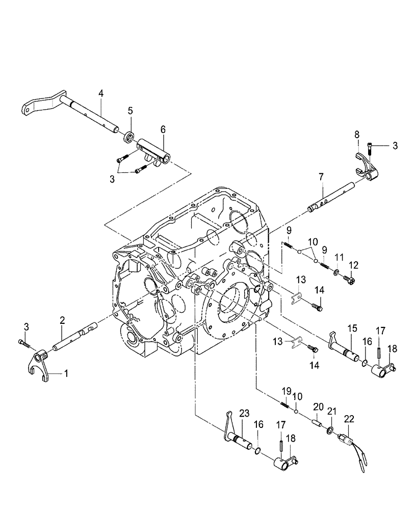
1

SBA324412640

FORK

Shifter

1шт.

2

SBA324313220

ROD

Shifter

1шт.

3

SBA010700630

BOLT

4шт.

4

SBA320201320

SHAFT

Clutch

1шт.

5

SBA050203118

SEAL

Oil

1шт.

6

SBA320260220

FORK

Clutch

1шт.

7

SBA324313230

ROD

Shifter

1шт.

8

SBA324412640

FORK

Shifter

1шт.

9

SBA398210460

SPRING

2шт.

10

SBA048100011

BALL

3шт.

11

SBA025100010

SEALING WASHER,9.2mm ID x 17mm OD x 1.8mm Thk

M10

1шт.

12

SBA010311020

BOLT

1шт.

13

SBA399564790

PLATE

2шт.

14

SBA011510816

BOLT

M8 x 16

2шт.

15

SBA324203050

ARM

Shifter

1шт.

16

SBA052100140

O-RING

2шт.

17

SBA030300632

SLOTTED PIN,M6 x 32

2шт.

18

SBA324107710

LEVER

2шт.

19

SBA398210460

SPRING

1шт.

20

SBA324560140

PIN

1шт.

21

SBA025100014

SEALING WASHER,14.4mm ID x 21mm OD x 2mm Thk

1шт.

22

SBA385200730

SWITCH

Brake Light

1шт.

23

SBA324200540

ARM

Shifter

1шт.

Выбрано товаров: 23