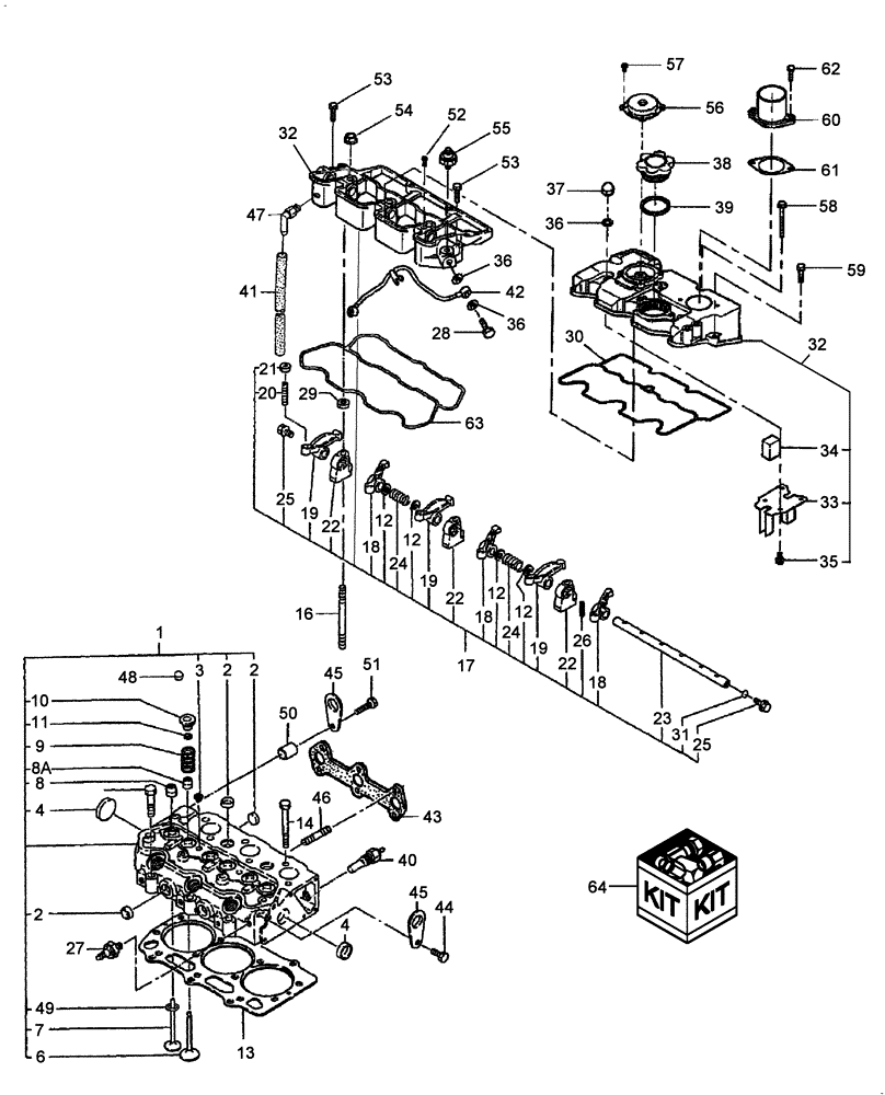
Запчасти Case IH DX18E (01.03) - CYLINDER HEAD (01) - ENGINE

Схема запчастей Case IH DX18E - (01.03) - CYLINDER HEAD (01) - ENGINE
35
9
24
30
18
2
23
32
12
58
2
42
28
36
8a
20
19
27
61
3
19
64
21
19
1
12
13
56
52
22
43
45
39
4
48
54
12
22
47
53
2
36
51
32
22
59
57
33
25
14
38
7
8
4
18
16
40
29
10
53
36
46
18
31
62
49
34
12
25
63
6
55
26
11
41
50
17
45
44
24
60
37
FIT
1:1
100%

Артикул

Название

Примечание

Количество

1

SBA111010570

CYLINDER HEAD

CYLINDER HEAD ASSY. DX18E, DX22E

1шт.

1

SBA111010580

CYLINDER HEAD

CYLINDER HEAD ASSY. DX25E

1шт.

1

SBA111010580R

REMAN-CYLINDER HEAD

DX25E 3 CYL COMPACT TRACTOR, CYLINDER HEAD ASSY (1/05-)

1шт.

1

SBA111010580C

CORE-CYLINDER HEAD

Return Number

1шт.

2

SBA064210018

PLUG

Sealing

6шт.

3

SBA064210015

CAP

Sealing

2шт.

4

SBA064210030

PLUG,30mm

2шт.

6

SBA120166360

STD INLET VALVE

STD ENGINE INLET VALVE

3шт.

7

SBA120176250

STD EXHAUST VALVE

STD ENGINE EXHAUST VALVE

3шт.

8

SBA120406050

SEAL

Exhuast

3шт.

8a

SBA120406070

SEAL

Intake

3шт.

9

SBA198216700

SPRING

6шт.

10

SBA120186080

RETAINER

6шт.

11

SBA120226070

RETAINER

12шт.

12

SBA199280280

CLUTCH

4шт.

13

SBA111147370

CYLINDER HEAD GASKET

0.4T

1шт.

13

SBA111147630

GASKET

Head, 1.2T, DX18E, DX22E

1шт.

13

SBA111147640

GASKET

Head, 1.3T, DX18E, DX22E

1шт.

13

SBA111147560

CYLINDER HEAD GASKET

1.2T, DX25E

1шт.

13

SBA111147570

CYLINDER HEAD GASKET

1.3T, DX25E

1шт.

14

SBA111136440

BOLT

11шт.

15

SBA111136450

BOLT

3шт.

16

SBA012109177

STUD

BOLT

3шт.

17

SBA120036980

ROCKER ARM

ROCKER ARM ASSY.

1шт.

18

SBA120356200

ROCKER ARM

Intake

3шт.

19

SBA120356210

ROCKER ARM

Exhaust

3шт.

20

SBA199486220

ADJUSTMENT SCREW

6шт.

21

SBA020109076

NUT

6шт.

22

SBA120346171

BRACKET

3шт.

23

SBA120316300

SHAFT

1шт.

24

SBA198216780

SPRING

2шт.

25

SBA199486320

SCREW

2шт.

26

9511931

ROLL PIN

M3 x 26

1шт.

27

SBA185246060

SENDER UNIT

Engine Oil Pressure

1шт.

28

SBA198486780

BANJO BOLT

2шт.

29

9804277

FLANGE NUT,Hex, M8 x 1.25, Cl 8

3шт.

30

SBA111996420

GASKET

Head Cover

1шт.

31

SBA052109101

SEAL

1шт.

32

SBA111217760

COVER

ASSY. Head, Includes: Refs. 30, 33, 34, 35

1шт.

33

SBA110666220

DRAIN PLUG

STOPPER Oil

1шт.

34

SBA110666060

FILTER SCREEN

Engine Breather

1шт.

35

SBA015600406

SCREW

Cap, HH, CL 8.8, M6 x 1 x 10

2шт.

36

SBA140996260

SEAL

7шт.

37

SBA024600008

NUT

3шт.

38

SBA198436010

FILLER CAP

1шт.

39

SBA052100400

O-RING,3.5mm Thk x 39.7mm ID, 70 Duro

1шт.

40

SBA385720011

SENSOR

1шт.

41

SBA068122560

TUBE

1шт.

42

SBA140607400

TUBE

PIPE OIL

1шт.

43

SBA135996541

GASKET

1шт.

44

SBA011510816

BOLT

M8 x 16

2шт.

45

SBA195816200

HANGER

2шт.

46

SBA012110625

STUD,M6 x 25

2шт.

47

SBA110986500

RIGID TUBE

1шт.

48

SBA120216040

CAP

6шт.

49

SBA110136300

VALVE SEAT

3шт.

50

SBA199236680

SEALING RING COLLAR

1шт.

51

SBA011510830

BOLT

1шт.

52

44334

SCREW,Cross Pan Hd, M4 x 12

1шт.

53

SBA011310625

CAPTIVE WASHER SCREW,Hex, M6 x 25, Cl 8.8

2шт.

54

9804277

FLANGE NUT,Hex, M8 x 1.25, Cl 8

3шт.

55

SBA185246060

SENDER UNIT

1шт.

56

SBA110566080

BREATHER

Cover

1шт.

57

SBA011100408

BOLT

4шт.

58

SBA011310680

BOLT

3шт.

59

SBA011310625

CAPTIVE WASHER SCREW,Hex, M6 x 25, Cl 8.8

2шт.

60

SBA135566560

AIR INTAKE

1шт.

61

SBA135996750

GASKET

Air Intake

1шт.

62

120100

BOLT,M6 x 20mm, Cl 8.8

2шт.

63

SBA120996150

GASKET

Rocker Arm

1шт.

64

SBA195907390

GASKET KIT

DX25E Includes: Parts Listed Below,Replace Countermeasure for excessive white smoke at starting engine.

1шт.

USED BEFORE PIN HDG210461

1шт.

Used to Replace the Installed Head Gasket with the new one which is thinner to be able to adjust the compression ratio properly.

1шт.

SBA111147565

CYLINDER HEAD GASKET

Gasket, Head 1.1

1шт.

SBA131437595

SHIM

Shim, Adjusting 0.1

1шт.

SBA131426300

SHIM KIT

Shim

1шт.

SBA131426230

SEAL

Nozzle

3шт.

SBA140996280

GASKET

5шт.

Выбрано товаров: 78