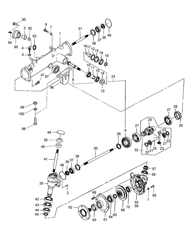
Запчасти Case IH DX18E (04.02) - FRONT AXLE W/ POWER STEERING (04) - FRONT AXLE & STEERING

Схема запчастей Case IH DX18E - (04.02) - FRONT AXLE W/ POWER STEERING (04) - FRONT AXLE & STEERING
55
5
31
46
90
23
20
35
40
100
41
29
33
6
61
38
28
66
17
9
7
15
3
93
36
94
57
37
21
7
10
62
14
63
10
59
48
46
92
12
30
27
58
36
68
27
64
96
39
95
22
21
48
19
16
18
7
37
38
4
98
11
45
8
25
56
43
22
65
42
1
23
32
2
26
13
99
10
44
FIT
1:1
100%

Артикул

Название

Примечание

Количество

1

SBA326345320

CASE

Wheel Shaft

1шт.

1

SBA326345321

CASE

Wheel Shaft

1шт.

USED ON & ABOVE PIN HDG110105 DX18E, HDG710089 DX22E & HDG210459 DX25E

1шт.

2

SBA030500825

PIN

2шт.

3

SBA398510080

DRIVE BUSHING

2шт.

4

SBA398400440

DIPSTICK

1шт.

5

SBA025100020

SEALING WASHER,16.4mm ID x 27mm OD x 2mm Thk

1шт.

6

SBA010411212

DRAIN PLUG,M12 x 1.25

3шт.

7

SBA025100012

WASHER,12.4mm ID x 19mm OD x 2mm Thk

3шт.

8

NSS

NOT SOLD SEPARAT

DRIVE Pinion

1шт.

9

NSS

NOT SOLD SEPARAT

RING Gear

1шт.

10

210041

BALL BEARING,25mm ID x 52mm OD x 15mm W

4шт.

11

SBA399231190

COLLAR

1шт.

12

SBA399211670

SPACER

1шт.

13

SBA199280560

SHIM,0.1mm Thk

1шт.

14

SBA199280580

SHIM

0.2T

1шт.

15

33915

SNAP RING,2.062", Int, #206

1шт.

16

SBA052100210

O-RING

1шт.

17

SBA399232470

COLLAR

1шт.

18

370002

CIRCLIP,M25, External

1шт.

19

SBA050202332

SEAL

1шт.

20

SBA326111100

COVER

Housing, Differential

1шт.

21

SBA326140410

GEAR

Differential

2шт.

22

SBA399260890

THRUST WASHER

2шт.

23

SBA326160180

DRIVE PINION

Differential

2шт.

24

SBA326130670

SHAFT

Pinion

1шт.

25

SBA030300436

COILED PIN

Spring

1шт.

26

SBA036300045

SNAP RING

1шт.

27

37198

BALL BEARING,1.7717" ID x 3.3465" OD x 0.7487"

2шт.

28

SBA199280780

SHIM,0.2mm Thk

1шт.

29

SBA199280790

SHIM,0.1mm Thk

1шт.

30

SBA326211700

SHAFT

Differential, LH

1шт.

31

SBA326211710

SHAFT

Differential, RH

1шт.

32

SBA326010420

DIFF. LOCK ASSY

1шт.

33

SBA322051370

DRIVE PINION

1шт.

35

SBA322118610

CASE

Misson

2шт.

36

SBA326240700

GEAR

Pinion, Final

2шт.

37

SBA040106207

RING

2шт.

38

370018

SNAP RING,M72, Internal

2шт.

39

SBA326240710

GEAR

Pinion, Final

2шт.

40

279592

BALL BEARING,20mm ID x 47mm OD x 14mm W

2шт.

41

SBA322514220

DRIVEN SHAFT

2шт.

42

SBA399030090

SEAL KIT

2шт.

43

86516079

BALL BEARING,50mm ID x 80mm OD x 16mm W

2шт.

44

28042470

BALL BEARING,35mm ID x 62mm OD x 14mm W

2шт.

45

SBA036100035

SNAP RING

2шт.

46

SBA052300800

O-RING

2шт.

47

SBA011511035

BOLT,M10 x 35

6шт.

48

SBA398460730

PLUG

2шт.

55

SBA322118422

CASE

LH

1шт.

56

SBA322118442

CASE

RH

1шт.

57

SBA326240720

GEAR

Pinion, Final

2шт.

58

28042460

BALL BEARING,30mm ID x 55mm OD x 13mm W

2шт.

59

SBA010411212

DRAIN PLUG,M12 x 1.25

2шт.

61

SBA322213790

COVER

2шт.

62

SBA326312400

WHEEL SHAFT

2шт.

63

SBA050609043

SEAL

2шт.

64

210064

BALL BEARING,30mm ID x 62mm OD x 16mm W

2шт.

65

370003

SNAP RING,M30, External

2шт.

66

SBA326370860

GEAR

Final

2шт.

68

SBA011510820

CAPTIVE WASHER SCREW,Hex, M8 x 20, G5

12шт.

90

SBA330520210

COVER

Pinion Shaft

1шт.

92

SBA399260420

THRUST WASHER

1шт.

93

SBA050301130

SEAL

1шт.

94

80717

LUBE NIPPLE,45 Degree, 1/8" NPT x 7/8" lg

1шт.

95

SBA011511235

BOLT,M12 x 35

M10 x 25

2шт.

96

SBA322263150

HOLDER

Bearing

1шт.

97

SBA040116207

BEARING ASSY,35mm ID x 72mm OD x 17mm W

1шт.

98

86629541

BOLT,Hex, M12 x 1.75 x 40mm, Cl 8.8

2шт.

99

SBA020910012

NUT,M12, Cl 8.8

2шт.

100

412123

LOCK WASHER,13.1mm ID x 21.1mm OD x 2.55mm Thk

2шт.

Выбрано товаров: 71