Запчасти Case IH DX18E (06.01) - WIRING HARNESS (06) - ELECTRICAL SYSTEMS

Схема запчастей Case IH DX18E - (06.01) - WIRING HARNESS (06) - ELECTRICAL SYSTEMS
54
60
39
15
5
22
58
14
12
36
18
11
37
59
32
9
17
22
46
22
14
38
15
57
41
27
35
47
30
56
31
68
33
41
23
44
12
23
45
31
42
33
41
32
3
48
50
1
16
43
19
24
7
21
10
25
28
6
12
2
13
20
29
12
4
21
21
17
49
13
26
34
14
40
8
55
30
FIT
1:1
100%

Артикул

Название

Примечание

Количество

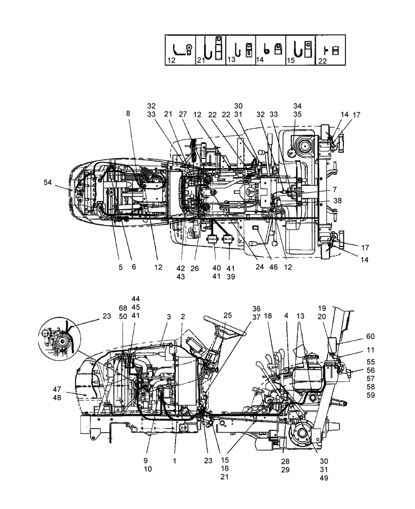
1

SBA385612502

WIRE HARNESS

Main

1шт.

1

SBA385612503

HARNESS

Main

1шт.

USED ON & ABOVE PIN Z6NWC1021 DX18E, Z6NWD1020 DX22E, Z6NWE1153 DX25E

1шт.

2

SBA385612040

WIRE HARNESS

Instrument Panel

1шт.

3

SBA385612060

WIRE HARNESS

Headlight

1шт.

4

SBA385612510

WIRE HARNESS

Auxiliary Power Socket & Seat Switch

1шт.

5

SBA385650820

POS BATTERY CABLE

Battery, Positive

1шт.

6

SBA385650680

CABLE

Battery, Negative

1шт.

7

SBA385612360

WIRE HARNESS

10 AMP Fuse

1шт.

8

SBA010800816

BOLT

1шт.

9

SBA398119870

RUBBER PAD

1шт.

10

9804277

FLANGE NUT,Hex, M8 x 1.25, Cl 8

1шт.

11

SBA385611860

WIRE HARNESS

Rear, Hazard Lights

2шт.

12

SBA399113200

CLAMP

3шт.

13

SBA399113340

WIRE CLAMP

2шт.

14

SBA399112140

CLAMP

2шт.

15

SBA010800816

BOLT

2шт.

16

9804277

FLANGE NUT,Hex, M8 x 1.25, Cl 8

1шт.

17

SBA398110240

GROMMET

2шт.

18

SBA398110100

GROMMET

1шт.

19

SBA399110300

CLAMP

2шт.

20

9706685

NUT,M12 x 1.75, Cl 8

2шт.

21

SBA399110340

CLAMP

3шт.

22

SBA399112851

CLAMP

2шт.

23

SBA398750220

CABLE TIE

CABLE STRAP

2шт.

24

529070

CABLE TIE,368.3mm L

CABLE STRAP

1шт.

25

SBA385202591

SWITCH

Ignition Includes: Ref. 25A-25c

1шт.

25a

SBA385240290

RING NUT

Nut, Ring

1шт.

Not Illustrated

1шт.

25b

SBA385240300

WASHER

Washer

1шт.

Not Illustrated

1шт.

25c

SBA385210360

IGNITION KEY

2шт.

Not Illustrated

1шт.

26

SBA385202571

SWITCH ASSY

1шт.

27

SBA385202561

SWITCH ASSY

Combination Switch for Head Lamps, Front Work Lamps & Tail LIghts

1шт.

28

SBA385200730

SWITCH

1шт.

29

SBA025100014

SEALING WASHER,14.4mm ID x 21mm OD x 2mm Thk

1шт.

30

SBA385200891

SWITCH

2шт.

31

SBA385240038

NUT

M20 x 1.5

2шт.

32

SBA485220181

SWITCH

Seat Safety

2шт.

33

SBA398211880

SPRING

2шт.

34

SBA385280230

GAUGE

Fuel

1шт.

35

SBA015140512

SCREW

M15 x 12

5шт.

36

SBA360800040

FUEL PUMP

1шт.

37

SBA010800612

BOLT

M6 x 12

2шт.

38

SBA385750390

POWER SOCKET

1шт.

39

SBA385871190

CONTROL BLOCK

OHIO

1шт.

40

SBA385871290

CONTROL UNIT

Safety

1шт.

40

SBA385871291

CONTROL UNIT

Safety

1шт.

USED ON & ABOVE PIN Z7NWC1001-DX18E, Z7NWD1001-DX22E, Z7NWE1001-DX25E

1шт.

41

9804276

FLANGE NUT,Hex, M6 x 1, Cl 8

5шт.

42

SBA385250190

HORN

1шт.

43

SBA010800816

BOLT

1шт.

44

SBA385230300

RELAY

1A

1шт.

45

SBA010800612

BOLT

M6 x 12

2шт.

45

SBA010800616

BOLT

M6 x 16

1шт.

USED ON & ABOVE PIN # HDG110114-DX18E, HDG710101-DX22E,HDG210548-DX25E

1шт.

46

SBA385830090

CAP

1шт.

46

86539709

PLUG

1шт.

USED ON & ABOVE PIN HDG110057 DX18E, HDG710035 DX22E & HDG210200 DX25E

1шт.

47

SBA385250190

HORN

.

1шт.

48

SBA010800612

BOLT

M6 x 12

2шт.

49

SBA385972760

PLATE

Switch

1шт.

50

SBA385953411

BRACKET

Relay

1шт.

54

86522921

HEADLAMP

1шт.

55

SBA385102150

TAIL LAMP

2шт.

56

SBA385170030

HOUSING

2шт.

57

SBA015600408

SCREW

2шт.

58

9824840

WASHER,4.3mm ID x 9mm OD x 0.8mm Thk

2шт.

59

100012

NUT,M4 x 0.7, Cl 8

2шт.

60

SBA385100961

LAMP

Hazard, Includes: (2) SBA385110430 Lens, (1) 529068 Bulb & (1) SBA020610012 Nut

2шт.

61

SBA385210360

IGNITION KEY

2шт.

Not Illustrated

1шт.

62

SBA385410230

FUSE

Slope, Fuse, 40 AMP, Located near Starter

1шт.

Not Illustrated

1шт.

63

9623775

FUSE,5 Amp

1шт.

Not Illustrated

1шт.

64

9623774

FUSE,15 Amp

1шт.

Not Illustrated

1шт.

65

9804895

FUSE,20A, Micro, Yellow

1шт.

Not Illustrated

1шт.

66

SBA385410210

FUSE

25 AMP

1шт.

Not Illustrated

1шт.

67

SBA385620220

DIODE

Connector

1шт.

Not Illustrated

1шт.

68

SBA385230320

FLASHER UNIT

1шт.

Выбрано товаров: 86