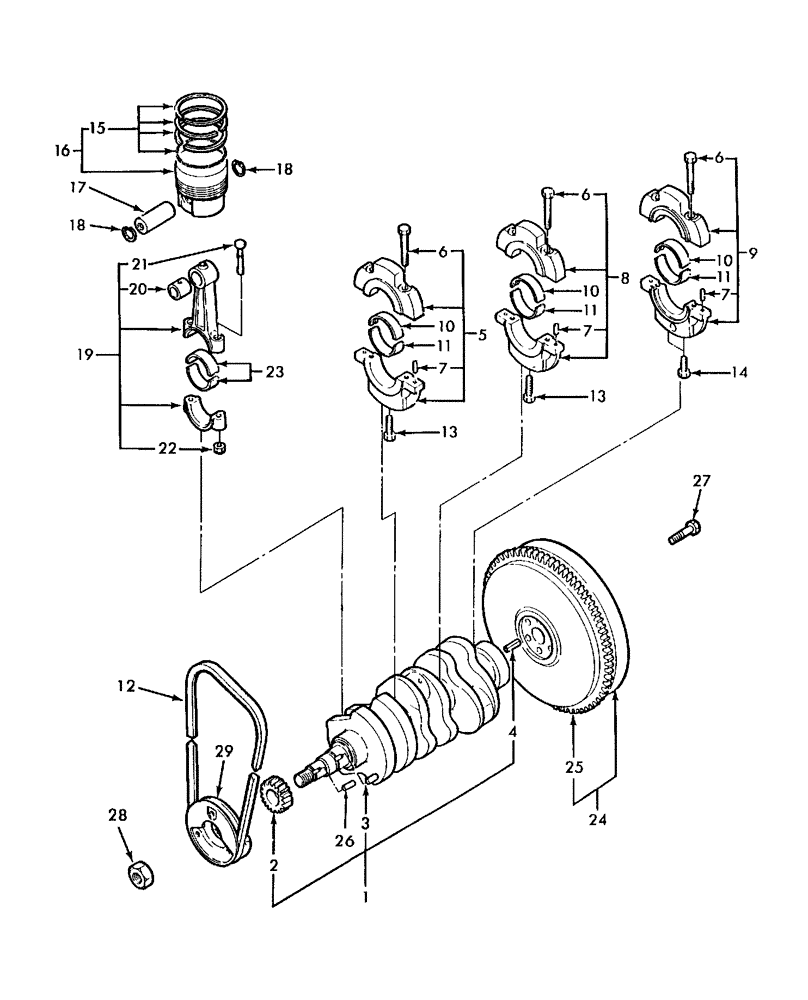
Запчасти Case IH DX21 (01.07) - CRANKSHAFT & PISTON (01) - ENGINE

Схема запчастей Case IH DX21 - (01.07) - CRANKSHAFT & PISTON (01) - ENGINE
19
25
11
13
10
14
29
22
15
26
18
10
2
7
13
28
12
21
4
3
24
18
17
6
23
16
9
20
10
1
6
7
8
6
27
11
11
5
7
FIT
1:1
100%

Артикул

Название

Примечание

Количество

1

SBA115256600

CRANKSHAFT

Tapered, W/Keyway Includes: Ref. 2 thru 4 & 26

1шт.

2

SBA115276180

GEAR

1шт.

3

SBA030509020

PIN

Dowel

1шт.

4

SBA030300816

PIN

Spring

1шт.

5

SBA110156111

HOLDER

Bearing Includes: Ref. 6 & 7

1шт.

6

86511842

BOLT,M8 x 1.25 x 48.1mm OAL, Cl 8.8

6шт.

7

SBA030500612

DOWEL

6шт.

8

SBA110156121

HOLDER

Bearing Includes: Ref. 6 & 7

1шт.

9

SBA110156330

HOLDER

Bearing Includes: Ref. 6 & 7

1шт.

10

SBA198517101

LINER

Standard

3шт.

11

SBA198517110

LINER

Standard

3шт.

12

SBA080109049

BELT

V

1шт.

13

SBA011510850

BOLT,M8 x 50mm

2шт.

14

SBA010700845

BOLT

M8 x 45

2шт.

15

SBA115107240

PISTON RINGS KIT

Standard

3шт.

16

SBA115016990

PISTON & RINGS KIT

Standard Includes: Ref. 15

3шт.

17

SBA115326231

PISTON PIN

3шт.

18

SBA036500021

SNAP RING

6шт.

19

SBA115026191

CONNECTING ROD

Includes: Ref. 20 thru 22

3шт.

20

SBA198517120

BUSHING

3шт.

21

SBA115176150

BOLT

Connecting Rod

6шт.

22

SBA020109075

NUT

6шт.

23

SBA198517130

LINER

Standard

6шт.

24

SBA115356990

ENGINE FLYWHEEL

Includes: Ref. 25

1шт.

25

SBA115376130

RING GEAR

1шт.

26

SBA034100508

KEY

1шт.

27

SBA010109340

BOLT

1шт.

28

SBA020800018

NUT

1шт.

29

SBA115397910

PULLEY

1шт.

Выбрано товаров: 29