Запчасти Case IH DX21 (03.01) - CLUTCH & CLUTCH CASE W/9 X 3 (03) - TRANSMISSION

Схема запчастей Case IH DX21 - (03.01) - CLUTCH & CLUTCH CASE W/9 X 3 (03) - TRANSMISSION
16
11
12
31
32
35
20
13
21
38
22
14
15
3
26
19
39
33
36
28
8
3
2
7
18
5
1
37
31
10
24
30
27
40
23
9
29
15
41
41
4
4
6
34
17
17a
25
FIT
1:1
100%

Артикул

Название

Примечание

Количество

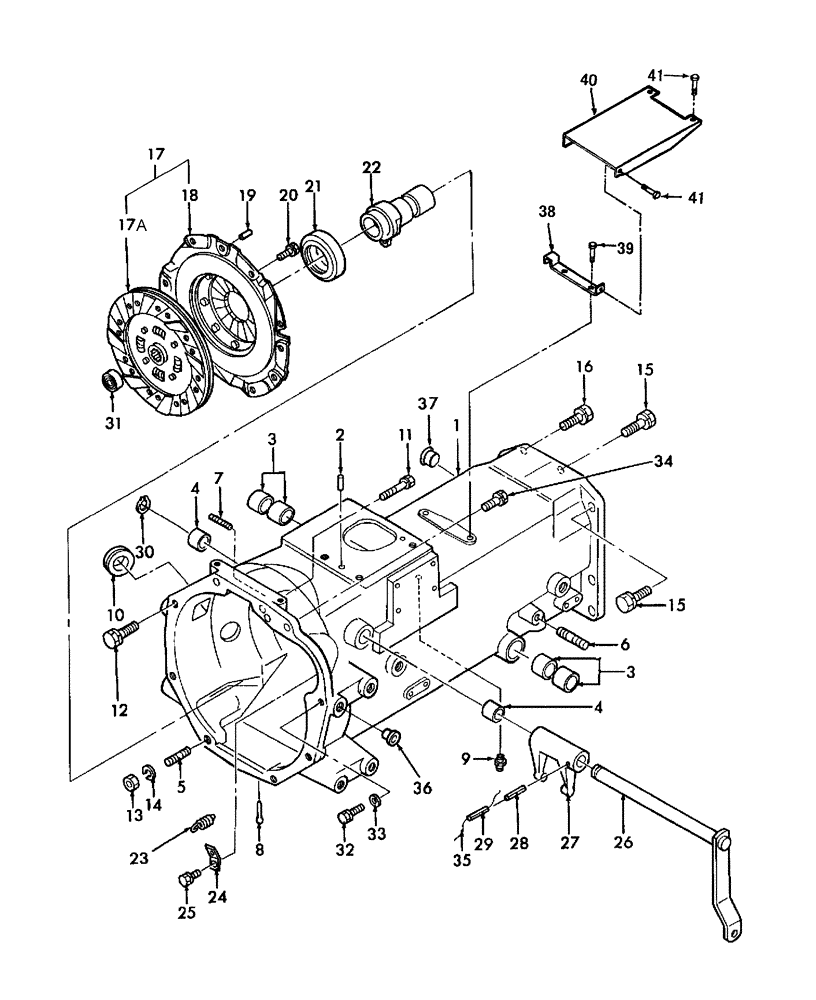
1

SBA320011631

CASE

Includes: Ref. 2 thru 7

1шт.

2

SBA030500820

PIN

Dowel

2шт.

3

SBA398510070

BUSHING

4шт.

4

SBA398510010

DRIVE BUSHING

2шт.

5

SBA012111020

BOLT

Stud

2шт.

6

SBA012111235

STUD

Bolt

1шт.

7

SBA012110635

STUD

1шт.

8

SBA030104020

PIN

Split

1шт.

9

SBA060610000

LUBE NIPPLE,M6 x .075

1шт.

10

SBA398110760

COVER

Rubber, 33 mm

1шт.

11

SBA011510850

BOLT,M8 x 50mm

2шт.

12

SBA011511025

CAPTIVE WASHER SCREW,Hex, M10 x 25, G5

3шт.

13

SBA021000010

NUT

2шт.

14

892-11010

LOCK WASHER,M10

2шт.

15

SBA011511240

BOLT,M12 x 40

8шт.

16

SBA011511035

BOLT,M10 x 35

1шт.

17

SBA320040312

CLUTCH

Includes: Ref. 17A & 18

1шт.

17

SBA320040312R

REMAN-CLUTCH ASSY

DX21

1шт.

17

SBA320040312C

CORE-CLUTCH ASSEMBLY

Core-Clutch Assy, Return Number

1шт.

17a

SBA320400243

CLUTCH DISC

CLUTCH DISK Clutch

1шт.

17a

SBA320400243R

REMAN-CLUTCH PLATE

DX21

1шт.

17a

SBA320400243C

CORE-CLUTCH PLATE

Return Number

1шт.

18

SBA320450160

PLATE

Pressure

1шт.

18

SBA320450160R

REMAN-CLUTCH PLATE

DX21

1шт.

18

SBA320450160C

CORE-CLUTCH PLATE

Return Number

1шт.

19

SBA030500820

PIN

Dowel

3шт.

20

SBA011510816

BOLT

M8 x 16

6шт.

21

SBA398560110

BEARING ASSY

Release

1шт.

22

SBA320310280

HUB

Release

1шт.

23

SBA398210070

SPRING

1шт.

24

SBA320160120

HOOK

Hanger, Spring

1шт.

25

SBA011510816

BOLT

M8 x 16

1шт.

26

SBA320201070

CLUTCH INPUT SHAFT

1шт.

27

SBA320260131

FORK

Clutch

1шт.

28

SBA030300632

SLOTTED PIN,M6 x 32

2шт.

29

SBA030303532

PIN

Spring

2шт.

30

84021874

SNAP RING,M18, Ext

1шт.

31

SBA040116001

BALL BEARING

1шт.

32

SBA011510840

BOLT,M6 x 40mm

1шт.

33

86511315

WASHER,8.4mm ID x 16mm OD x 1.8mm Thk

1шт.

34

SBA011611035

BOLT

M10 x 35

1шт.

35

NS

NOT SERVICED

WIRE

1шт.

36

SBA398460050

PLUG

Blank

12шт.

37

SBA398460170

PLUG

Blank

1шт.

38

SBA350851670

BRACKET

1шт.

39

SBA011510816

BOLT

M8 x 16

2шт.

40

SBA350765420

COVER

1шт.

41

SBA010800816

BOLT

M8 x 16

4шт.

Выбрано товаров: 48