Запчасти Case IH DX21 (06.06) - WORKLIGHT KIT - ROPS MOUNTED (06) - ELECTRICAL SYSTEMS

Схема запчастей Case IH DX21 - (06.06) - WORKLIGHT KIT - ROPS MOUNTED (06) - ELECTRICAL SYSTEMS
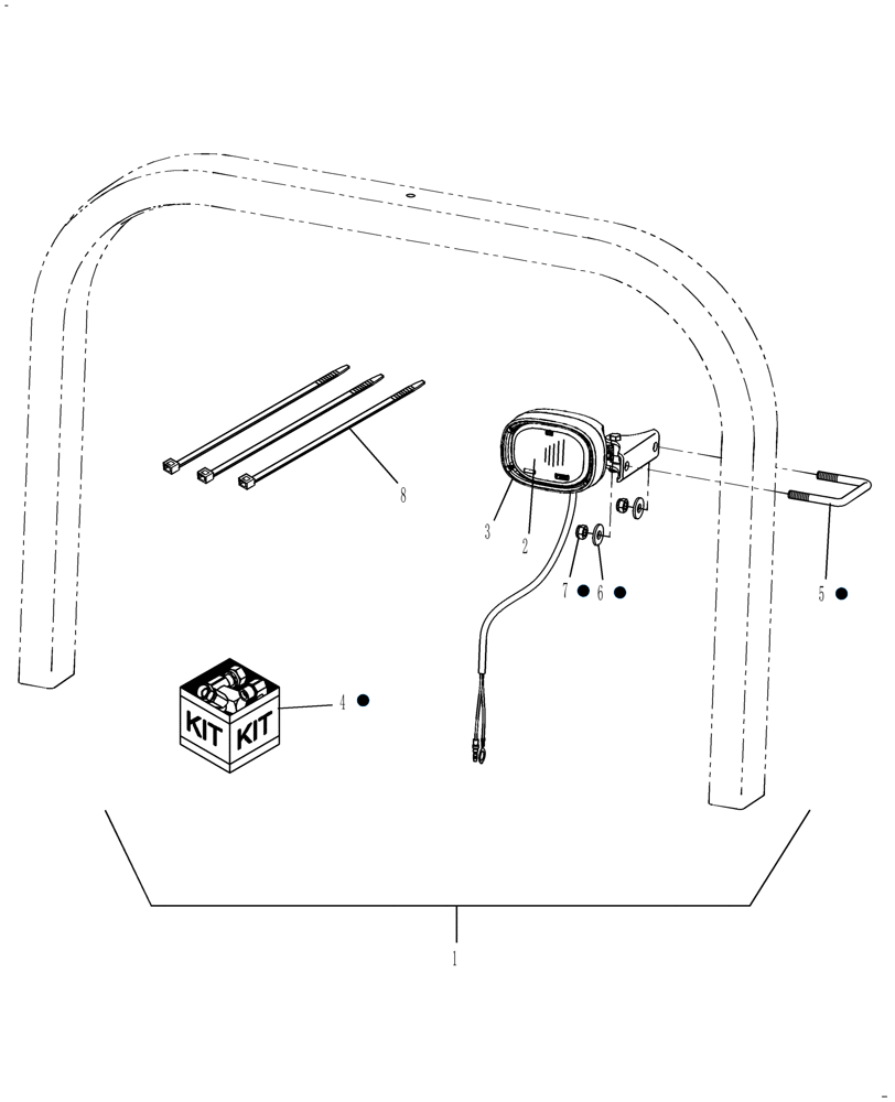
7
6
2
5
8
3
1
4
FIT
1:1
100%

Артикул

Название

Примечание

Количество

1

87702597

DIA KIT, ADD PROD

Worklight Includes: Ref. 2-8

1шт.

2

87702593

LENS

Sealed Beam & Gasket

1шт.

3

87470106

LAMP

Worklight & Harness

1шт.

4

87702590

DIA KIT, ADD PROD

Bracket Kit Includes: Ref. 5-7

1шт.

5

NSS

NOT SOLD SEPARAT

U-Bolt

1шт.

6

PL

PROCURE LOCALLY

M10 Flat Washer

2шт.

7

PL

PROCURE LOCALLY

M10 Lock Nut

2шт.

8

PL

PROCURE LOCALLY

Tie Wrap

3шт.

Выбрано товаров: 8