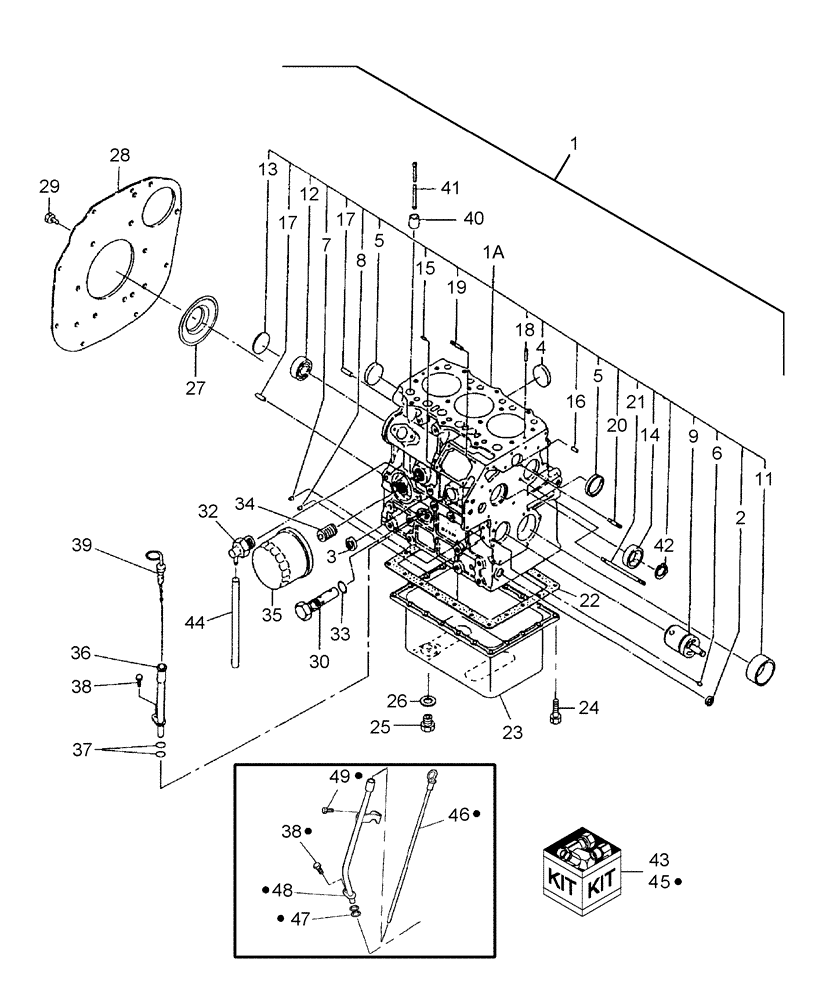
Запчасти Case IH DX23 (01.02) - CYLINDER BLOCK (01) - ENGINE

Схема запчастей Case IH DX23 - (01.02) - CYLINDER BLOCK (01) - ENGINE
8
23
20
4
36
17
3
33
19
27
26
6
18
2
5
46
9
38
44
22
40
30
29
1
49
7
37
45
13
42
11
16
21
14
24
43
15
5
12
25
39
17
1a
28
34
48
41
38
47
35
FIT
1:1
100%

Артикул

Название

Примечание

Количество

1

SBA138650

ENGINE

DX23

1шт.

1

SBA138651

ENGINE

DX26

1шт.

SBA138651ER

REMAN-REPLACEMENT EN

DX26, 3 Cyl., Tier 2 Replacement Engine (1/05)

1шт.

SBA133764EPAC

CORE-EPA ENGINE

Return Number

1шт.

2

SBA064210015

CAP

Sealing

1шт.

3

SBA064210025

PLUG,25mm

1шт.

4

SBA064210035

SEALING ELEMENT

Sealing

2шт.

5

SBA064210040

CAP

Sealing

2шт.

6

SBA198466050

PLUG

Blank

1шт.

7

SBA198466010

PLUG

Blank 8.4mm

4шт.

8

SBA198466030

PLUG

Blank 6.5 x 7mm

4шт.

9

SBA165296142

GEAR

1шт.

11

SBA198517081

GUIDE BUSHING

Standard, DX23

1шт.

11

SBA198517084

BUSHING

U.S. 0.25 DX23

1шт.

Not Included in Long Block

1шт.

11

SBA198517087

BEARING

U.S. 0.5 DX23

1шт.

Not Included in Long Block

1шт.

11

SBA198517591

BUSHING

Standard, DX26

1шт.

11

SBA198517595

GUIDE BUSHING

U.S. 0.25 DX26

1шт.

Not Included in Long Block

1шт.

11

SBA198517598

GUIDE BUSHING

U.S. 0.5 DX26

1шт.

Not Included in Long Block

1шт.

12

SBA040106203

BALL BEARING,17mm ID x 40mm OD x 12mm W

1шт.

13

SBA064100045

PLUG

Expansion

1шт.

14

SBA042303015

NEEDLE BEARING

1шт.

15

SBA030500512

PIN

Dowel

2шт.

16

SBA030500616

DOWEL,M6 x 16

2шт.

17

SBA030501025

BALL STUD,M10 x 25 L

BALL PIN

2шт.

18

SBA030309005

PIN

Spring

2шт.

19

SBA012110620

STUD

2шт.

20

SBA012110635

STUD

1шт.

21

SBA012110660

STUD

1шт.

22

SBA110996800

GASKET

1шт.

23

SBA110708340

ENGINE OIL PAN

1шт.

24

SBA010109235

BOLT

20шт.

25

SBA010411212

DRAIN PLUG,M12 x 1.25

1шт.

26

SBA025100012

WASHER,12.4mm ID x 19mm OD x 2mm Thk

Sealing

2шт.

27

SBA198636080

OIL SEAL

62mm ID x 124mm OD x 14mm Thk

1шт.

27

SBA050209107

SEAL

Oil, 68mm ID x 134mm OD x 14mm Thk

1шт.

28

SBA110366480

PLATE

Rear, DX23

1шт.

28

SBA110367710

PLATE

Rear, DX26

1шт.

29

SBA011511020

BOLT,M10 x 20

8шт.

30

SBA140036220

VALVE PRESSURE RELIE

1шт.

32

SBA198736270

DRAINCOCK/TAP SUPPLY

1шт.

33

SBA052109078

O-RING,2.4mm Thk x 9.8mm ID

1шт.

34

SBA140546020

ADAPTER

1шт.

35

87409203

ENGINE OIL FILTER

1шт.

36

SBA110756630

GUIDE

Gauge, Used Without Loader

1шт.

37

SBA052100100

O-RING

1шт.

38

SBA011310612

CAPTIVE WASHER SCREW,Hex, M6 x 12, Cl 8.8

2шт.

39

SBA198416590

LEVEL GAUGE

Used Without Loader

1шт.

40

SBA120116100

TAPPET

6шт.

41

SBA120456201

ROD

Push, DX23

6шт.

41

SBA120456222

ROD

Push, DX26

6шт.

42

SBA036509005

SNAP RING

1шт.

43

86590273

HEATER

Kit, Engine Heater Coolant Includes: Heater Assy., NSS & Cord Assy., 86539137

1шт.

44

SBA068118250

PLASTIC-RUBBER TUBE

Vinyl

1шт.

45

87024506

KIT

Oil Level Dipstick, With Loader Includes: Ref. 45 thru 48

1шт.

46

87025356

GAUGE

Dipstick

1шт.

47

SBA052100100

O-RING

2шт.

48

SBA110756201

GUIDE

Dipstick

1шт.

49

SBA011510812

CAPTIVE WASHER SCREW,Hex, M8 x 12, G5

1шт.

Выбрано товаров: 62