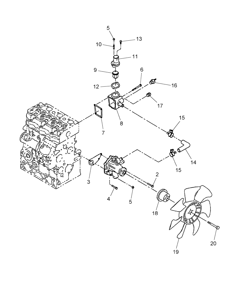
Запчасти Case IH DX23 (01.11) - WATER PUMP & FAN (01) - ENGINE

Схема запчастей Case IH DX23 - (01.11) - WATER PUMP & FAN (01) - ENGINE
10
15
18
4
19
16
14
11
17
3
15
20
5
5
2
8
7
6
9
13
12
FIT
1:1
100%

Артикул

Название

Примечание

Количество

1

SBA145017920

WATER PUMP

1шт.

2

SBA011310635

CAPTIVE WASHER SCREW,Hex, M6 x 35, Cl 8.8

2шт.

3

SBA145996830

GASKET

1шт.

4

SBA011310645

CAPTIVE WASHER SCREW,Hex, M6 x 45, Cl 8.8

2шт.

5

9804276

FLANGE NUT,Hex, M6 x 1, Cl 8

2/1шт.

6

SBA011310660

BOLT

M6 x 60

4шт.

7

SBA145996840

GASKET

1шт.

8

SBA145216750

PLATE

Thermostat Case, Requires (1) Ref. 4, (1) Ref. 13 & (1) Ref. 14

1шт.

8

SBA145216880

HOUSING

Thermostat Case, Requires (2) Ref. 14

1шт.

9

SBA145206062

THERMOSTAT

1шт.

10

SBA012110620

STUD

Stud, Used with Ref. 8 SBA145216750

1шт.

11

SBA145226510

COVER

1шт.

12

SBA145996850

GASKET

1шт.

13

120100

BOLT,M6 x 20mm, Cl 8.8

Used with Ref. 8 SBA145216750

1шт.

13

120100

BOLT,M6 x 20mm, Cl 8.8

Used with Ref. 8 SBA145216880

2шт.

14

SBA145536051

HOSE

1шт.

15

SBA067100022

HOSE CLAMP

2шт.

16

SBA385720070

SENSOR

Thermostat

1шт.

17

SBA064500030

PLUG,3/8"

1шт.

18

SBA145336490

PULLEY

Fan

1шт.

19

SBA145306811

FAN

Cooling

1шт.

20

SBA011310616

BOLT,M6 x 1 x 16, Cl 8.8

1шт.

Выбрано товаров: 22