Запчасти Case IH DX23 (03.10) - MID PTO GEARS, W/HST (03) - TRANSMISSION

Схема запчастей Case IH DX23 - (03.10) - MID PTO GEARS, W/HST (03) - TRANSMISSION
12
3
4
11
26
20
28
13a
18
31
23
9
14
27
23
29
24
21
13b
13
1
2
15
14
8
16
30
22
19
6
7
17
25
5
10
FIT
1:1
100%

Артикул

Название

Примечание

Количество

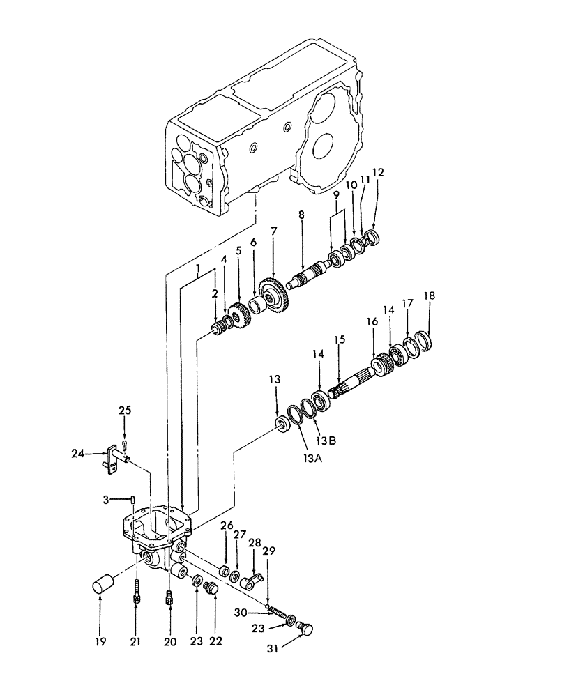
1

SBA322017600

CASING

1шт.

2

SBA042309016

NEEDLE BEARING

1шт.

3

SBA030500820

PIN

Dowel

2шт.

4

SBA036100028

SNAP RING

1шт.

5

SBA322326020

GEAR

Fixing, A

1шт.

6

SBA399233700

SPACER

1шт.

7

SBA322326010

GEAR

1шт.

8

SBA322570671

COUNTERSHAFT

1шт.

9

SBA040106004

BALL BEARING

2шт.

10

300645

SNAP RING,M42, Int

1шт.

11

370024

CIRCLIP,M20, Ext

1шт.

12

SBA322140650

COVER

Seal

1шт.

13

SBA050203125

SEAL

Oil

1шт.

13a

SBA199280580

SHIM

0.2T

1шт.

13b

SBA199280590

SHIM,0.5mm Thk

1шт.

14

210041

BALL BEARING,25mm ID x 52mm OD x 15mm W

2шт.

15

SBA322590520

SHAFT

1шт.

16

SBA322341370

GEAR

Slide, A

1шт.

17

33915

SNAP RING,2.062", Int, #206

1шт.

18

SBA322140640

PLUG

Cover, Seal ID= 1.766" x OD=2.06" x 0.398" thick

1шт.

19

SBA398115500

CAP COVER

1шт.

20

SBA011510825

CAPTIVE WASHER SCREW,Hex, M8 x 25, G5

7шт.

21

SBA011510855

BOLT

2шт.

22

SBA064600016

PLUG

M16

1шт.

23

SBA025100016

WASHER,16.4mm ID x 27mm OD x 2mm Thk

Sealing

2шт.

24

SBA324200910

ARM

Shift

1шт.

25

300868

ROLL PIN,6mm OD x 36mm L, Slotted

Spring

1шт.

26

SBA050203115

SEAL,28mm ID x 40mm OD x 8mm Thk

1шт.

27

SBA399211330

SPACER

1шт.

28

SBA324102770

LEVER

Change

1шт.

29

SBA048100010

BALL

Steel

1шт.

30

SBA398210280

SPRING

1шт.

31

SBA399430750

BOLT

1шт.

Выбрано товаров: 33