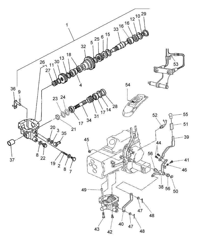
Запчасти Case IH DX23 (03.11) - MID PTO KIT - W/9 X 3 - 718801076 (03) - TRANSMISSION

Схема запчастей Case IH DX23 - (03.11) - MID PTO KIT - W/9 X 3 - 718801076 (03) - TRANSMISSION
37
54
10
17
32
5
48
56
1
35
49
29
47
21
3
43
16
25
24
8
46
2
38
56
16
55
8
22
14
39
15
18
51
27
36
53
48
47
44
4
31
28
34
30
42
7
17
50
52
41
13
23
19
6
40
9
33
45
11
12
26
20
FIT
1:1
100%

Артикул

Название

Примечание

Количество

1

718801066

DIA KIT, TRACTOR

KIT, Mid PTO, Includes: Ref. 2 thru 21

1шт.

Order thru Wholegoods

1шт.

2

SBA398210280

SPRING

1шт.

3

SBA399211330

SPACER

1шт.

4

SBA399234230

HOSE CLIP

Collar

1шт.

5

SBA399261610

THRUST WASHER

1шт.

6

SBA399261620

THRUST WASHER

1шт.

7

SBA399430751

BOLT

1шт.

8

SBA025100016

WASHER,16.4mm ID x 27mm OD x 2mm Thk

Sealing

2шт.

9

SBA030300636

PIN

Spring

1шт.

10

SBA036100020

SNAP RING

1шт.

11

SBA036100028

SNAP RING

1шт.

12

SBA036500042

SNAP RING

1шт.

13

SBA036500047

SNAP RING

1шт.

14

SBA036500052

SNAP RING

1шт.

15

SBA036500060

SNAP RING

1шт.

16

SBA040106004

BALL BEARING

2шт.

17

SBA040106205

RING

2шт.

18

SBA040109040

BALL BEARING,30mm ID x 47mm OD x 9mm W

2шт.

19

SBA048100010

BALL

Steel

1шт.

20

SBA050203115

SEAL,28mm ID x 40mm OD x 8mm Thk

1шт.

21

SBA050203125

SEAL

Oil

1шт.

22

SBA064600016

PLUG

M16

1шт.

23

SBA199280580

SHIM

0.2T

1шт.

24

SBA199280590

SHIM,0.5mm Thk

1шт.

25

SBA320080080

CLUTCH

1шт.

26

SBA322017600

CASING

1шт.

27

SBA042309016

NEEDLE BEARING

1шт.

28

SBA322140640

PLUG

COVER Seal ID= 1.766" x OD=2.06" x 0.398" thick

1шт.

29

SBA322140650

COVER

Seal

1шт.

30

SBA322326020

GEAR

Fixing, A

1шт.

31

SBA322341370

GEAR

Slide, A

1шт.

32

SBA322372170

GEAR

Counter A

1шт.

33

SBA322571040

COUNTERSHAFT

1шт.

34

SBA322590820

PTO SHAFT

PTO Shaft

1шт.

35

SBA324102770

LEVER

Change

1шт.

36

SBA324200910

ARM

Shift

1шт.

37

SBA398115500

CAP COVER

1шт.

38

SBA324107000

LEVER

Change

1шт.

39

SBA324112520

LEVER

Change

1шт.

40

SBA324541220

PLATE

Shift

1шт.

41

SBA010111025

BOLT

M10 x 25

1шт.

42

SBA011510825

CAPTIVE WASHER SCREW,Hex, M8 x 25, G5

7шт.

43

SBA011510855

BOLT

M8 x 55

2шт.

44

SBA011810816

BOLT

M8 x 16

2шт.

45

SBA020210014

NUT

M14

1шт.

46

825-11410

NUT,M10 x 1.25, Cl 8

1шт.

47

SBA026100008

WASHER

M8

2шт.

48

SBA030102516

COTTER PIN

2шт.

49

SBA030500820

PIN

Dowel

2шт.

50

SBA036800012

SNAP RING

1шт.

51

SBA068109085

TUBE

Vinyl

1шт.

52

SBA385201260

SWITCH

1шт.

53

SBA385607930

WIRE HARNESS

1шт.

54

SBA390173891

DECAL

1шт.

55

SBA398182090

GRIP

Rear PTO

1шт.

56

SBA398511320

BUSHING

2шт.

Выбрано товаров: 57