Запчасти Case IH DX23 (03.14) - BRAKE CONTROLS & PEDALS (03) - TRANSMISSION

Схема запчастей Case IH DX23 - (03.14) - BRAKE CONTROLS & PEDALS (03) - TRANSMISSION
21
29
14
20
10
7
55
13
18
66
18
21
6
17
20
68
38
43
12
16
15
59
21
12
42
70
1
24
6
3
18
72
43
54
30
29
19
18
41
22
2
2
59
4
10
16
11
12
18
13
67
20
26
8
39
66
65
16
40
66
53
34
54
21
17
69
36
56
18
20
61
51
25
19
63
33
62
11
2
19
52
60
32
2
11
66
58
37
18
57
28
5
20
5
9
60
64
57
23
27
42
63
20
61
14
35
68
71
31
15
5
6
FIT
1:1
100%

Артикул

Название

Примечание

Количество

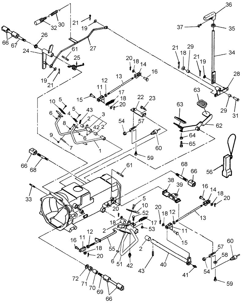
1

SBA358104411

PEDAL

Brake L

1шт.

2

SBA398510070

BUSHING

4шт.

3

SBA358104431

PEDAL

Brake R

1шт.

4

SBA358120840

RUBBER PAD

PEDAL

1шт.

5

SBA015109122

SCREW

3шт.

6

SBA020300006

NUT

M6

3шт.

7

SBA399581300

LEVER

Pedal

1шт.

8

9706690

NUT,M8 x 1.25, Cl 8

2шт.

9

SBA022300008

NUT,M8

2шт.

10

SBA358120830

PLATE

Pedal

2шт.

11

SBA358550181

FORK

2шт.

HST

1шт.

11

SBA358550010

CLEVIS

2шт.

9 x 3

1шт.

12

100016

NUT,M10 x 1.5, Cl 8

2шт.

13

SBA358510720

ROD

2шт.

14

SBA358550020

CLEVIS

Joint, R.H.

2шт.

15

SBA399610240

PIN

2шт.

16

SBA031311020

PIN

2шт.

17

SBA398210290

SPRING

2шт.

18

86511323

WASHER,10.5mm ID x 20mm OD x 2mm Thk

4шт.

19

86511315

WASHER,8.4mm ID x 16mm OD x 1.8mm Thk

3шт.

20

SBA030103225

COTTER PIN,M3 x 25 L

5шт.

21

SBA030103225

COTTER PIN,M3 x 25 L

4шт.

22

SBA358350530

HOLDER

Spring

1шт.

HST

1шт.

22

SBA358380610

HOLDER

Spring

1шт.

9 x 3

1шт.

23

SBA011510816

BOLT

M8 x 16

4шт.

24

SBA358300571

LEVER

Brake Lock

1шт.

25

SBA398213190

SPRING

1шт.

26

300625

SNAP RING,M16, Ext

1шт.

27

SBA358500240

ROD

1шт.

28

SBA358450040

LEVER

1шт.

29

SBA398511640

BUSHING

2шт.

30

SBA398211170

SPRING

1шт.

31

SBA031311030

PIN

1шт.

32

SBA385201280

SWITCH

Switch Assy., Handbrake Indicator

1шт.

33

SBA012110635

STUD

1шт.

34

SBA358500230

ROD

1шт.

35

SBA398110100

GROMMET

1шт.

36

SBA398180981

HANDLE GRIP

1шт.

37

SBA015140616

SCREW

1шт.

38

SBA358350520

HOLDER

Spring, L

1шт.

39

SBA011510816

BOLT

2шт.

40

SBA358200600

SHAFT

Pedal

1шт.

41

SBA060620000

LUBE NIPPLE

1шт.

42

SBA060610000

LUBE NIPPLE,M6 x .075

1шт.

43

300869

LOCK PIN,6mm OD x 40mm L, Slotted

3шт.

51

SBA358104450

PEDAL

1шт.

52

43140

BOLT,Hex, M10 x 1.5 x 30mm, Cl 8.8

1шт.

53

100016

NUT,M10 x 1.5, Cl 8

1шт.

54

SBA020600014

NUT

M14

1шт.

55

SBA358500130

ROD

Clutch

1шт.

56

SBA395700010

SPACER

1шт.

57

SBA385972540

BRACKET

2шт.

HST

1шт.

58

9824259

WASHER,6.4mm ID x 12mm OD x 1.6mm Thk

4шт.

HST

1шт.

59

SBA010800616

BOLT

4шт.

HST

1шт.

60

SBA385201260

SWITCH

2шт.

HST

1шт.

61

SBA012111235

STUD

1шт.

62

SBA358104530

PEDAL

HST

1шт.

HST

1шт.

63

SBA398122031

RUBBER PAD

Pedal

2шт.

HST

1шт.

64

9706690

NUT,M8 x 1.25, Cl 8

1шт.

HST

1шт.

65

SBA398111640

STOP

Rubber

1шт.

HST

1шт.

66

SBA398110820

RUBBER RING

6шт.

67

SBA012109246

STUD

1шт.

68

SBA012111680

BOLT

Stud, M16 x 80

2шт.

69

SBA012109199

BOLT

Stud

1шт.

70

SBA398115450

RUBBER BUSHING

1шт.

71

825-1416

NUT,M16, Cl 8

1шт.

72

86729275

LOCK WASHER,5/8 0.634 CST ZND

1шт.

Выбрано товаров: 79