Запчасти Case IH DX23 (04.04) - POWER STEERING BOX (04) - FRONT AXLE & STEERING

Схема запчастей Case IH DX23 - (04.04) - POWER STEERING BOX (04) - FRONT AXLE & STEERING
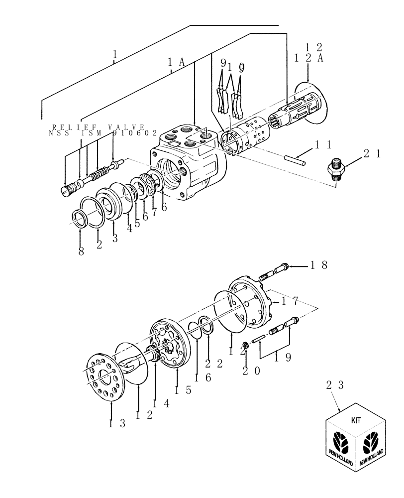
12
4
17
16
14
21
13
9
3
12
22
15
10
20
5
7
1a
11
23
18
relief valve
nss ism 910602
12a
6
6
9
8
12
1
19
2
FIT
1:1
100%

Артикул

Название

Примечание

Количество

1

SBA334011082

STEERING ASSY

Case, Model No. UAS060B08A2D

1шт.

1a

SBA334293131

CONTROL VALVE

Spool Kit

1шт.

2

SBA334292270

RETAINER

1шт.

3

SBA334292271

DRIVE BUSHING

Seal Gland

1шт.

4

272380

O-RING,0.139" Thk x 1.859" ID, -225, Cl 5, 75 Duro

1шт.

5

SBA334292268

SEAL

1шт.

6

SBA334292265

RING RACE

2шт.

7

SBA334292266

BEARING ASSY

1шт.

8

SBA334292269

SEAL

Dust

1шт.

9

SBA334292255

SPRING

Centering

4шт.

10

SBA334292256

SPRING

Flat

2шт.

11

SBA334292257

PIN

1шт.

12

86536463

O-RING

2шт.

12a

SBA334293127

O-RING

1шт.

13

SBA334292252

PLATE

Spacer

1шт.

14

SBA334293080

DRIVE UNIT

1шт.

15

SBA334293079

SHAFT

1шт.

15

SBA334293083

SHAFT

1шт.

16

SBA334293082

O-RING

1шт.

17

SBA334292250

CAP COVER

1шт.

18

SBA334292249

SCREW

6шт.

19

SBA334292330

SCREW

Retainer

1шт.

20

SBA334292331

BALL

1шт.

21

SBA334293134

HYD CONNECTOR

1шт.

23

SBA334293128

SEAL KIT

1шт.

Выбрано товаров: 25