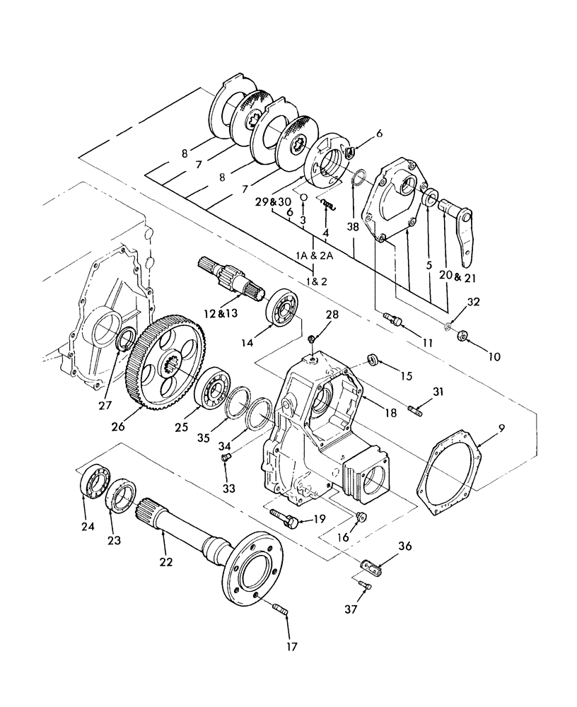
Запчасти Case IH DX23 (05.01) - BRAKE & WHEEL SHAFT CASE (05) - REAR AXLE

Схема запчастей Case IH DX23 - (05.01) - BRAKE & WHEEL SHAFT CASE (05) - REAR AXLE
7
10
25
5
27
2
24
33
1
14
34
1a
23
12
7
28
32
8
13
30
38
21
2a
4
19
18
31
36
35
3
37
8
9
29
26
22
11
17
6
6
15
16
20
FIT
1:1
100%

Артикул

Название

Примечание

Количество

1

SBA328002400

BRAKE

LH

1шт.

1a

SBA328600351

ACTUATOR

LH

1шт.

2

SBA328002410

BRAKE

RH

1шт.

2a

SBA328600361

ACTUATOR

RH

1шт.

3

SBA048109041

BALL

Steel

6шт.

4

SBA398215650

SPRING

4шт.

5

SBA050203125

SEAL

Oil

2шт.

6

370002

CIRCLIP,M25, External

2шт.

7

SBA328110240

BRAKE DISC

4шт.

8

SBA328560420

STATOR

4шт.

9

SBA328990190

GASKET

2шт.

10

SBA021500008

NUT,M8

8шт.

11

SBA011510820

CAPTIVE WASHER SCREW,Hex, M8 x 20, G5

4шт.

12

SBA326211330

SHAFT

Differential, LH

1шт.

13

SBA326211340

SHAFT

Differential, RH

1шт.

14

46805

BALL BEARING,30mm ID x 72mm OD x 19mm W

2шт.

15

SBA322140960

PLUG,M16

3шт.

16

SBA398460040

PLUG

Blank

4шт.

17

SBA012111225

STUD

4шт.

Australia

1шт.

18

SBA326345210

CASE

Wheel Shaft

2шт.

19

SBA011511045

BOLT

12шт.

20

NSS

NOT SOLD SEPARAT

Lever, Brake, L.H.

1шт.

21

NSS

NOT SOLD SEPARAT

Lever, Brake, R.H.

1шт.

22

SBA326301870

WHEEL SHAFT

2шт.

22

SBA326301730

SHAFT

2шт.

Australia

1шт.

23

SBA050609047

OIL SEAL

2шт.

24

86516078

BALL BEARING,40mm ID x 68mm OD x 15mm W

2шт.

25

301164

BALL BEARING,40mm ID x 80mm OD x 18mm Thk

2шт.

26

SBA326370580

GEAR

Final

2шт.

27

370006

SNAP RING,M40, Ext

2шт.

28

SBA064500030

PLUG,3/8"

2шт.

29

NSS

NOT SOLD SEPARAT

Plate, Pressure, L.H.

1шт.

30

NSS

NOT SOLD SEPARAT

Plate, Pressure, R.H.

1шт.

31

SBA012109139

STUD

Stud

8шт.

32

E630153S71

LOCK WASHER,M8

Spring

8шт.

33

SBA322140960

PLUG,M16

Blank

2шт.

34

SBA199280750

SHIM,0.1mm Thk

1шт.

34

SBA199280760

SHIM

.2 or 0.008"

1шт.

35

SBA199280770

SHIM

.5 or 0.020"

1шт.

36

SBA370901100

PIN

2шт.

37

SBA011511230

BOLT,M12 x 30

M10 x 25

4шт.

38

SBA398340591

CLIP

2шт.

Выбрано товаров: 44